电脑桌面
添加小米粒文库到电脑桌面
安装后可以在桌面快捷访问

项目管理流程手册全VIP免费

项目管理流程手册全_第1页
1/39
项目管理流程手册全_第2页
2/39
项目管理流程手册全_第3页
3/39
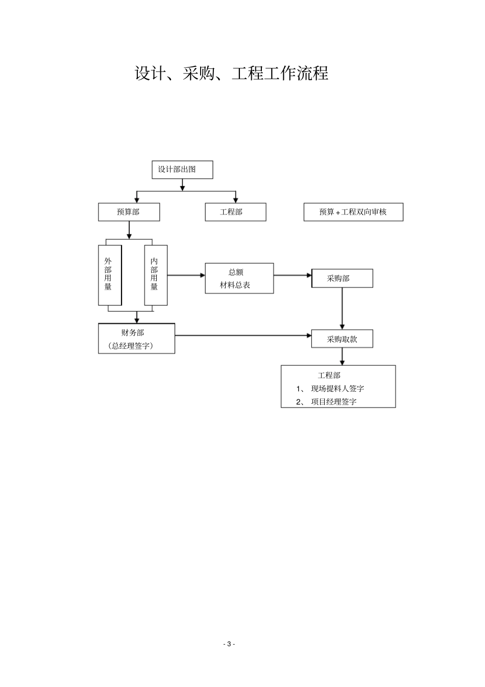
-1-工程项目管理手册-2-目录1、项目管理流程2、项目人员岗位职责3、工程项目施工考核表4、项目管理人员综合素质考评表5、回访维修任务联系单6、关于工程档案管理规定7、工程资料移交手续-3-设计、采购、工程工作流程采购取款工程部1、现场提料人签字2、项目经理签字设计部出图预算部外部用量内部用量采购部总额材料总表财务部(总经理签字)工程部预算+工程双向审核-4-项目管理流程为了更好地完成工程施工项目,工程部全体员工必须熟练掌握并严格按照本项目管理的流程内容来组织实施。一、项目管理流程图二、项目管理体系公司对项目“扁平”结构管理,即公司直接控制项目。主管领导对具体项目负责,依据项目策划及项目实施计划,履约工程合同,实现工作目标。为业主提供优质服务。(一)工作流程签订工程合组建项目部编制项目策划书相关部门、项目部研讨编制项目实施计划书报公司批准项目实施控制工程竣工验收/移交签订保修书(维修)竣工决算确定项目经理人选组建项目经理部明确项目管理权限、范围模式编制项目策划分析项目实施风险合同交底签署项目责任书工程总结及评价-5-(二)项目经理部负责对有合作意向的班组进行预审,组织招标,进行能力比较,价格评价等,确立班组。签订合同呈报公司批准存档。(三)现场管理:1、现场验证施工班组花名册,作业人员的身份证及特殊工种的上岗证等进行核对存档。2、进场教育项目经理部负责对班组进行质量,安全教育,并签订合同,项目部备案。3、日常管理作业纪律,生活区,作业区的卫生,服装统一,组织协调,履约管理,人员管理,物资管理。四、项目施工管理(一)工作流程(二)文件管理1、文件类型:施工班组预审、考察组织招标签订合同评价现场管理文件管理现场布置物资机具准备技术准备施工过程控制工程竣工总结评价-6-(二)编制项目策划书1、项目经理部根据原始资料,及现场实地考察、测量提出相关“难点”“机会点”及“量差”。2、合同交底:预算、成本两部组织人员向项目经理部进行招标文件、施工合同交底,并填写《施工合同交底记录》。3、项目实施风险分析:项目环境风险、技术风险、合同风险、造价与资金风险、管理与资源适应性风险和工期风险等。4、明确项目整体目标,确立施工班组管理模式,公司对项目经理部的管理授权。(三)制定项目实施计划1、实施计划内容:根据研讨内容,确立项目管理的工作范围、时间、资源配置及项目关联责任人。要达到质量等强制性要求,工作责任目标。2、工程概况,工程目标,项目经理部组织机构图及人员职责,分部分项工程划分。主要工程量,主要的施工方法及过程控制,环境和职业健康安全因素的识别和评价。3、编制总体进度计划所编制的整体计划须涵盖工程的所有主要项目,主要分部分项工程的时间安排。(产值因素及工期因素)4、其他相关计划的编制工程质量创优计划,CI创优计划,团队建设计划,服务计划。5、项目预控成本计划:包括现场管理经费、人工费、材料费(含周转材料费)、机械费、分包费和临时设施费等。由成本及主管领导审核,公司批准。四、项目施工班组的管理(一)工程流程:s--7-A、体系文件:质量、环境、职业、安全健康体系文件。B、公司文件:目标责任书和公司下发给项目经理部文件。C、合同类文件:设计合同、工程公司、采购合同、分包合同及合同变更等。D、法律法规、规范、标准类:与施工活动相关的适用国家和地方法律、法规、规范、标准以及设计规范、标准等。E、图纸类型文件:施工图纸及其变更资料等。F、外发文件:项目经理部对业主、监理、总包、分包、供应商及公司等文件或资料。G、外来文件:中标通知书、施工许可证。建筑主管部门备案文件,安全施工许可证,消防审批单,业主来函,监理来函总包来函等。H、1、内业资料:当地档案规范表格的施工技术资料,甲方要求保存资料,归档资料,施工日志,公司报表。2、文件收发所有来往文件应建立《文件收文登记表》和《文件发文登记表》3、文件建档项目经理部应分门别类将文件资料进行存档,并建立目录清单。4、文件传阅A.应交已接收到的文件资料及时传递到相关责任人员,并保留相应记录。B.图纸发生变更时应及时将相...

1、当您付费下载文档后,您只拥有了使用权限,并不意味着购买了版权,文档只能用于自身使用,不得用于其他商业用途(如 [转卖]进行直接盈利或[编辑后售卖]进行间接盈利)。
2、本站所有内容均由合作方或网友上传,本站不对文档的完整性、权威性及其观点立场正确性做任何保证或承诺!文档内容仅供研究参考,付费前请自行鉴别。
3、如文档内容存在违规,或者侵犯商业秘密、侵犯著作权等,请点击“违规举报”。

碎片内容

项目管理流程手册全

确认删除?
VIP
微信客服
  • 扫码咨询
会员Q群
  • 会员专属群点击这里加入QQ群
客服邮箱
回到顶部