电脑桌面
添加小米粒文库到电脑桌面
安装后可以在桌面快捷访问

三一集团招聘管理制度VIP免费

三一集团招聘管理制度_第1页
1/26
三一集团招聘管理制度_第2页
2/26
三一集团招聘管理制度_第3页
3/26
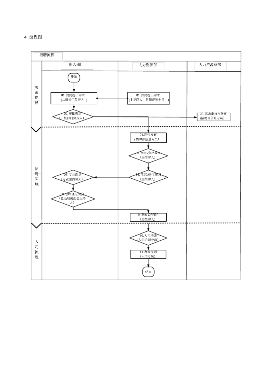
1目的明确招聘职责,规范用人标准及流程。2范围适用于集团各单位招聘与录用工作。3职责3.1人力资源总部职责3.1.1制定集团招聘政策、制度、流程,公共平台搭建及大型活动组织;3.1.2各单位招聘需求审核及招聘工作监控;3.1.3集团主招聘人的培训与认证;3.1.4集团及重工本部未成立人力资源部门的职能部门的人员招聘与录用。3.2各单位人力资源部职责3.2.1负责本单位本地化招聘政策的修订;3.2.2负责本单位人员招聘与录用;3.2.3负责本单位专业主面试人的培训与认证;3.2.4集团总部招聘项目支持。3.3各用人部门职责3.3.1负责本部门人员需求提报;3.3.2负责应聘者专业面试、总经理见面会及结果反馈。4流程图开始03.需求审核与备案(招聘部信息专员)04.职位发布(招聘部信息专员)9.发放OFFER(主招聘人)用人部门人力资源部人力资源总部招聘流程结束11.办理报到(入司专员)需求提报招聘实施入司流程02.审批需求(一级部门负责人)05.初试/资格验证(主招聘人)07.专业面试(专业主面试人)08.总经理见面会(总经理见面会主持人)10.入司培训(入司培训专员)06.笔试/操作测试(主招聘人)01.共同提出需求(二级部门负责人)01.共同提出需求(主招聘人、组织规划专员)5流程说明步骤工作事项责任岗位事项说明应用表单01提出需求二级部门负责人、主招聘人、组织规划专员1.每月26日前,由各人力资源部主招聘人和组织规划专员依据年度计划、公司总体经营状况及该部门实际情况,与用人部门沟通,共同提出招聘需求,明确招聘条件;2.《招聘周期标准》见附件一;3.原则上不接受临时提报的需求。招聘到位需求申报审批表(附件五)02审批需求一级部门负责人各人力资源部仅认可经事业部总经理或职能总部一级部门负责人审批签字的人员需求。招聘到位需求申报审批表(附件五)03需求审核及备案招聘部信息专员各人力资源部或总部职能单位人事专干应于每月30日前将审批通过的招聘需求报人力资源总部招聘部信息专员处汇总及备案。招聘到位需求申报审批表(附件五)04职位发布招聘部信息专员1.根据职位要求,选择外部招聘或者内部竞聘发布招聘信息,原则上优先考虑内部竞聘,参照《内部竞聘管理办法》执行;2.以网络为主,外部合作网站均链接到集团官网,短期或区域性招聘可通过当地人才市场解决,原则上不做电视、报纸等广告。05初试/资格验证主招聘人1.主招聘人任职资格及职责见《面试官管理规定》;2.严格执行《新员工录用标准》(见附件二),对确实非常优秀,却又不符合公司录用标准的,主招聘人须在面试意见中明确注明,并提醒用人部门,如若录用此人,需由用人部门就不符合项目提交特批报告;3.离司人员返聘参见附件三《离司人员返聘规定》;4.应聘者有亲属在集团内任职的,必须在《应聘申请考评表》上注明,由用人部门提交特批报告,报集团董事长特批,方可录用;5.与应聘者有亲属关系的员工,不得担任该应聘者任何环节的面试官。《亲属关系定义》见附件四。应聘申请考评表(附件六)06笔试/操作测试主招聘人1.由主招聘人组织,用人部门进行把关;2.技工类人员进行操作测试,其它类人员根据需要进行笔试。07专业面试专业主面试人1.专业主面试人任职资格及职责要求见《面试官管理规定》;2.非核心岗位专业面试环节原则上不得超过两轮;3.可通过视频进行面试并留下截图。应聘申请考评表(附件六)6其它说明6.1各人力资源部组织大型专场招聘活动,需经一级部门负责人审批,并报集团人力资源总部备案;6.2各驻外机构如需自行开展招聘活动,必须先取得所在单位人力资源部授权;招聘过程应严格按照《招聘管理制度》进行;6.3《招聘需求申报审批表》、《应聘申请考评表》由各人力资源部保存一年。7激励措施7.1举荐激励措施参照《举荐高级人才规定》;7.2其他项目奖惩措施依据公司领导批示或相关制度办理。8相关文件8.1《面试官管理规定》8.2《内部竞聘管理办法》8.3《举荐高级人才规定》9附件附件一《招聘周期标准》附件二《新员工录用标准》附件三《离司人员返聘规定》附件四《亲属关系定义》附件五《招聘到位需求申报审批表》附件六《应聘申请考评表》(社招类)附件七《应聘申请考评表》(社招技工类)08...

1、当您付费下载文档后,您只拥有了使用权限,并不意味着购买了版权,文档只能用于自身使用,不得用于其他商业用途(如 [转卖]进行直接盈利或[编辑后售卖]进行间接盈利)。
2、本站所有内容均由合作方或网友上传,本站不对文档的完整性、权威性及其观点立场正确性做任何保证或承诺!文档内容仅供研究参考,付费前请自行鉴别。
3、如文档内容存在违规,或者侵犯商业秘密、侵犯著作权等,请点击“违规举报”。

碎片内容

三一集团招聘管理制度

确认删除?
VIP
微信客服
  • 扫码咨询
会员Q群
  • 会员专属群点击这里加入QQ群
客服邮箱
回到顶部