电脑桌面
添加小米粒文库到电脑桌面
安装后可以在桌面快捷访问

网络故障处理流程作业标准VIP免费

网络故障处理流程作业标准_第1页
1/3
网络故障处理流程作业标准_第2页
2/3
网络故障处理流程作业标准_第3页
3/3
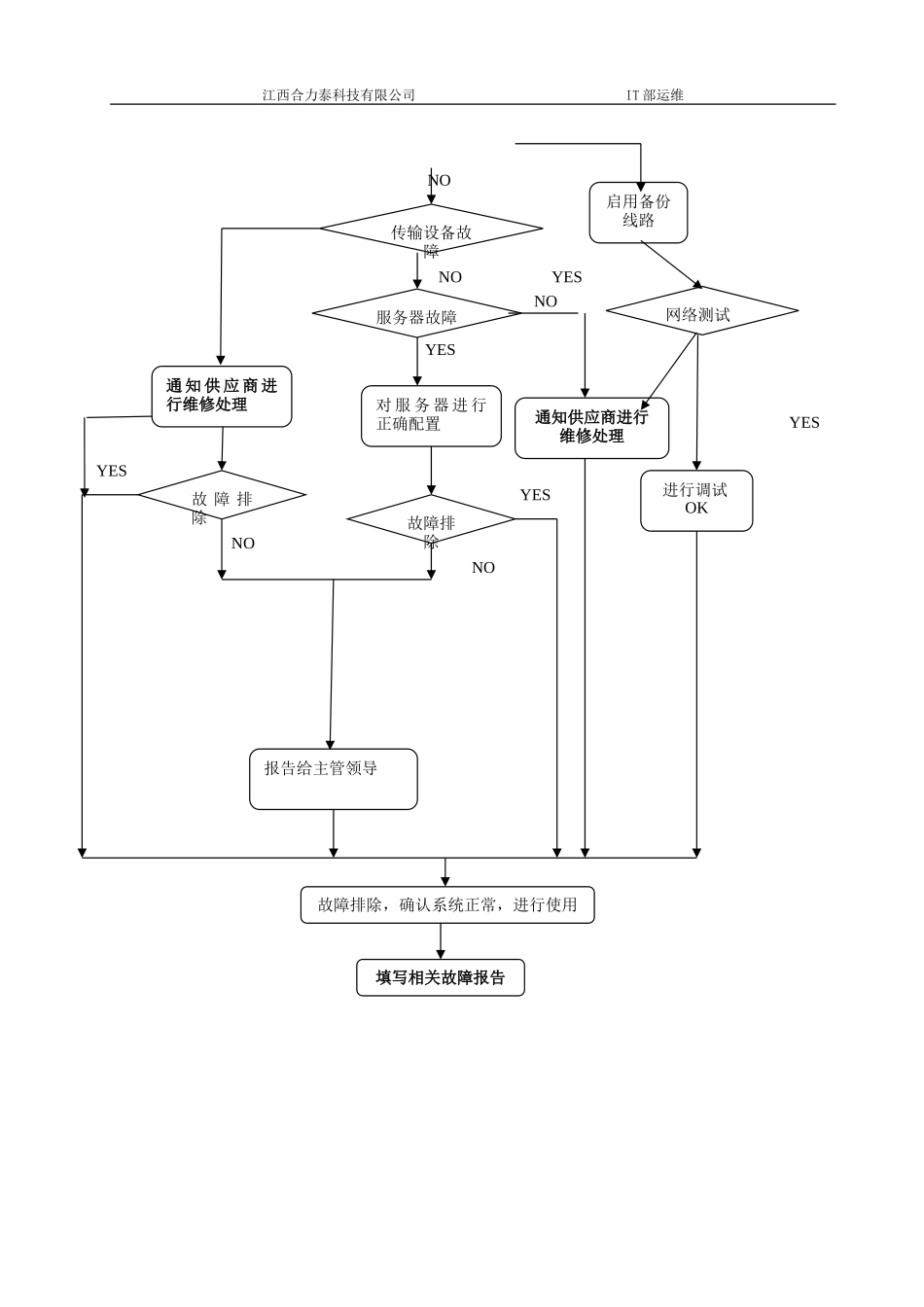
江西合力泰科技有限公司IT部运维江西合力泰科技有限公司网络故障处理流程作业标准(HOLITECH_IT_201701)一、网络故障处理原则故障处理基本原则是先抢通后修复,先本端后对端,先核心后边缘,内网外网。当两个以上的故障同时发生时,对重大故障、影响重要部门的故障等予以优先处理。二、网络故障处理时限故障处理时限是指故障修复完毕的时间,业务抢通时限是指业务恢复的时间。1、重大故障(S1),故障处理时限≤8小时,业务抢通时限≤60分钟;2、严重故障(S2),故障处理时限≤5小时,业务抢通时限≤30分钟;3、一般故障(S3),故障处理时限≤1小时,业务抢通时限≤15分钟。三、网络故障处理具体流程第一条:对于各部门反应问题,通过维修报告单,或者突发问题打电话处理的要弄清以下方面问题,以做好基本应对措施。1、事件当事人,地点,电话2、故障现象描述3、弄清故障出现的环境4、其它。第二条:赶赴现场弄清问题所在,包括:1、技术问题2、软件问题3、硬件原因4、网络环境原因5、使用不当6、非预料故障第三条:准备物品有了解决方案之后,要准备必要的物品和工具,包括1、相关软件光盘,系统光盘2、需要用到的工具(如测线仪等)3、技术手册4、故障处理表单5、其它江西合力泰科技有限公司IT部运维第四条:通过工具仪器检测包括以下几点:1、查看故障具体现象2、检察故障产生环境3、确认解决方案的合理性4、根据情况进行故障排除5、讲述注意事项6、对处理情况和技术疑点进行记录第五条:解决方案在弄清以上问题之后,根据当事人反应的基本情况做出判断,尽快提出解决方案。方案应包括以下几条基本内容:1、解决问题的具体要求2、解决问题的技术保障3、解决问题的方法途径5、其它第六条:对于一些无法立即解决的问题,应及时联系当日总职反应情况,以做好相应的应对措施。第七条:确认责任方弄清问题后,要确认责任何在,包括:1、操作方面2、软件方面3、硬件方面3、其它4、对方认可,确认责任方后,以书面的情况反应,并仔细讲解导致问题出现的原因,以免下次发生。第七条:对于处理后仍然存在的一些问题,应做好交文档记录,以便后期进行跟进。第八条:归档完成一系列流程后,要进行归档。(确保此问题在次发生,能够更及时处理)包括:1、问题存档2、处理过程存档3、技术疑点存档附件1故障处理流程图YESNOYES备用电源,否则联系上级及时处理网络管理员电源故障线路故障江西合力泰科技有限公司IT部运维NONOYESNOYESYESYESYESNONO传输设备故障通知供应商进行维修处理服务器故障故障排除对服务器进行正确配置故障排除报告给主管领导通知供应商进行维修处理填写相关故障报告进行调试OK网络测试启用备份线路故障排除,确认系统正常,进行使用

1、当您付费下载文档后,您只拥有了使用权限,并不意味着购买了版权,文档只能用于自身使用,不得用于其他商业用途(如 [转卖]进行直接盈利或[编辑后售卖]进行间接盈利)。
2、本站所有内容均由合作方或网友上传,本站不对文档的完整性、权威性及其观点立场正确性做任何保证或承诺!文档内容仅供研究参考,付费前请自行鉴别。
3、如文档内容存在违规,或者侵犯商业秘密、侵犯著作权等,请点击“违规举报”。

碎片内容

网络故障处理流程作业标准

确认删除?
VIP
微信客服
  • 扫码咨询
会员Q群
  • 会员专属群点击这里加入QQ群
客服邮箱
回到顶部