电脑桌面
添加小米粒文库到电脑桌面
安装后可以在桌面快捷访问

现场监理办公室上墙框图(制度牌)(2)VIP免费

现场监理办公室上墙框图(制度牌)(2)_第1页
1/8
现场监理办公室上墙框图(制度牌)(2)_第2页
2/8
现场监理办公室上墙框图(制度牌)(2)_第3页
3/8
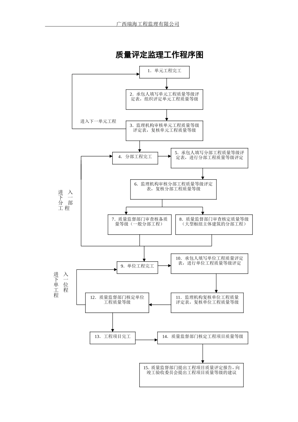
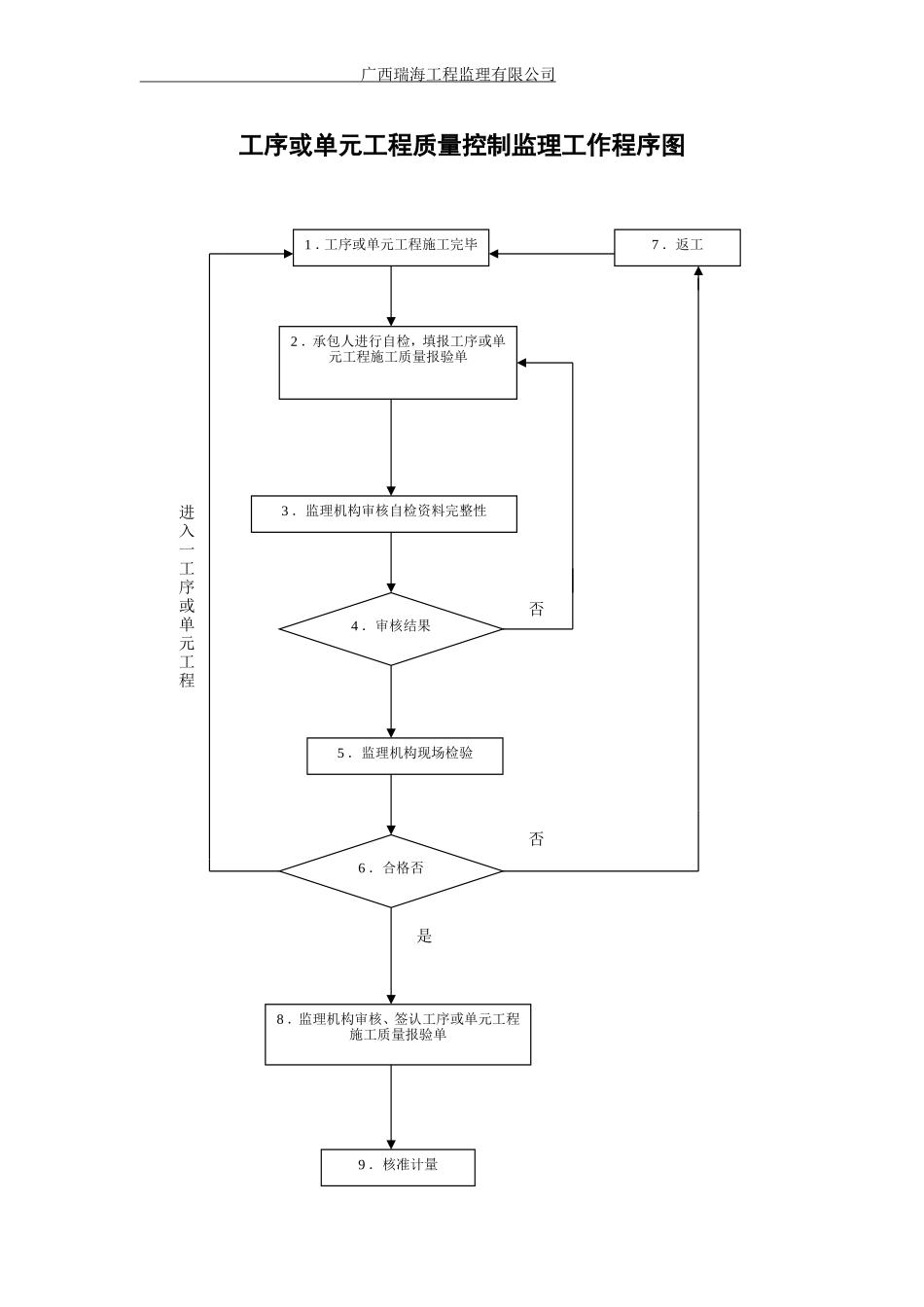
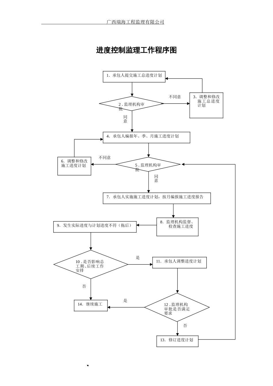
广西瑞海工程监理有限公司工序或单元工程质量控制监理工作程序图否1.工序或单元工程施工完毕2.承包人进行自检,填报工序或单元工程施工质量报验单3.监理机构审核自检资料完整性4.审核结果5.监理机构现场检验6.合格否8.监理机构审核、签认工序或单元工程施工质量报验单9.核准计量进入一工序或单元工程7.返工否是广西瑞海工程监理有限公司质量评定监理工作程序图1.单元工程完工2.承包人填写单元工程质量等级评定表,组织评定单元工程质量等级3.监理机构审核单元工程质量等级评定表,复核单元工程质量等级4.分部工程完工5.承包人填写分部工程质量等级评定表,进行分部工程质量等级评定6.监理机构审核分部工程质量等级评定表,复核分部工程质量等级7.质量监督部门审查核备质量等级(一般分部工程)8.质量监督部门审查核定质量等级(大型枢纽主体建筑的分部工程)9.单位工程完工10.承包人填写单位工程质量评定表,进行单位工程质量等级评定12.质量监督部门核定单位工程质量等级11.监理机构复核单位工程质量评定表,复核单位工程质量等级13.工程项目完工14.质量监督部门核定工程项目质量等级15.质量监督部门提出工程项目质量评定报告,向竣工验收委员会提出工程项目质量等级的建议进入下一单元工程进入下一分部工程进入下一单位工程程广西瑞海工程监理有限公司进度控制监理工作程序图1.承包人提交施工总进度计划2.监理机构审批4.承包人编报年、季、月施工进度计划3.调整和修改施工总进度计划5.监理机构审批6.调整和修改施工进度计划7.承包人实施施工进度计划,按月编报施工进度报告8.监理机构监督、检查施工进度9.发生实际进度与计划进度不符(拖后)14.继续施工11.承包人调整进度计划10.是否影响总工期、后续工作安排12.监理机构审批是否满足要求13.修订进度计划不同意同意不同意同意是是否否】工程款支付监理工作程序图1.单元工程验收合格2.承包人申请工程计量3.监理机构进行工程计量、复核4.承包人编制并提交工程价款月支付申请5.监理机构审核7.监理机构签发工程价款月付款证书8.报发包人审批9.发包人支付6.是否通过否是广西瑞海工程监理有限公司变更监理工作程序图12.监理机构审核建议书3.按原计划施工4.发包人审批5.设计单位进行变更设计6.监理机构核查签发变更设计图7.承包人施工8.监理机构通知承包人就工程变更报价9.承包人报价承10.监理机构审核承包人报价,报发包人11.发包人、承包人是否接受12.承包人、发包人协商价格14.进行变更支付承16.进入争议解决程序承13.一致15.监理机构暂定合适价格承1.设计单位、监理机构、承包人、发包人单独或共同提出工程变更建议书是否是否不同意不同意同意广西瑞海工程监理有限公司广西瑞海工程监理有限公司,于2004年1月18日在合浦县工商行政管理局登记成立,是广西沿海三市唯一具有水利水电工程建设监理资质的企业。公司注册资金200万元,资质等级为甲级。公司的组织机构健全、组织章程和管理制度完善。公司设有董事长室、总经理室、办公室、项目管理科、经营科、财务科、人力市场科、测量试验室,拥有专业技术人员共99人。监理工程师52人,高级技术职称人员11人、总监理工程师10人,监理员46人。公司成立以来,注重科学管理,运用先进技术和科学管理方法完成建设监理任务。在不断提高监理服务质量的同时,培养、锻炼了一批优秀的监理人才。本公司已通过ISO9001国际标准质量体系认证,技术力量雄厚,管理经验丰富,始终遵循“守法、诚信、公正、科学”的执业准则,派往工程项目的监理人员,以严格监理为宗旨,发挥综合性服务能力,始终以合同管理贯穿工程施工管理的全过程,在工程质量控制、工程进度控制、工程投资控制、合同管理、信息管理、组织协调等各方面为业主提供全天候、全方位、全过程的优质监理服务,得到了工程业主及政府质量监督部门的好评。近年来,公司共完成监理项目有:桂平市城区郁江西堤一期工程、灵山县2011年农村饮水安全工程、平南县六陈水库电站增效扩容改造工程、广西中越国境界河归春河整治工程、广西灵山县思明水库除险加固工程、环江县农业综合开发川...

1、当您付费下载文档后,您只拥有了使用权限,并不意味着购买了版权,文档只能用于自身使用,不得用于其他商业用途(如 [转卖]进行直接盈利或[编辑后售卖]进行间接盈利)。
2、本站所有内容均由合作方或网友上传,本站不对文档的完整性、权威性及其观点立场正确性做任何保证或承诺!文档内容仅供研究参考,付费前请自行鉴别。
3、如文档内容存在违规,或者侵犯商业秘密、侵犯著作权等,请点击“违规举报”。

碎片内容

现场监理办公室上墙框图(制度牌)(2)

确认删除?
VIP
微信客服
  • 扫码咨询
会员Q群
  • 会员专属群点击这里加入QQ群
客服邮箱
回到顶部