电脑桌面
添加小米粒文库到电脑桌面
安装后可以在桌面快捷访问

现浇箱梁监理细则VIP专享VIP免费

现浇箱梁监理细则_第1页
1/6
现浇箱梁监理细则_第2页
2/6
现浇箱梁监理细则_第3页
3/6
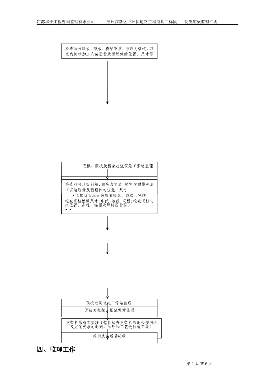
江苏华宁工程咨询监理有限公司苏州高新区中环快速路工程监理二标段现浇箱梁监理细则一、专业工程特点本监理部监理范围的三、四标段主线高架桥西起苏州新区鹿山路与建林路交叉口西侧的太湖大道,起点桩号K0+532.048,沿鹿山路向东跨越建林路、朝红路、联港路、湘江路、金枫路,截止桩号K4+289,全长3.757公里。高架桥箱梁主线顶宽有26米、35.5米、45米三种类型,箱梁高度2米,匝道箱梁宽度8米,高度1.6米。箱梁结构形式为等截面预应力砼连续箱梁,采用满堂支架现浇施工,跨径以30米、32米、34米为主,最大为45米,有两跨一联、三跨一联及四跨一联,主线共计37联,匝道6联。二、监理工作依据本监理部监理范围内的现浇箱梁施工应遵守:(1)业主与承包人之间的《工程承包合同》及《补遗书》;(2)本工程的《合同技术规范》有关章节;(3)JTJ041-2011《公路桥涵施工技术规范》;(4)城市桥梁工程施工与质量验收规范GJJ2-2008(5)CJJ2-90市政桥梁工程质量检验评定标准;(6)本工程设计文件及有关设计技术联系单;(7)有关监理通知;(8)被批准的分项工程开工报告(含各施工专项方案)。三、监理工作流程第1页共6页支架地基处理施工监理(按方案要求检查验收)审批施工专项方案和开工申请报告·工、料、机准备·施工技术方案·原材料试验报告·砼配比报告·质量和安全措施等江苏华宁工程咨询监理有限公司苏州高新区中环快速路工程监理二标段现浇箱梁监理细则四、监理工作控制目标及控制要点第2页共6页•底模及支座安装质量检查、验收(包括检查复核模板尺寸、中线、边线、高程;检查复核支座位置、高程、锚固及焊接质量等)••支架搭设、支架预压施工监理(检查验收是否按方案要求实施)检查验收底板、腹板、横梁钢筋、预应力管道、箱室内侧模加工安装质量及预埋件的位置、尺寸等底板、腹板及横梁砼浇筑施工旁站监理检查验收顶板钢筋、预应力管道、箱室内顶模等加工安装质量及预埋件的位置、尺寸顶板砼浇筑施工旁站监理预应力张拉、压浆旁站监理支架拆除施工监理(包括检查支架拆除是否按图纸及方案要求的时间、顺序和工艺进行施工等)箱梁成品质量验收江苏华宁工程咨询监理有限公司苏州高新区中环快速路工程监理二标段现浇箱梁监理细则(一)、箱梁施工前的准备施工前准备阶段要求承包人必须做到:1、制定详细施工组织设计,着重于施工方案(包括模板、支架及搭设、支架预压、卸载方案、混凝土浇筑方案及张拉压浆方案等)、质量保证体系与施工安全保障体系,主要包括进度、人员、场地安排、机具及主要技术措施、安全措施与交通措施、应急预案等。2、对原材料的采购应符合设计文件或业主规定,提供原材料的厂家必须持有生产许可证。3、提供所选定原材料的试验报告(包括石子、砂、水泥、钢筋、钢绞线、锚具等)。4、严格按已经批复的支架施工方案进行支架地基的硬化处理及支架搭设和预压。5、预应力张拉设备须配套、性能稳定并经过专业机构检测标定。6、做好混凝土浇筑前的各项具体准备工作及施工操作方案(包括混凝土配合比、坍落度、初凝时间、混凝土浇筑工艺等),注意确定合理的混凝土坍落度、浇筑方式、振捣方式等,保证箱梁混凝土密实,无水印、麻面。施工前准备阶段监理控制要点:1、审查承包人提供的施工组织设计是否完善、可行,有无质量与安全保护措施。主要审查制定的施工组织设计是否能保证现浇连续梁优质按期完成,重点为审查支架搭设、预压、卸载方案及混凝土浇筑、预应力张拉及压浆等方案。2、对承包人新提供的材料及材料试验报告进行复核或认可。3、对支架、模板及支座预埋钢板进行检查,确定是否符合施工方案及规范要求,模板应采用大块模板,且平整度、刚度符合要求。4、对承包人提供的张拉理论计算数据进行复核,并检查张拉设备标定的证明文件。5、检查预应力锚具是否合格及其证明材料。6、检查钢绞线厂家的质量保证书与生产许可证,钢绞线现场抽样试验的技术数据与厂家提供的技术数据是否有明显差异。7、审查混凝土配合比,注意混凝土坍落度与灌注方式、速度,振捣方式是否匹配。(二)、支架、模板及钢筋加工、安装质量的检查和验收控制要点本阶段承包人必须...

1、当您付费下载文档后,您只拥有了使用权限,并不意味着购买了版权,文档只能用于自身使用,不得用于其他商业用途(如 [转卖]进行直接盈利或[编辑后售卖]进行间接盈利)。
2、本站所有内容均由合作方或网友上传,本站不对文档的完整性、权威性及其观点立场正确性做任何保证或承诺!文档内容仅供研究参考,付费前请自行鉴别。
3、如文档内容存在违规,或者侵犯商业秘密、侵犯著作权等,请点击“违规举报”。

碎片内容

现浇箱梁监理细则

确认删除?
VIP
微信客服
  • 扫码咨询
会员Q群
  • 会员专属群点击这里加入QQ群
客服邮箱
回到顶部