电脑桌面
添加小米粒文库到电脑桌面
安装后可以在桌面快捷访问

围手术期护理评价制度和处理流程VIP免费

围手术期护理评价制度和处理流程_第1页
1/5
围手术期护理评价制度和处理流程_第2页
2/5
围手术期护理评价制度和处理流程_第3页
3/5
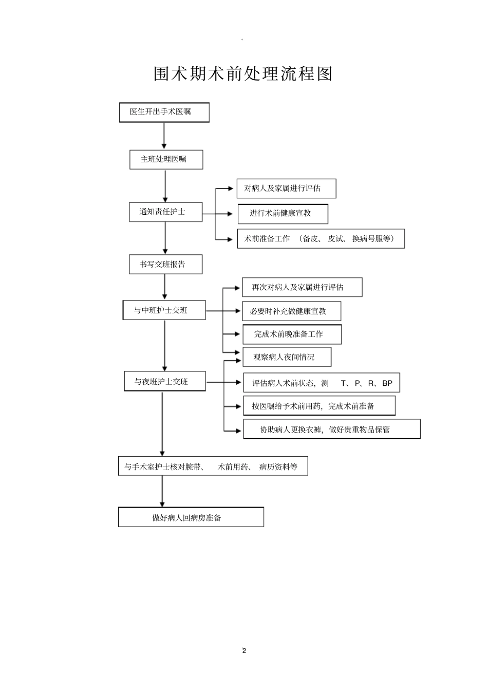
。。1 围手 术期护理评估制度1 通 过 对 患者 评 估 ,了 解 手 术患 者 基 本的 现 状 和护 理 服务 的 需 求, 为 制 定适 宜 于 患者 的 手 术计 划 提 供 依据 。2 围 手 术期 患 者 评估 的 内 容:( 1)手 术 前 期病 人 的 评 估 , 包 括 一般 资 料 、 既 往 史 及健 康 状 况、亲 属对 手 术 的看 法 、亲属 对 手 术的 关 心 程度 及 经济 承 受 能力 、病人 对 手 术的 耐 受 性、实 验 室检 查 结 果及 重 要脏 器 功 能等 。( 2)手 术 中 病人 评 估 , 包 括 手 术 体位 的 要 求 、 手 术 野皮 肤 消 毒、 手 术 过程 中 的 观察 等 。( 3)手 术 后 期病 人 的 评 估 , 包 括 麻醉 恢 复 情 况 ; 身 体重 要 脏 器的 功 能 ;伤 口 情 况;手 术情 况( 手术 方 式 、术 中 出血 、输血 、 麻 醉等 ) ;神 志 、生 命体 征 情 况;疼 痛 及症 状 管理 、切口 引 流 情况 ; 自 理能 力 和 活动 耐 受 力 ;心 理 状态 ; 用药 情 况 ,药 物 的 作用 及 副 作用 ; 安 全管 理 等 。3 择 期 手 术患 者 术 前 评估 由 责 任护 士 在 手 术 前 24 小 时内 完 成 , 急 诊 手 术患 者 术 前评 估 在 手术 前 1 小时 内 完成 , 特 殊情 况 除 外。 手 术 室护 士 负 责手 术 中 病人 评 估 。4 在 评 估 中出 现 可 能影 响 手 术安 全 的 情况 时 , 护士 应 及时 向 主 管医 生 报 告并 协 同 进行 相 应 处理 。。。2 围术 期术前处理流程图医生开出手术医嘱主班处理医嘱进行术前健康宣教对病人及家属进行评估通知责任护士术前准备工作 (备皮、 皮试、 换病号服等)书写交班报告与中班护士交班再次对病人及家属进行评估完成术前晚准备工作必要时补充做健康宣教评估病人术前状态,测T、P、R、BP 观察病人夜间情况与夜班护士交班协助病人更换衣裤,做好贵重物品保管与手术室护士核对腕带、术前用药、 病历资料等按医嘱给予术前用药,完成术前准备做好病人回病房准备。。3 围手 术期术中处理流程常规用物准备:准备术中所需仪器设备, 并检查其性能。术中护理仔细核对病人、术前准备情况及...

1、当您付费下载文档后,您只拥有了使用权限,并不意味着购买了版权,文档只能用于自身使用,不得用于其他商业用途(如 [转卖]进行直接盈利或[编辑后售卖]进行间接盈利)。
2、本站所有内容均由合作方或网友上传,本站不对文档的完整性、权威性及其观点立场正确性做任何保证或承诺!文档内容仅供研究参考,付费前请自行鉴别。
3、如文档内容存在违规,或者侵犯商业秘密、侵犯著作权等,请点击“违规举报”。

碎片内容

围手术期护理评价制度和处理流程

您可能关注的文档

确认删除?
VIP
微信客服
  • 扫码咨询
会员Q群
  • 会员专属群点击这里加入QQ群
客服邮箱
回到顶部