电脑桌面
添加小米粒文库到电脑桌面
安装后可以在桌面快捷访问

工程管理曲线VIP免费

工程管理曲线_第1页
1/19
工程管理曲线_第2页
2/19
工程管理曲线_第3页
3/19
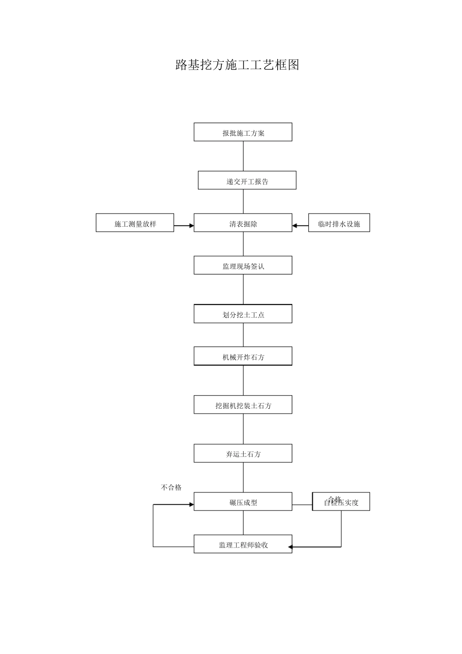
工程管理曲线 年度 月 份 进度 2020 年 2021 年 1 2 3 4 5 6 7 8 9 10 11 12 1 2 3 4 5 6 用 款 百 分 比 〔%〕 100 90 80 70 60 50 40 30 20 10 0 0 10 20 30 40 50 60 70 80 90 100 工期历程的百分比 〔%〕 路基挖方施工工艺框图 不合格 合格 报批施工方案 递交开工报告 监理现场签认 划分挖土工点 碾压成型 挖掘机挖装土石方 清表掘除 弃运土石方 机械开炸石方 监理工程师验收 施工测量放样 临时排水设施 自检压实度 路基填土施工工艺框图 不合格 合格 报批施工方案 递交开工报告 监理现场签认 运输摊铺土方 碾压成型 稳 压 清表掘除 平地机精平 推土机初平 监理工程师验收 土工试验 施工测量放样 临时排水设施 填前碾压 检测含水量 自检压实度 下一层填筑 洒水或翻晒 钢筋砼拱涵施工工艺流程图 测 量 放 样 基 坑 开 挖 , 排 水 基 坑 检 验 换 填 砂 性 土 , 分 层 压 实 砂 性 土 砼 基 础 立 模 , 灌 注 拱 涵 涵 身 、台 座 立 模 灌 注 支 立 拱 架 , 安 装 拱 模 对 称 灌 注 拱 圈 砼 养 护 拱 圈 砼 强 度 达 设 计 值 对 称 拆 除 拱 架 、拱 模 施 做 防 水 层 涵 顶 对 称 填 土 、分 层 夯 实 出 入 口 、八 字 墙 等 附 属 工 程 施 工 监 理 签 证 养 护 养 护 检 查 、验 收 、签证 检 查 、验 收 、签证 圆管涵施工工艺流程图 施工预备 施工放样 施工预备 浆砌片石基础 基坑开挖 预制涵管 管涵安装 砌筑八字墙 管缝防水层 截水墙砌筑 交 验 勾 缝 浆砌片石施工工艺框图 不合格项目重做 不合格项目重做 不合格项目重做 不 合 格 项 目 重 不合格项目重做 做 合格 不合格项目重做 测量放样 开挖基坑 工程师检验 资料整理 资料整理 签证 材质检查 基底土质检查 片石质量 河砂质量 水泥质量 配合比选 择 测量复核 审核资料 材质检查 浆砌片石砌体 工程师检查 浆砌片石 勾缝 伸缩缝 运料 挂线调平 资料整理 资料整理 检查验收 分项质量评定 签证 砌体质量 砂浆标号 各部位尺 寸 `审核资料 保养 余土运走 余料运走 拆除料棚 清理场地 钻孔桩施工工艺框图 制定报批施工方案 桩位测量放样 钻机就位 钻 孔 安放钢...

1、当您付费下载文档后,您只拥有了使用权限,并不意味着购买了版权,文档只能用于自身使用,不得用于其他商业用途(如 [转卖]进行直接盈利或[编辑后售卖]进行间接盈利)。
2、本站所有内容均由合作方或网友上传,本站不对文档的完整性、权威性及其观点立场正确性做任何保证或承诺!文档内容仅供研究参考,付费前请自行鉴别。
3、如文档内容存在违规,或者侵犯商业秘密、侵犯著作权等,请点击“违规举报”。

碎片内容

工程管理曲线

您可能关注的文档

确认删除?
VIP
微信客服
  • 扫码咨询
会员Q群
  • 会员专属群点击这里加入QQ群
客服邮箱
回到顶部