住宅和楼宇管理系统 KNX 协会 KNX 总线设备 1/14 KNX 基础教程 K N X 总线设备 住宅和楼宇管理系统 KNX 协会 KNX 总线设备...
4配电自动化信息交互总线技术原则
I/O总线类型 总线是计算机系统中各个部件之间传输各种信息的公共通路。 微机总线按用途可分为四类信号线: ①数据/地址分时复用线:...
RS-232、RS-422 与 RS-485 标准及应用 一、RS-232、RS-422 与 RS-485 的由来 RS-232、RS-422 与 RS-485 都是串行数据接口标准,...
一、关于485 总线的几个概念: 1、485 总线的通讯距离可以达到1200 米。 根据485 总线结构理论,在理想环境的前提下,485 总线传输距...
大型485 总线联网设备施工注意事项 一、 线材选择 一定要用双绞线,在没有大的电磁干扰场合,可以不加屏蔽,但一定要双绞。当用 1.0mm...
485 总 线 485 通 讯 和 TCP 网 络 通 讯 优 缺 点 比 拼 第 一 章 485 总 线 解 决 方 案 一 、 关 于 48...
485 现 场 总 线 的 实 际 问 题 和 解 决 办 法 一 、 关 于 485 总 线 的 几 个 概 念 : 1、 485 总 线...
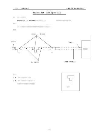
现场总线使用说明书 上海神开科技工程有限公司 - 1 - Device Net (CAN Open)现场总线 一、 现场总线的组成及连接 Device Net ...
1 现场总线考试复习资料 计算机科学学院 第二章现场总线与工业控制网络技术基础 1.数据概念 信息是指有用的知识或消息,网络通信的目...
1 现场总线概述 一、现场总线简介 随着控制、计算机、通讯、网络等技术的发展,信息交换沟通的领域正在迅速覆盖从工厂的现场设备层到控...
1 第一章 现场总线控制系统(FCS) 第一节 概述 现场总线控制系统(Fieldbus Control System,FCS)是继基地式气动仪表控制系统、电...
现场总线接口卡
1 课程名称: 现场总线实验 任课教师: *** 学 院: 自动化 专业班级: 学 号: 学生姓名: 2 2 0 1 5 年 6 月 1 6 ...
现场总线技术综述 2008-3-3 15:51:00 来源:中国自动化网 现场总线控制系统技术是 20 世纪 80 年代中期在国际上发展起来的一种崭新...
第一章:现场总线技术及Profibus 1.1 现场总线技术的由来 1.1.1 CIMS 体系结构及工业数据结构的层次划分 根据工厂管理、生产过程及功...
1 第一章现场总线技术概述 1.自动控制系统的发展经历了哪几个阶段? 大致经历了四个发展阶段,具体如下:20世纪 50年代以前是模拟仪表...
1 实验四:主站通过CPU 集成PROFIBU S-DP 接口与智能从站通信 一、实验目的 1、掌握主站与智能从站通信组态方法和参数设置; 2、用S...
第一章现场总线技术概述 1.自动控制系统的发展经历了哪几个阶段? 大致经历了四个发展阶段,具体如下:20世纪50年代以前是模拟仪表控制系...
现有各种总线及标准不下二百种,其中PROFIBUS 现场总线、FF 现场总线、LONWORKS 现场总线、CANBUS 现场总线等是具有一定影响和已占有一...

