遵义市南部新区四号棚户区改造工程— 1 # 、 3 # 、 5 # 楼外架 建筑施工单项劳务合同 二零一八年三月建设工程施工劳务分包合同...
采光井脚手架专项方案一、编制依据 1、《建筑施扣件式钢管脚手架安全技术法律规范》JGJ130-2025 2、《建筑施工安全检查评分标准》JGJ59-2...
XXXXXXXXX精装修工程脚手架搭设施工方案编制人: 审核人: 审批人: 目 录第一章 工程概况...............................................
中国建筑 项目管理表格分项工程技术交底卡表格编号CSCEC-PM-0803项目名称及编码濮阳市工人文化宫第 页共 页楼栋号办公会议中心分项工程...
目 录1 、 工 程 概 况 .................................................22 、 编 制 依 据 ...............................
******** 楼 脚手架工程施工方案编制人:审核人:日 期:脚手架施工方案一、搭设(1)扣件式钢管脚手架得构造要求及技术措施①地基处理:基槽...
鹿邑建业城三期落地式双排钢管脚手架专项施工方案 编制人: 审核人: 审批人: 林州金瑞建筑工程有限公司2025 年 5 月 20 日 目 录...
目 录一、编制依据..............................................................................2二、工程概况........................
落地式脚手架工程方案计算书工 程 名 称: 演示工程 施 工 单 位: 山西宏厦建筑工程有限公司 编 制 人: 张某某 审 核 人: ...
安全技术交底 LJA4-1工程名称济宁德建雅居分部工程脚手架工程分项工程(工种)名称: 落地式双排脚手架得搭设年 月 日交底内容: 1、材质...
徐州 2025-35 号地块 A 地块花篮式悬挑脚手架施工方案 目 录第一部分 悬挑脚手架施工方案...........................................
编号:SZFA—036苏州市工业园 区 7 304 6 地块住宅项目四期二区(3 C2)标段工程花篮式悬挑脚手架施工方案 中建一局集团第一建筑...
脚手架计算书(1)本工程脚步手架采纳 Φ 48×3、5 无缝钢管,立杆横距为1、05 m,立杆纵距为 1、8 m,步距为1、8m,共9步16、2m;...
扣件式落地双排脚手架计算书计算依据《建筑施工扣件式钢管脚手架安全技术法律规范》(JGJ130-2025)、《建筑地基基础设计法律规范》(GB 5000...
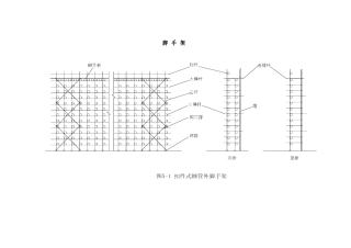
脚 手 架1、立杆脚手架立杆顶端栏杆宜高出女儿墙上端 1m,宜高出檐口上端端 1、5m。1、1 立杆纵距立杆纵距建议取值:1、2~1、8m1、2 ...
脚手架法律规范搭设图例1―外立杆;2―内立杆;3―横向水平杆;4―纵向水平杆;5―栏杆;6―挡脚板;7―直角扣件;8―旋转扣件;9―连墙件;10―横向...
井字架方案 一、概况: 北极寺北 10#、12#、14#楼,长 62、47 米,宽10、22 米,五层砖混结构,层高 2、8 米,檐高14、9 米。 现浇砼构...
附件:脚手架受力验算 1、参数信息(1)脚手架参数本计算书根据脚手架搭设高度拟定为 20 米来计算;搭设尺寸为:立杆得纵距为2、438 米,立杆...
脚手架得抗倾覆验算与稳定性计算[摘要]当模板支架、施工用操作架等脚手架不设连墙杆时,必须首先对脚手架进行抗倾覆验算,然后才就是强度、...
脚手架监理实施细则一、工程概况1、项目名称:(1)同煤集团轩岗煤电有限责任公司1#综合购物中心 2、建设单位:同煤集团轩岗煤电有限责任公...

