目 录1 编制........................................................................................................................
目 录一、工程概况二、小组概况三、选题理由四、现状调查五、设定目标六、原因分析七、要因确认八、制定对策九、对策实施十、效果检查十一...
QC成果资料提高大直径钢筋直螺纹套筒连接的一次合格率QC成果资料提高大直径钢筋直螺纹套筒连接一次合格率中中铁一局集团第四工程有限公司黑...
技术交底记录表C2-1资料编号工程名称顺义区后沙峪镇SY00-0019-6001、6003地块R2二类居住用地施工单位福建德班建筑工程有限公司审核人分包单...
钢筋直螺纹加工及套筒购销合同合同编号:签订地点:签订时间:2012年月日甲方:地址:乙方:地址:电话:经甲乙双方友好协商,同意就建设,...
北华大学学士学位论文摘要本次毕业设计针对车床尾座套筒工艺规程进行设计,涉及套筒的选材、确定毛坯和机械加工余量及工序尺寸与公差、拟定...
一、钢筋的连接方式及执行标准情况1.绑扎搭接接头有关要求及规定《混凝土结构工程施工质量及验收规范》GB50204-2002第5.4.6条2.钢筋焊接接...
钢筋套筒冷挤压连接施工技术2018-12-1217:08一、概述钢筋套筒冷挤压连接是钢筋混凝土结构施工中钢筋连接的一项新技术。目前在我国已建和在...
钢筋套筒灌浆技术专项方案根据工程特点和设计方案,本工程钢筋套筒灌浆技术主要针对套筒剪力墙。1、施工准备1.1施工机具及器械准备封仓准备...
带肋钢筋套筒挤压连接工艺试验报告监理单位:华铁咨询杭黄铁路监理Ⅶ标项目部施工单位:中铁二局杭黄铁路站前Ⅶ标项目部一分部2015年5月28...
直螺纹套筒连接的技术规范要求直螺纹套筒规范一、施工准备1、材料准备:钢筋应具有出厂合格证和力学性能检验报告,所有检验结果,均应符合...
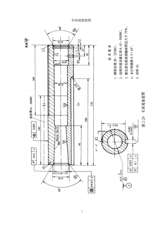
1车床尾座套筒21、零件图样分析l)φ550013.0mm外圆的圆柱度公差为0.005mm。2)莫氏4号锥孔轴心线与φ550013.0mm外圆轴心线的同轴度公差为...
1沈阳工程学院课程设计设计题目:车床尾座套筒系别机械制造与自动化班级机制101学生姓名王可学号2010543122指导教师王天煜白斌职称起止日期...
中铁十七局集团兴泉铁路XQNQ-4标技术交底书编号:2017-隧-工程项目隧道工程合同号XQNQ-4标分项工程名称二次衬砌施工单位中铁十七局集团里程...
直螺纹连接时套筒长度滚轧直螺纹钢筋连接接头,HRB335级钢筋.Φ1640±0.5Φ1845±0.5Φ2050±0.5Φ2255±0.5Φ2560±0.5Φ2865±0.5Φ3290...
精品文档。1欢迎下载钢筋端面平头剥肋辊压螺纹丝口质量检查套塑料帽保护丝口质量抽检存放待安装钢筋安放对丝口检测套筒质量套丝口加扭矩检...
专业技术负责人:交底人:接受人:直螺纹套筒分项工程质量技术交底卡GD2301003总承包施工单位深圳市鹏城建筑集团有限公司单位(子单位)工...
提高装配式结构转换层灌浆套筒连接钢筋施工一次合格率山东三箭建设工程管理有限公司精益QC小组一、课题简介1二、QC小组概况…………………...
套筒式中波小天线原理介绍、创新优势套筒式宽频带数字中波小天线的创新点及原理1、利用锥面缓变原理,降低终端反射和谐振频率,使天线的长...
河北省首钢迁安钢铁有限责任公司200万吨白灰套筒窑系统工程(一期)工程简介一、综合概况1.工程名称:河北省首钢迁安钢铁有限责任公司500M3...

