大马村旧城改造二期12#住宅楼及地下车库工程 普通型钢悬挑脚手架 安全监理实施细则编制人:审核人:审批人:编制单位:河北顺城工程项目...
项目编号: 防城港市中心区“三横二纵 ” 路网工程 1 号路 3 标 安全监理实施细则 2025 年 3 月编制: 审核: 广 西 南 ...
路桥工程质量监理探讨路桥工程质量监理探讨 摘要:本文首先分析了路桥工程监理的作用及关键环节,然后探讨了路桥工程质量问题处理的应对方...
新建杭州至长沙铁路第Ⅳ、Ⅴ标段路堤填筑(含特别土)监理实施细则 编制: 审核: 批准: 新建杭州至长沙铁路监理Ⅲ标项目部北京铁城监理...
目 录第一章 工程技术特点及技术、质量标准....................................1一、本监理标段工程概况................................
路基监理实施细则为了加强和细化××高速公路工程项目路基工程的监理工作,根据××高速公路土建施工《技术法律规范》、国家标准及交通部行...
路基工程环境保护监理细则 一、地表清理开挖施工中表层土保护是一个重点保护问题,表层土流失除引起水土流失外,也可能引发一系列生态平衡...
宜昌市伍家区八一路和柏临路路基工程安全监理规划专业监理工程师: 总监理工程师: 湖北华茂建设监理有限责任公司二 OO 七年一月目 录...
5.3、路基工程监理的重点、质量控制难点及措施道路工程的回填方地段需分层回填碾压,对回填料的土质,粒径,含水率要求严,压实度要求高,...
跨线桥板梁吊装安全监理细则跨线桥板梁吊装安全监理细则-安全管理网安全管理网会员中心加入 VIP微信安全管理网微信号 用户名: 密码: ...
表号:SCCS-QR-7.1.1-03安全监理实施细则(起重机械装拆)工程名称 上海轨道交通 13 号线一期工程 5 标土建工程 真北路站、真北路站...
轨道交通六号线赵家沟大桥监理实施细则( 引 桥 箱 粱 吊 装 )一、工程特点:1、 上 海 市 轨 道 交 通 6 号 线 赵 家...
*****协同办公自动化系统工程项目监理细则*****工程监理有限公司目 录第一部分:工程概况.............................................
一、工程概况1.业主:成都铁路局株六复线建设指挥部2.项目名称:贵阳火车站新站房3.建设地点:贵阳站房旧址(贵阳市遵义路南端)4.建筑...
工程 质量通病防治监理细则内容提要:●监理依据●关键控制点●监理措施●其它 项目监理部(章): 专业监理工程师: 总 监理工程 师...
根据《建设工程质量管理条例》,监理应有如下职责: 第五章 工程监理单位的质量责任和义务 第三十四条 工程监理单位应当依...
质量控制监理工作流程落实监理工程师监督检查承包商建立质量保证体系工序管理工序管理工序管理工序管理检查施工图审核施工措施审核复测资料...
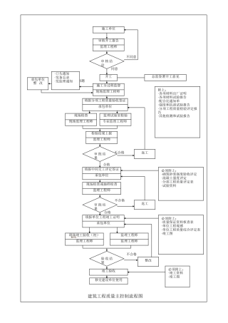
不同意 同意 存在问题 不合格合格 不合格合格不合格 建筑工程质量主控制流程图现场监理工程师承包单位 整 改·口头通知·发备忘录·...
港鑫龙城5#栋~8#栋及幼儿园工程质量安全提升行动方案监理实施细则编制:审批:长沙东泰工程项目管理有限公司港鑫龙城 5#栋~8#栋及幼儿...
谈监理对混凝土后浇带施工质量的控制谈监理对混凝土后浇带施工质量的控制 【摘 要】从基础后浇带垫层的处理、后浇带两侧的模板和钢筋支设...

