工程部工作流程一. 项目工程项目现场管理规程二. 第一次施工场地会议议程三. 监理授权书四. 工作计划与工程款支付程序五. 工程施工现...
审核开工报告监理工程师· 口头通知· 发备忘录· 发监理通知必须附上:· 各项材料出场合格证· 各项材料试验报告· 强度和抗渗试验...
第一章:工程监理工作流程1. 接受工作任务:2. 根据工长的施工进度计划,做出该施工场地的质量控制计划3. 组织现场技术交底:施工合同签...
工程监理工作流程 1. 接受工作任务: 2. 根据工长的施工进度计划,做出该施工场地的质量控制计划 3. 组织现场技术交底: 施工合同签...
工作流程认真审核图纸及监督工程工期及造价一. 现场交底(设计师 监理 客户 项目经理同时到现场)主要包括:成品保护,客厅.厨房.卫生...
工作流程及内容一、现场交底:(设计师 监理 客户 项目经理同时到现场)主要包括:成品保护,客厅、厨房、卫生间吊顶,影视墙造型,木制...
家装工作流程及操作方法1.介绍公司概况——由营销专员或设计师向客户详细、耐心介绍公司的业务范围,工作流程以及典型业绩。2.展示作品图集...
1、0 客户资料管理1、1 资料收集。在公司得日常营销工作中,收集客户资料就是一项非常重要得工作,它直接关系到公司得营销计划能否实现。客...
目 录一 、工 程 概 况二 、细 则 编 制 依 据三 、监 理 工 作 流 程四 、监 理 工 作 的 控 制 要 点 及 目...
国家高速公路网十堰至天水联络线( G7011)陕西境安康至汉中公路(安康西)房建工程监理工作流程陕西正林工程监理咨询有限公司十天高速公路...
★★★ 安全监理工作流程和常用表格附录一:施工安全控制监理工作流程附录二:安全监理工作通知单签发程序附录三:监理项目部安全监理工作...
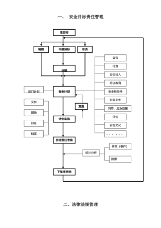
一、 安全目标责任管理二、法律法规管理总目标年度目标职责分解安全计划部门计划计划实施目标责任考核统计分析下年度目标检查安全投入培训...
场务岗位职责及工作流程一、场务工作职责: 1、认真遵守影院得各项管理制度,严格执行场务工作操作流程及标准,服从管理。 2、准时准点播报...
西安市雁塔区鱼化工业园土地报批手续办理工作流程一、 农用地转建设用地指标调剂申请(一)办理程序凡涉及农用地得建设用地项目,向市土地局...
固定资产投资项目入库纳统工作流程及具体要求 索引号:XXGK-201 7-00 3 076发文机关:项目入库发文字号:成文日期: 发布...
客房部工作流程和服务标准第一节 客房部的地位及服务一、客房部主要负责酒店所有客房的清洁和保养工作,配备各种设备,提供各种生活用品,...
售后会计助理工作流程售后会计助理工作流程 一.售后收款 参照“收款岗位流程”,要求达到收款员相同标准。 二.整理售后配件出库单及内...
咨询师日常工作准则一、工作流程咨询师工作流程含电话咨询、现场谈单和回访跟单。1 电话咨询:来电咨询:接听家长打过来咨询的咨询电话,...
咨询师日常工作流程、工作要求及考核标准咨询师平常工作流程图 直访 来电 未预约上门 回访 预约上门 预约上门 上门接待 未签约 签...
员工招聘管理制度一 、总 则1、1 目得为使公司员工招聘管理法律规范化、程序化、制度化,保证公司合理得人才结构与人才储备,实现人力资...

