电脑桌面
添加小米粒文库到电脑桌面
安装后可以在桌面快捷访问

安全生产标准化管理工作流程

安全生产标准化管理工作流程_第1页
1/9
安全生产标准化管理工作流程_第2页
2/9
安全生产标准化管理工作流程_第3页
3/9
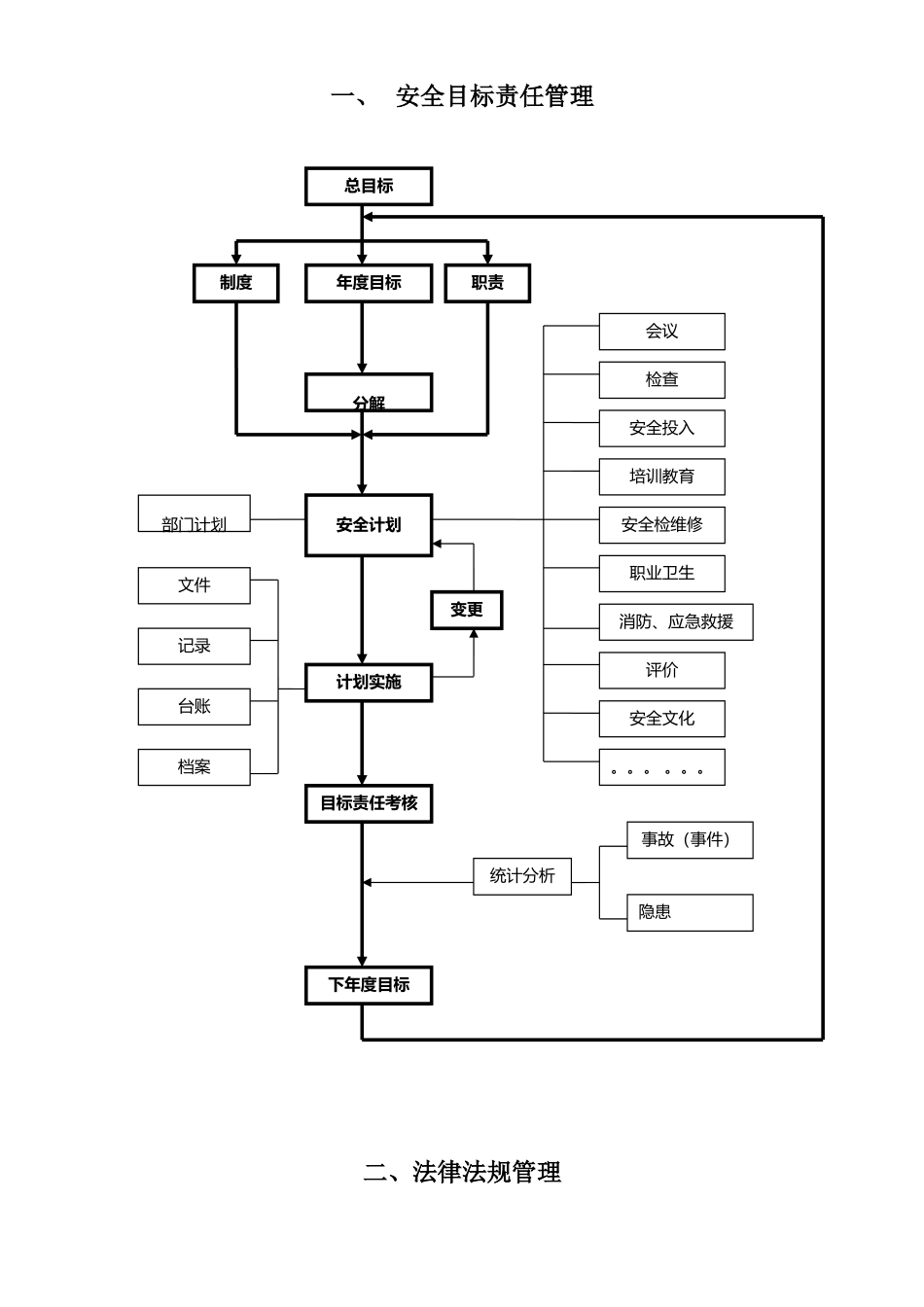
一、 安全目标责任管理二、法律法规管理总目标年度目标职责分解安全计划部门计划计划实施目标责任考核统计分析下年度目标检查安全投入培训教育安全检维修职业卫生记录台账档案事故(事件)隐患消防、应急救援会议安全文化文件制度变更评价。。。 。。。法律法规管理制度识别、猎取形成清单、文本库审核、批准发放培训教育更新相关方培训记录三 、 隐 患 治 理整改通知单事故隐患实施整改验收、复查登记台账统计和分析安全检查(隐患排查)风险分析安全评价报告标准化自评 / 评审 政府监察原因分析目标管理计划(预案)作业证管理危害辨识安全措施分析监护承包商培训、档案管理制度事故整改 ...隐患来源四、培训教育管理培训教育计划安全活动计划(月度)管理制度管理人员特种作业新员工从业人员外来人员对象内容法律法规责任制操作规程应急救援职业卫生风险管理消防培训教育需求培训记录培训档案三级教育卡考试卷内容学时签到效果评价。。。 。。。危险作业活动记录管理制度五、文件、制度管理六、台账、档案管理管理管理制度责任制管理制度操作规程主要负责人部门规章组织编制评审批准培训发放修订工艺设备制度规定频次其他需制定的文件、制度文件需形成的台账、档案安全检查台账特种设备台账隐患治理台账特种作业人员台账安全管理人员台账事故台账安全费用台账安全设施台账标识标牌台账消防设施台账安全附件台账职业危害防护台账应急救援物资台账安 全 教 育 档 案 ( 一 人 一档)员工健康监护档案(一人一档)特 种 设 备 档 案 ( 一 机 一档)企业职业卫生档案安全管理人员档案重大危险源档案承包商档案供应商档案台账档案事故档案建 设 项 目 “ 三 同时”安全生产会议记录危险作业证(新工艺、新装置、新技术、新产品)培训主题培训地点培训日期课 时主办部门主讲人培训人数培训主要内容1. 新工艺、新装置、新技术、新产品的特性;2. 工艺技术要求、注意事项;3. 存在的风险及防范措施;4. 工艺规程、设备、岗位安全操作规程及事故应急处理;5. 实操培训。参加培训人员签名培训效果

1、当您付费下载文档后,您只拥有了使用权限,并不意味着购买了版权,文档只能用于自身使用,不得用于其他商业用途(如 [转卖]进行直接盈利或[编辑后售卖]进行间接盈利)。
2、本站所有内容均由合作方或网友上传,本站不对文档的完整性、权威性及其观点立场正确性做任何保证或承诺!文档内容仅供研究参考,付费前请自行鉴别。
3、如文档内容存在违规,或者侵犯商业秘密、侵犯著作权等,请点击“违规举报”。

碎片内容

安全生产标准化管理工作流程

确认删除?
VIP
微信客服
  • 扫码咨询
会员Q群
  • 会员专属群点击这里加入QQ群
客服邮箱
回到顶部