广东XXXX空调设备有限公司文件XXX字[XXXX]XXX号签发人:XXXXX空调内部培训运作指引一、目的为充分利用XX空调公司内部的智力资源,促进公司...
凉菜厨师工作流程及规范标准岗位名称:凉菜厨师直接上级:凉菜主管直接下级:无素质标准:学历、培训、经验、技能四个方面1、具有初中以上...
劳务招投标工作流程一、劳务招投标工作的目的劳务招投标时施工总承包企业,根据建设主管部门有关规定,组织劳务分包企业进行任务投标的活动...
劳拉酒店前台工作流程(一)接待散客入住程序及注意事项:1、问好1)当客人进入大厅,距离总台两米远,也应目视客人,面露微笑,并问候:先...
无兼职工作流程介绍兼职人员工作流程以及常见问题,请认真看完!(有上网条件,兼职/全职均可,在家上网兼职!)网店生意不好的主要原因就是缺少...
关于设备招标采购工作流程规范的研究物资设备招标采购工作流程规范是高校廉政风险内控机制建设的重要内容之一,也是当前高校探索实践的热点...
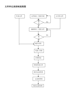
文件制订/变更申请NG编制制订/变更文件编号归档发放/回收识别状态管制作废文件相关记录变更外来文件公开性文件NG文件和记录控制流程图核准...
行政和人事工作流程人事行政工作流程(暂行版)第一部分:行政工作流程一、行政前台每日工作流程1.9:00—9:05,检查公司环境,开灯、开窗...
艾滋病筛查实验室检测工作流程临汾市疾病预防控制中心李康1艾滋病实验室的网络•三类:参比实验室、确证实验室、筛查实验室•六级:参比实...
危重患者护理常规及技术规范、工作流程及应急预案护理部—2019-9-20目录•一、危重病人护理常规•二、危重患者护理技术规范•三、危重病患...
店长每日的工作流程店长每日的工作流程时段工作项目工作重点店长每日检查项目表早会(通常每周一次)人员状况确认店面、车位状况确认昨日营...
2020整形医院皮肤科工作服务流程01.工作流程制定目的02.工作流程步骤分解03.工作服务流程细化04.结语目录Contents01工作流程制定目的整形医...
医院招聘工作流程与管理制度2020一、招聘工作流程二、招聘管理制度招聘流程图招聘流程1234招聘需求分析内部选拔准备外部招聘准备人员评价5...
CompanyLOGO非车险主要险种介绍非车险主要险种介绍主要内容主要内容一、企财险保险责任、投保资料二、意外险保险责任、投保资料三、货运险...
病理检查的工作流程基因科技(上海)有限公司显微镜观察15%需要进一步检测患者信息标识切片捞片脱腊抗原修复样本处理石蜡包埋显微镜或图像...
创建省级文明工地基本工作流程一、申报条件:1、工程规模房屋建筑工程,西安市城区内申报面积为20000㎡以上(含本数、下同);其他各设区市...
出纳员岗位工作流程一、现金出纳报销准备工作二、银行业务办理工作(一)支票业务办理流程1主要工作职责:1、现金出纳员报销前准备工作;2...
第一章出纳日常工作流程及方法1.1出纳的职责权限及岗位要求1.2出纳必备的会计基础知识1.3出纳的工作流程及方法1.4出纳人员的职业发展与从业...
会计实操出纳的基本工作流程出纳的定义(结合出纳票据来讲解)出纳,作为会计名词,运用在不同场合有着不同涵义。从这个角度讲,出纳一词至...
会计岗位工作流程一、原始单据的取得、稽核1、外来原始单据:国家统一印制、有关部门统一规定,按照财务规范、法规统一要求。发票必须为国...

