电脑桌面
添加小米粒文库到电脑桌面
安装后可以在桌面快捷访问

XX公司绩效考核管理规范VIP免费

XX公司绩效考核管理规范_第1页
1/20
XX公司绩效考核管理规范_第2页
2/20
XX公司绩效考核管理规范_第3页
3/20
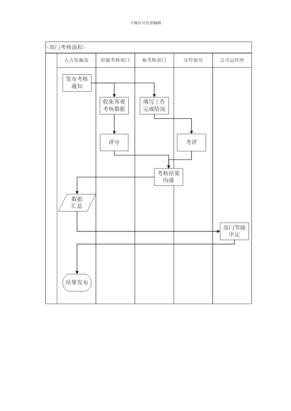
下载后可任意编辑绩 效 考 核 管 理 法 律 规 范编制胡 思 源日期2024年5 月12 日审核闻 平 洋日期2024年5 月26 日批准徐 洪 舸日期2024年6 月22 日流 程 要 素流 程 目 标 :流程时间 要 求流程监控点 数 目流程主要责任岗 位流程涉及职 位 数 目修 订 记 录日 期修 订状 态修 改 内 容修改人审 核人批 准 人下载后可任意编辑下载后可任意编辑下载后可任意编辑下载后可任意编辑下载后可任意编辑下载后可任意编辑1.目 的1.1.使考核成为各级管理者有效激励员工、进 行 精 细 化 管 理 的 工 具 ;1.2.建立良好的绩效文化,促使公司总体绩效 全 面 、 持 续 提 升 ;1.3.促进员工能力不断成长,提高员工的满意度和成就感,实现公司目标、个人进展 目 标 的 高 度 结 合 。2.适 用 范 围2.1.深 圳 公 司 除 总 经 理 以 外 的 所 有 在 职 员 工 。2.2.深 圳 公 司 所 有 部 门 。2.3.华 南 区 域 管 理 中 心 的 部 门 及 个 人 。2.4.物 业 公 司 借 调 人 员 。3.术 语 和 定 义4.职 责4.1.人力资源部为本法律规范的主要执行部门 。4.1.1.人 力 资 源 部 负 责 本 法 律 规 范 的 制 订 及 维护 、 修 改 并 负 责 对 本 法 律 规 范 进 行 解 释 。4.1.2.人 力 资 源 部 设 立 考 核 专 员 岗 位 负 责 公 司日 常 考 核 的 实 施 、 考 核 系 统 的 维 护 等 工作 , 并 在 考 核 过 程 提 供 各 项 必 要 的 支 持 。4.1.3.根 据 考 核 结 果 提 供 提 升 绩 效 所 需 要 的 各种 服 务 并 依 据 考 核 结 果 向 公 司 提 出 奖 惩建 议 。4.2.总经理办公室、财务管理部、客服中心以及相关部门参加提供对各部门的考核数 据 。4.3.各级考核人负责对下级(部门)的工作进 行 考 评 并 提 供 相 应 的 指 导 、 支 持 。下载后可任意编辑5.工 作 程 序5.1.考 核 原 则 :“ 公 正 透 明 、 全 面 考 察 、 及 时 跟 踪 、 帮 助改 进 ”5.2.考核对应关系:由部门考核和个人考核两 部 分 组 成 。5.2.1.部 门 考 核 :分 管 各 部 门 的 公 司 领 导 为 本部 门 工 作 业 绩 的 直 接 考 核 人 ; 周 ...

1、当您付费下载文档后,您只拥有了使用权限,并不意味着购买了版权,文档只能用于自身使用,不得用于其他商业用途(如 [转卖]进行直接盈利或[编辑后售卖]进行间接盈利)。
2、本站所有内容均由合作方或网友上传,本站不对文档的完整性、权威性及其观点立场正确性做任何保证或承诺!文档内容仅供研究参考,付费前请自行鉴别。
3、如文档内容存在违规,或者侵犯商业秘密、侵犯著作权等,请点击“违规举报”。

碎片内容

XX公司绩效考核管理规范

您可能关注的文档

文森传品+ 关注
实名认证
内容提供者

一家传播文化教育的小店,资料丰富,随意挑选。

确认删除?
VIP
微信客服
  • 扫码咨询
会员Q群
  • 会员专属群点击这里加入QQ群
客服邮箱
回到顶部