电脑桌面
添加小米粒文库到电脑桌面
安装后可以在桌面快捷访问

SST25VF040VIP专享VIP免费

SST25VF040_第1页
1/24
SST25VF040_第2页
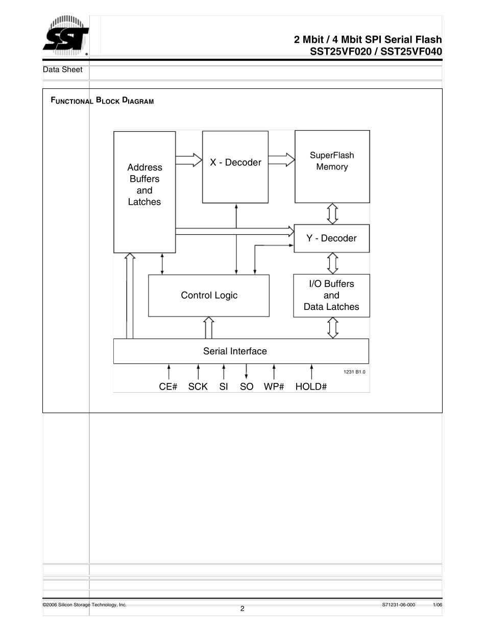
2/24
SST25VF040_第3页
3/24
©2006 Silicon Storage Technology, Inc.S71231-06-0001/061The SST logo and SuperFlash are registered Trademarks of Silicon Storage Technology, Inc.These specifications are subject to change without notice.Data SheetFEATURES:•Single 2.7-3.6V Read and Write Operations•Serial Interface Architecture– SPI Compatible: Mode 0 and Mode 3•20 MHz Max Clock Frequency•Superior Reliability– Endurance: 100,000 Cycles (typical)– Greater than 100 years Data Retention•Low Power Consumption:– Active Read Current: 7 mA (typical)– Standby Current: 8 µA (typical)•Flexible Erase Capability– Uniform 4 KByte sectors– Uniform 32 KByte overlay blocks•Fast Erase and Byte-Program:– Chip-Erase Time: 70 ms (typical)– Sector- or Block-Erase Time: 18 ms (typical)– Byte-Program Time: 14 µs (typical)•Auto Address Increment (AAI) Programming– Decrease total chip programming time over Byte-Program operations•End-of-Write Detection– Software Status•Hold Pin (HOLD#)– Suspends a serial sequence to the memorywithout deselecting the device•Write Protection (WP#)– Enables/Disables the Lock-Down function of the status register•Software Write Protection– Write protection through Block-Protection bits in status register•Temperature Range– Commercial: 0°C to +70°C– Industrial: -40°C to +85°C– Extended: -20°C to +85°C•Packages Available– 8-lead SOIC 150 mil body widthfor SST25VF020– 8-lead SOIC 200 mil body widthfor SST25VF040– 8-contact WSON (5mm x 6mm)•All non-Pb (lead-free) devices are RoHS compliantPRODUCT DESCRIPTIONSST’s serial flash family features a four-wire, SPI-com-patible interface that allows for a low pin-count packageoccupying less board space and ultimately lowering totalsystem costs. SST25VF020/040 SPI serial flash memo-ries are manufactur...

1、当您付费下载文档后,您只拥有了使用权限,并不意味着购买了版权,文档只能用于自身使用,不得用于其他商业用途(如 [转卖]进行直接盈利或[编辑后售卖]进行间接盈利)。
2、本站所有内容均由合作方或网友上传,本站不对文档的完整性、权威性及其观点立场正确性做任何保证或承诺!文档内容仅供研究参考,付费前请自行鉴别。
3、如文档内容存在违规,或者侵犯商业秘密、侵犯著作权等,请点击“违规举报”。

碎片内容

确认删除?
VIP
微信客服
  • 扫码咨询
会员Q群
  • 会员专属群点击这里加入QQ群
客服邮箱
回到顶部