电脑桌面
添加小米粒文库到电脑桌面
安装后可以在桌面快捷访问

旋转时钟分析与设计

旋转时钟分析与设计_第1页
1/35
旋转时钟分析与设计_第2页
2/35
旋转时钟分析与设计_第3页
3/35
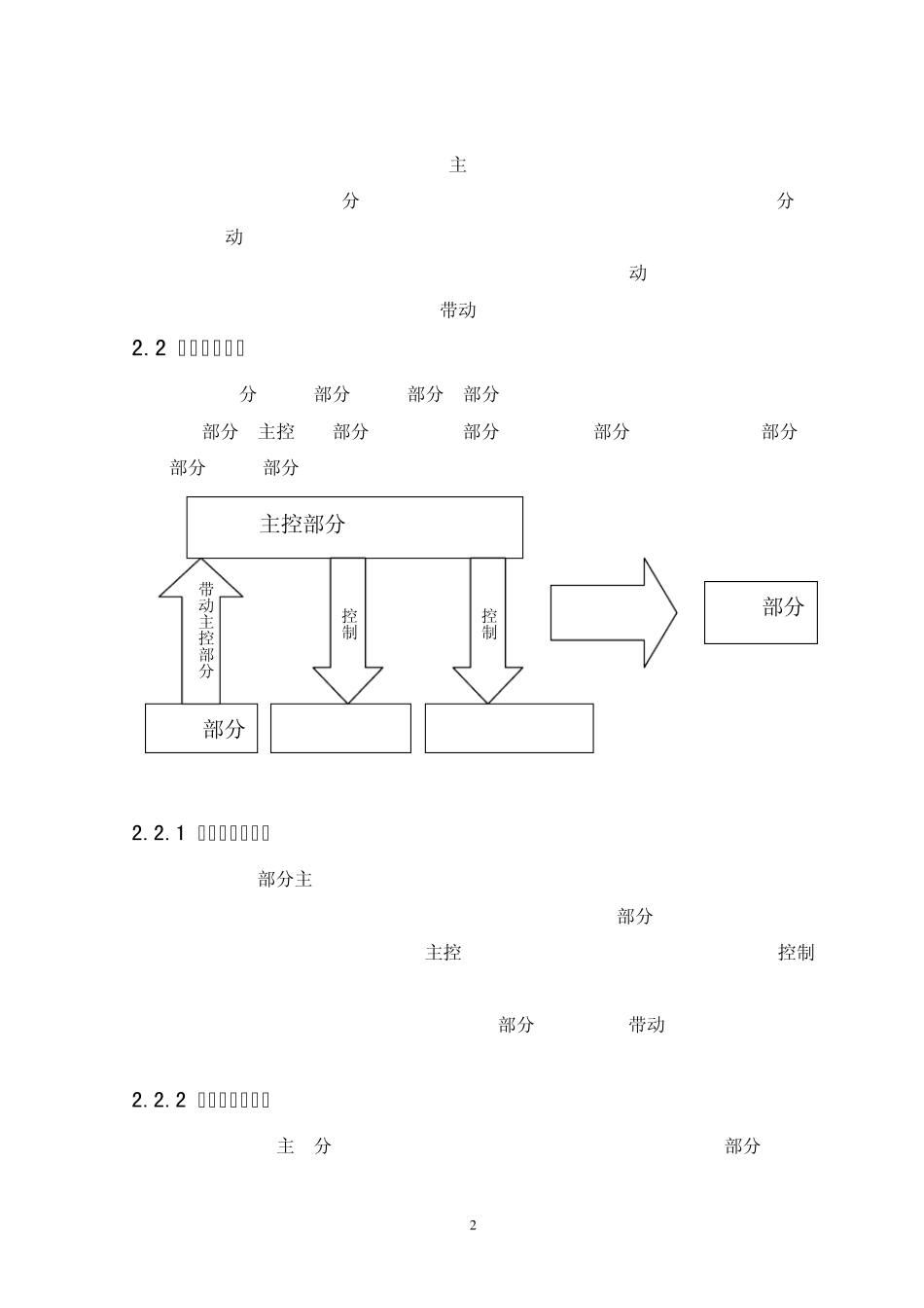
1 旋转时钟设计 1 1 绪论 1.1 旋转时钟的发展背景 如果你在网上用google搜索“POV led”一词(POV即 persistance of vision),会找到世界各地的各种 LED 旋转屏的制作介绍。那些摇晃出的空中图案,漂浮在车轮上的动画,以及形态各异的时钟,一定给你留下深刻印象。看到这些千奇百怪、创意无限的电子作品,除了羡慕、敬佩、感叹外,你是否想过拥有一个,做一个属于你自己的 LED旋转屏呢? 1.2 旋转时钟的特点 旋转时钟的主要特点就是结构新颖,效果奇特。加入了现代科技的元素,利用人眼的视觉暂留特性,用单片机作为主控芯片,采用电机带动发光二极管高速旋转,霍尔传感器进行定位,利用刷屏显示原理呈现时钟画面及 DS18B20 温度显示。造型及显示效果个性、新颖,解决了传统 时钟结构单一,显示效果固 定的缺 陷 ,更 好 了满足 了人们 对 美 的追 求 。 1.3 旋转时钟的发展趋势 现今 人们 家 庭 用的时钟主要还 是传统 意义 上的时钟,固 定的表 盘 与 表 针 ,显示效果单一,不 能 满 足 时钟不 但 用来 看时间 还 是一件 很 好 的装 饰 品的要求 。随 着 科技的发展 网络 上出现了以 DIY为主要形式 的旋转时钟作品。 但 是随 着 单片机技术 、高亮 发光二极管制造技术 和 高速稳 定电机制造技术 的发展 ,这种千奇百怪、创意无限的电子旋转时钟必 将 走 进千家 万 户 。 2 系统的总体设计 2.1 方案可行性论证 2.1.1 需求分析 随 着 科技的发展 和 人们 对 创新事 物 和 美 感的追 求 ,传统 的固 定的电子时钟无法 满足 现代人们 的物 质 和 文 化 生 活 的需 要,必 将 被 淘 汰 。这种新兴 的,创意无限的,视觉效果好 的创意电子旋转时钟必 将 越 来 越 多 的走 进人们 的生 活 。这种新兴 的旋转时钟将会倍 受 人们 的青 睐 ,成 为人们 装 饰 、送 人的首 选 佳 品。 2.1.1 方案论证 2 旋转时钟是一种利用人眼的视觉惰性,让 LED高速旋转形成 LED屏,显示文字、数字及图形的 LED屏显示的电子产品。主要构成:在 AT89S52单片机的 P0、P2口上接上 16个贴片的 LED;在分别用 P1.0、P1.1和 P1.2上接上一个三极管 9013,分别用三极管驱动 8个贴片 LED,总共 40个贴片。用霍尔传感器 CS3144来测定转速,用DS18B20温度传感器来测温。采用取字模软件将字符和图案自动生...

1、当您付费下载文档后,您只拥有了使用权限,并不意味着购买了版权,文档只能用于自身使用,不得用于其他商业用途(如 [转卖]进行直接盈利或[编辑后售卖]进行间接盈利)。
2、本站所有内容均由合作方或网友上传,本站不对文档的完整性、权威性及其观点立场正确性做任何保证或承诺!文档内容仅供研究参考,付费前请自行鉴别。
3、如文档内容存在违规,或者侵犯商业秘密、侵犯著作权等,请点击“违规举报”。

碎片内容

旋转时钟分析与设计

确认删除?
VIP
微信客服
  • 扫码咨询
会员Q群
  • 会员专属群点击这里加入QQ群
客服邮箱
回到顶部