电脑桌面
添加小米粒文库到电脑桌面
安装后可以在桌面快捷访问

设备管理思维与模式创新12

设备管理思维与模式创新12_第1页
1/12
设备管理思维与模式创新12_第2页
2/12
设备管理思维与模式创新12_第3页
3/12
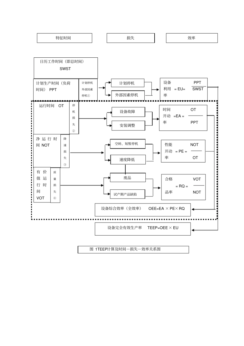
设备管理思维与模式创新李葆文21 世纪将近,全球经济发展和工业技术进步必然带来设备管理从观念到模式的变革。过去我们常说:忘记过去就是意味着背叛,现在我们要说:固守过去就预示着失败。一、 主角与配角的辩证观常听企业的人说, 设备管理常处于被动的, 从属的和配角的地位。其实,一绌戏无所谓主角和配角。名义上的配角演技出色,常常成为观众心目中的主角。 即使是主角真正出色, 若没有若干高超的配角搭档,全戏也难出彩。这使我们想起了电视剧《雍正王朝》,如果没有康熙、十三爷、年庚尧等人的精彩表演,也难衬托雍正的出色,更难提升全剧的水准。 设备管理作为子系统, 与质量、工艺、生产、安全、环保一样,构成了整个企业管理的大系统, 缺一不可,而且互相影响,互相依存。设备管理系统不去认真的设计,科学的构造,终会成为企业发展的严重制约。从这种意义上说,它已成为企业这台戏的 “主角”,反过来,出色运行的设备管理系统又可以大大促进企业的发展。在这种意义上,也是“主角”。而那种不好不坏,无声无色, “救火队”功能的设备管理则永远居于“配角”的地位。设备管理工作者从心理上应安于名义上的配角, 从行为上应无愧一个出色的配角,从功能上应争当企业运行的主角。效益最大化是企业追求的永恒目标,设备管理能否成为企业发展的主角,要看它对企业效益的贡献。二、 设备管理创造生产力97’广州设备管理与维修国际会议提出“设备管理是生产力”的口号。这一提法是有其根据的。1、微观:从 OEE到 TEEP在 TPM里,设备综合效率即全效率OEE的计算,可以较全面地反映生产现场设备管理对设备综合效率的影响。我们在计算 OEE时,遇到计划停机以外的外部因素,如无订单、停水、电、气、汽、待料等造成停机损失,常不知如何处理。当我们把OEE的计算作一扩展,给出“设备完全有效生产率(TEEP)”这一新概念和新算法,上述的问题可以迎刃而解。 TEEP的结构及特征时间,损失与各项效率的关系,如图所示。注:图中黑虚线框以内部分为OEE计算的结构, 全图为 TEEP的计算。图中符号意义如下:①:计划及外因停机损失②:故障及调机损失③:降速及空转损失④:试产及运行废品损失从图 1 可见,影响设备管理完全有效生产率的是由影响OEE的六大损失加上计划停机和外部因素停机这八大损失构成的。图 1TEEP计算及时间-损失-效率关系图特征时间损失效率日历工作时间(即总时间)SWST 计划生产时间(负荷时间) P...

1、当您付费下载文档后,您只拥有了使用权限,并不意味着购买了版权,文档只能用于自身使用,不得用于其他商业用途(如 [转卖]进行直接盈利或[编辑后售卖]进行间接盈利)。
2、本站所有内容均由合作方或网友上传,本站不对文档的完整性、权威性及其观点立场正确性做任何保证或承诺!文档内容仅供研究参考,付费前请自行鉴别。
3、如文档内容存在违规,或者侵犯商业秘密、侵犯著作权等,请点击“违规举报”。

碎片内容

设备管理思维与模式创新12

您可能关注的文档

文库响当当+ 关注
实名认证
内容提供者

该用户很懒,什么也没介绍

确认删除?
VIP
微信客服
  • 扫码咨询
会员Q群
  • 会员专属群点击这里加入QQ群
客服邮箱
回到顶部