电脑桌面
添加小米粒文库到电脑桌面
安装后可以在桌面快捷访问

重点病种的急诊服务流程与规范

重点病种的急诊服务流程与规范_第1页
1/11
重点病种的急诊服务流程与规范_第2页
2/11
重点病种的急诊服务流程与规范_第3页
3/11
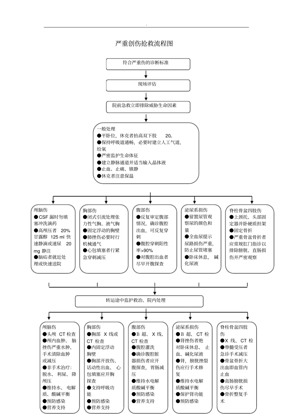
. . 重点病种的急诊服务流程与规范危重病人抢救流程急诊患者就诊初步判断病情重症监护室初步抢救治疗(开通静脉通道、吸氧、按病种进行常规抢救措施等)向陪人交代病情及签危重通知单记录(医师记录抢救病历)(护士记录抢救项目清单)进一步抢救请相关二线班病情较重观察病情、化验单、影像或收入病房会诊检查结果进一步评估抢救成功(医师开出所有抢救治疗单,护士或陪人去收费处初步结算)留观室. . 一、创伤的急诊服务流程与规范1.2 3.●A 保持气道通畅,有损伤开放气道,有呼吸减弱或呼吸消失给与呼吸支持● 静 脉 通 道 的 建立护 士 完 成解 剖 创●通过病史采集和初步徒手查体了解伤情后,按如下四个步骤完成救治流程:(l~3 min 内完成)● A 检查 生 命 体征 和 意 识水平;●B 评价解 剖 创伤;特别是颈椎● C 评价有证据的损 伤 机 制 和 高 能 因 素(汽车一同摔出或同一环境内有死亡者) ;● D 基础情况(年龄、心脏疾病、呼吸疾病、糖尿病、肝硬化、病态肥胖、妊娠等) 。●系统查体三步骤进行快速伤情判断按照(CRASH PLAN 方法进行)。3~7 min 内完成。简单的骨折固定、包扎和止血附: CRASH PLAN中每一个字母代表一个脏器或解剖部位, c为心脏 (cardic),R为呼吸(respiration),A为腹部 (abdomen) ,S为脊柱(spine),H为头颅 (head) , P为骨盆(pelvis),L为四肢 (1imb) ,A为血管(artery),N为神经 (nerve) 。●在接诊创伤患者的第1 分钟内,完成意识状态的判断,●依据足背动脉、桡动脉、股动脉、颈内动脉的搏动和张力初步判断血压的大致范围 ; ●相关检查生命体征平稳生命体征不稳定● 呼吸和循环支持● 术前准备,血常规和血型,凝血功能●送手术室大创伤送住院部手术室,小创伤留急诊手术室. . 严重创伤抢救流程图符合严重伤的诊断标准现场评估院前急救立即排除威胁生命因素一般处理●平卧位,休克者抬高双下肢20。●保持呼吸道通畅,必要时建立人工气道,给氧●严密监护生命体征●建立静脉通道并适当输入晶体液●止血、止痛、镇静●休克者注意保温颅脑伤●CSF 漏时勿填塞冲洗滴药●高颅压者20%甘露醇 125 ml 快速静滴或速尿20 mg 静注●脑疝者就近处理或快速送院胸部伤●闭式引流处理张力性气胸、液气胸●固定浮动的胸壁●肺挫伤必要时行机械通气●心包填塞者行紧急穿刺减压腹部伤●反复审定腹部情况,确诊腹腔出血,可反复穿刺●腹腔穿...

1、当您付费下载文档后,您只拥有了使用权限,并不意味着购买了版权,文档只能用于自身使用,不得用于其他商业用途(如 [转卖]进行直接盈利或[编辑后售卖]进行间接盈利)。
2、本站所有内容均由合作方或网友上传,本站不对文档的完整性、权威性及其观点立场正确性做任何保证或承诺!文档内容仅供研究参考,付费前请自行鉴别。
3、如文档内容存在违规,或者侵犯商业秘密、侵犯著作权等,请点击“违规举报”。

碎片内容

重点病种的急诊服务流程与规范

确认删除?
VIP
微信客服
  • 扫码咨询
会员Q群
  • 会员专属群点击这里加入QQ群
客服邮箱
回到顶部