电脑桌面
添加小米粒文库到电脑桌面
安装后可以在桌面快捷访问

随访制度及流程

随访制度及流程_第1页
1/3
随访制度及流程_第2页
2/3
随访制度及流程_第3页
3/3
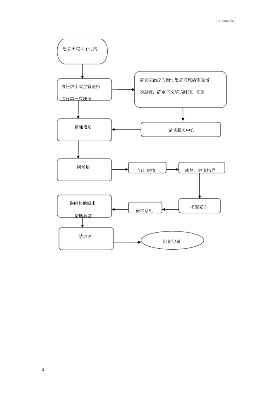
v1.0 可编辑可修改1 医院出院病人随访制度为了积极推行医院倡导的院前、院中、 院后的一体化医疗服务模式,将医疗服务延伸至院后和家庭,使住院病人的院外康复和继续治疗能得到科学、专业、便捷的技术服务和指导,医院特制定出院病人随访制度如下,1:各科均要建立出院病人住院信息登记电子档案,内容应包括:姓名、年龄、单位、住址、联系电话,门诊诊断、住院治疗结果、出院诊断和随访情况等内容,填写人由病人本次住院期间的主管医师负责填写。2:所有出院后需院外继续治疗、康复和定期复诊的患者均在随访范围。3:随访方式包括电话随访、接受咨询、上门随诊、书信联系等,随访的内容包括:了解病人出院后的治疗效果、病情变化和恢复情况,指导病人如何用药、如何康复、 何时回院复诊、病情变化后的处置意见等专业技术性指导。4:随诊时间应根据病人病情和治疗需要而定,治疗用药副作用较大、病情复杂和危重的病人出院后应随时随访,一般需长期治疗的慢性病人或疾病恢复慢的病人出院2~4 周内应随访一次,此后至少三个月随访一次。5:负责随访的医务人员由相关科室的科主任、护士长和病人住院期间的主管医师负责。第一责任人为主管医师,随访情况由主管医师按要求填写在住院病人信息档案随访记录部分。并根据随访情况决定是否与上级医师、科主任一起随访。6:科主任应对住院医师的分管出院病人随访情况每月至少检查一次。对没有按要求进行随访的医务人员应进行督促。7:医务科、护理部应对各临床科室的出院病人信息登记和随访情况定期检查指导,并将检查情况向业务院长汇报及全院通报。8:各临床科室出院病人信息登记电子存档率要求达100%。每漏登记一人扣主管医师20个岗点,科室每月底统计总登记率低于90%时,每降低 1%,扣全科人员人均10 个岗点。急、危、疑难病人、慢性病病人、 需定期复诊的病人及病情康复较慢的病人随访率要求达到100%。每漏随访一人扣主管医师20 个岗点,科室每月底统计必须随访的病人随访率低于90%时,每降低 1%,扣全科人员人均10 个岗点。v1.0 可编辑可修改2 出院患者随访流程v1.0 可编辑可修改3 责任护士或主管医师进行第一次随访接通电话患者出院半个月内问候语询问其他需求帮助解答一站式服务中心询问病情康复、健康指导提醒复诊征求意见需长期治疗的慢性患者或疾病恢复慢的患者,确定下次随访时间、项目随访记录结束语

1、当您付费下载文档后,您只拥有了使用权限,并不意味着购买了版权,文档只能用于自身使用,不得用于其他商业用途(如 [转卖]进行直接盈利或[编辑后售卖]进行间接盈利)。
2、本站所有内容均由合作方或网友上传,本站不对文档的完整性、权威性及其观点立场正确性做任何保证或承诺!文档内容仅供研究参考,付费前请自行鉴别。
3、如文档内容存在违规,或者侵犯商业秘密、侵犯著作权等,请点击“违规举报”。

碎片内容

随访制度及流程

确认删除?
VIP
微信客服
  • 扫码咨询
会员Q群
  • 会员专属群点击这里加入QQ群
客服邮箱
回到顶部