电脑桌面
添加小米粒文库到电脑桌面
安装后可以在桌面快捷访问

牛头刨床机械原理课程设计3点和9点

牛头刨床机械原理课程设计3点和9点_第1页
1/17
牛头刨床机械原理课程设计3点和9点_第2页
2/17
牛头刨床机械原理课程设计3点和9点_第3页
3/17
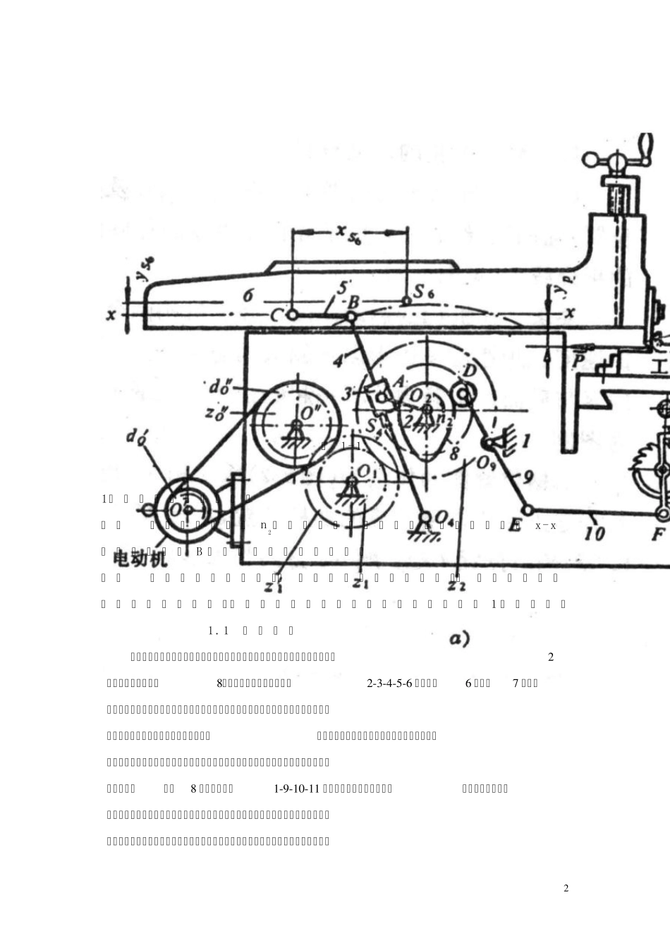
1 课 程 设 计 说 明 书 — 牛 头 刨 床 1. 机 构 简 介 牛 头 刨 床 是 一 种 用 于 平 面 切 削 加 工 的 机 床 。 电 动 机 经 皮 带 和 齿 轮 传 动 ,带 动 曲 柄2 和 固 结 在 其 上 的 凸 轮8。刨床 工 作 时 ,由 导 杆 机 构2-3-4-5-6带 动 刨 头6 和 刨 刀7 作 往 复 运 动 。 刨 头 右 行 时 , 刨 刀 进 行 切 削 , 称 工 作行 程 , 此 时 要 求 速 度 较 低 并 且 均 匀 , 以 减 少 电 动 机 容 量 和 提 高 切 削 质 量 ;刨 头 左 行 时 , 刨 刀 不 切 削 , 称 空 回 行 程 , 此 时 要 求 速 度 较 高 , 以 提 高 生产 率 。 为 此 刨 床 采 用 有 急 回 作 用 的 导 杆 机 构 。 刨 刀 每 次 削 完 一 次 , 利 用空 回 行 程 的 时 间 ,凸 轮8 通 过 四 杆 机 构1-9-10-11 与 棘 轮 带 动 螺 旋 机 构 ,使 工 作 台 连 同 工 件 作 一 次 进 给 运 动 , 以 便 刨 刀 继 续 切 削 。 刨 头 在 工 作 行程 中 , 受 到 很 大 的 切 削 阻 力 , 而 空 回 行 程 中 则 没 有 切 削 阻 力 。 因 此 刨 头在 整 个 运 动 循 环 中 , 受 力 变 化 是 很 大 的 , 这 就 影 响 了 主 轴 的 匀 速 运 转 ,故 需 安 装 飞 轮 来 减 少 主 轴 的 速 度 波 动 ,以提 高 切 削 质 量 和 减 少 电 动 机 容量 。 2 图1-1 1. 导 杆 机 构 的 运 动 分 析 已 知 曲 柄 每 分 钟 转 数n2, 各 构 件 尺 寸 及 重 心 位 置 , 且 刨 头 导 路x-x位 于 导 杆 端 点B 所 作 圆 弧 高 的 平 分 线 上 。 要 求 作 机 构 的 运 动 简 图 ,并作 机 构 两 个 位 置 的 速 度 、加速 度 多 边 形 以及 刨 头 的 运 动 线 图 。以 上 内 容 与 后 面 动 态 静 力 分 析 一 起 画 在1 号 图 纸 上 。 1.1 设 计 数 据 牛头刨床是一种用于平面切削加工的机床。电动机经皮带和齿轮传动,带动曲柄2和固结在其上的凸轮8 。刨床工作时,由导杆机构2 -3 -4 -5 -6 带...

1、当您付费下载文档后,您只拥有了使用权限,并不意味着购买了版权,文档只能用于自身使用,不得用于其他商业用途(如 [转卖]进行直接盈利或[编辑后售卖]进行间接盈利)。
2、本站所有内容均由合作方或网友上传,本站不对文档的完整性、权威性及其观点立场正确性做任何保证或承诺!文档内容仅供研究参考,付费前请自行鉴别。
3、如文档内容存在违规,或者侵犯商业秘密、侵犯著作权等,请点击“违规举报”。

碎片内容

牛头刨床机械原理课程设计3点和9点

您可能关注的文档

确认删除?
VIP
微信客服
  • 扫码咨询
会员Q群
  • 会员专属群点击这里加入QQ群
客服邮箱
回到顶部