电脑桌面
添加小米粒文库到电脑桌面
安装后可以在桌面快捷访问

医务科资料大全

医务科资料大全_第1页
1/20
医务科资料大全_第2页
2/20
医务科资料大全_第3页
3/20
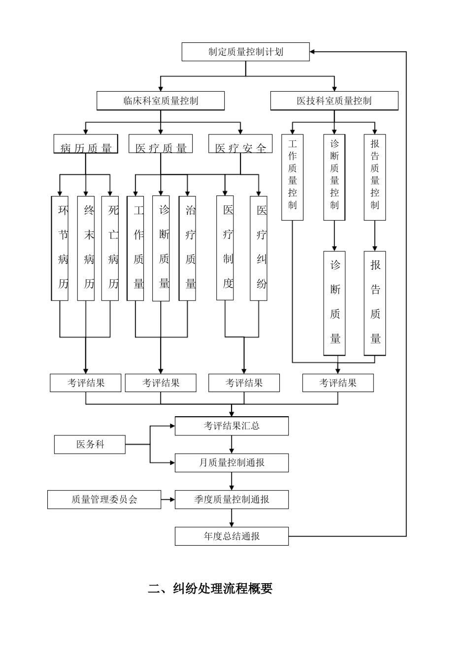
最新医务科资料大全医务科工作制度1.在院长、副院长领导下,对全院医疗工作和医疗行政工作实施管理。协调全院各专业科室正常地进行医疗业务工作,保证科室间工作紧密联系、密切配合,对病人实施完善的医疗服务,办理日常的医疗事务。2.组织实施卫生支农及临时性院外医疗任务。3.制订、修改院内与医疗相关的制度、指标和文件。负责发布医院医疗业务的有关通告、通知。配合有关部门修改和制定业务技术指标和考核评定方案。4.制定医院医疗工作总体计划,经批准后组织实施、督促检查、并总结汇报。5.深入科室、了解情况。经督促、检查医疗工作制度、医疗技术操作规程和医疗、医技人员工作职责的贯彻执行情况。6.组织重大抢救和公共卫生突发事件及院内外会诊。7.组织和协调医疗投诉、医疗纠纷的处理,重大事故、纠纷应及时采取有效措施,并上报医院和卫生行政主管部门。工作制度流程一、日常医疗事务督查内容晨 会 交有危重病人:了解危重病人姓名、性别、年龄、了解全院病人总数、危重病人分布及病情、急诊查单位、病因、生命体征、检查结果、治疗措施、日常检查内容:交接班记录本记录是否完善、科信息反馈将检查了解的室值班表排班是否合理(坚决杜绝无照医师值按照各科室上报的科主任查房日期,安排查房时跟踪查病例讨不定期参加科室的疑难、危重、死亡病例讨论,每 月 总总结一月内参加的病例讨论数量、内容、发现的问题及整改结果;二、医程图疗质量控制流制定质量控制计划临床科室质量控制医技科室质量控制病 历 质 量医 疗 质 量医 疗 安 全环节病历终末病历死亡病历工作质量诊断质量治疗质量医疗制度医疗纠纷工作质量控制诊断质量控制报告质量控制诊断质量报告质量考评结果考评结果考评结果考评结果考评结果汇总医务科月质量控制通报质量管理委员会季度质量控制通报年度总结通报二、纠纷处理流程概要投诉一 般 服 务纠纷产生做 好 调协 商 解技 术 鉴法 律 诉构不胜败成是诉诉联系依医疗质量管理委员会公布、提出整改据裁1、纠纷处理流发 生 医 疗立即保全病历、药品、注射和/或输液残留物等证据;患者死亡的,应告知家属进行尸体解剖,医务科接待,了解患方详细情况,包括姓名、立即报告医性别、年龄、投诉人与患者关系、电话号码、向相关人员调查、核实事件全部经过,明确矛调 查 事 件盾焦点,搜集证据材料。涉及患者死亡的重大组织召开医疗质量管理委员会讨论,对事件进汇报主管院程图医 患 沟与患方谈话...

1、当您付费下载文档后,您只拥有了使用权限,并不意味着购买了版权,文档只能用于自身使用,不得用于其他商业用途(如 [转卖]进行直接盈利或[编辑后售卖]进行间接盈利)。
2、本站所有内容均由合作方或网友上传,本站不对文档的完整性、权威性及其观点立场正确性做任何保证或承诺!文档内容仅供研究参考,付费前请自行鉴别。
3、如文档内容存在违规,或者侵犯商业秘密、侵犯著作权等,请点击“违规举报”。

碎片内容

医务科资料大全

确认删除?
VIP
微信客服
  • 扫码咨询
会员Q群
  • 会员专属群点击这里加入QQ群
客服邮箱
回到顶部