电脑桌面
添加小米粒文库到电脑桌面
安装后可以在桌面快捷访问

D12532型筒式柴油打桩锤

D12532型筒式柴油打桩锤_第1页
1/29
D12532型筒式柴油打桩锤_第2页
2/29
D12532型筒式柴油打桩锤_第3页
3/29
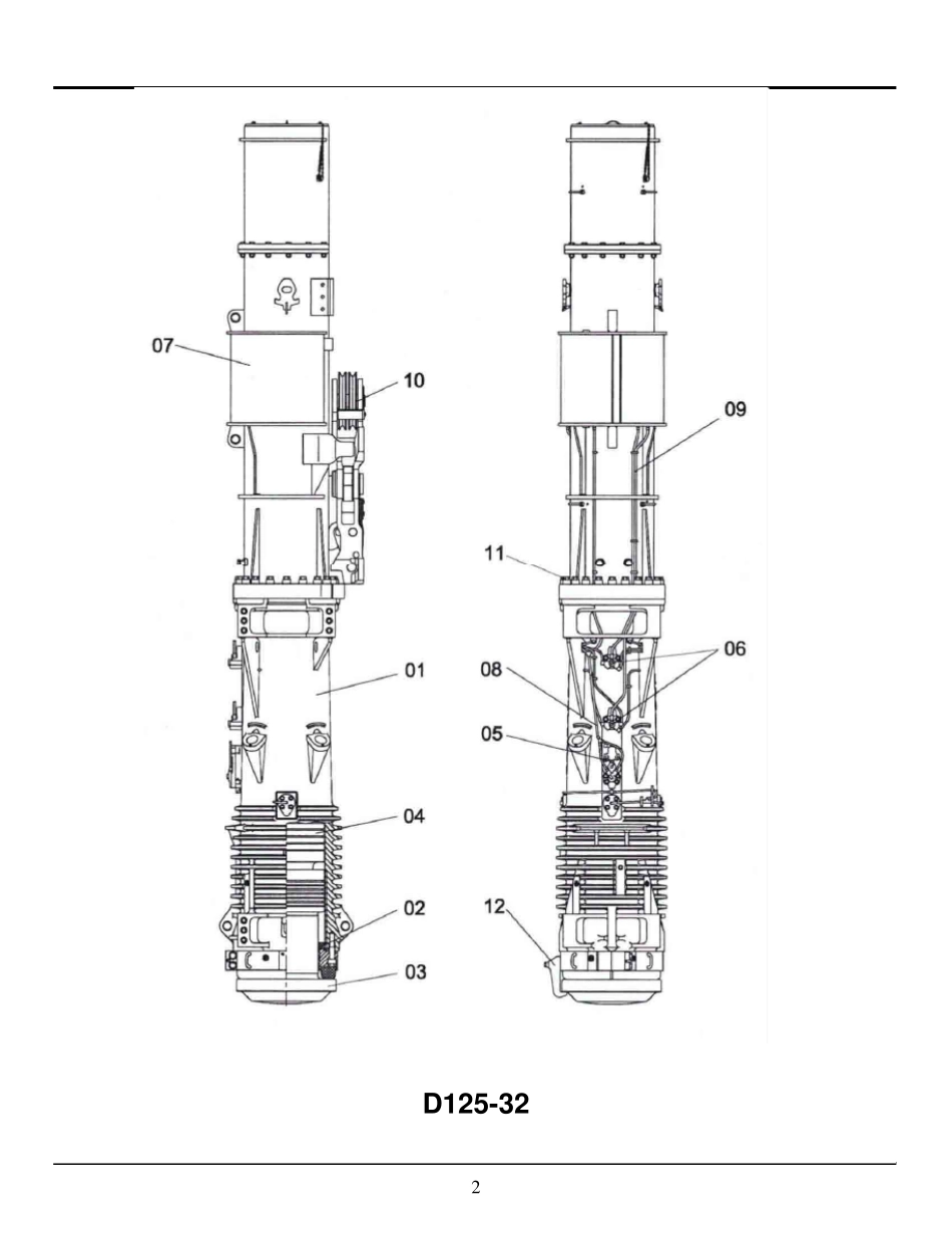
无锡信仁通用机械有限公司 Wuxi Xinren Universal Machinery Co.,Ltd 零件目录 Spare parts list D125-32 型 筒式柴油打桩锤 Diesel pile hammer D125-32 D 125-32 2 序号 图 号 名 称 数 量 编 号No. Parts - no. Description Q,ty Order-no.— DH125.00 D125-32 筒式柴油打桩锤Diesel pile hammer D125-32 1 1 DH125.01.00 下汽缸总成 cylinder lower part complete 1 (见第4 页) page 4 2 DH125.00-1 内缓冲垫 inner damping ring 1 3 DH125.02.00 下活塞总成 impact block complete 1 (见第6 页) page 6 4 DH125.03.00 上活塞总成 striking weight(piston)complete 1 (见第6 页) page 6 5 DH125.04.00 燃油喷射系统 fuel injection device 1 (见第8 页) page 8 6 DH62.05.00 润滑油泵总成 lube pump complete 2 108325 (见第14 页) page 14 7 DH125.06.00 上汽缸总成 cylinder upper part complete 1 (见第16 页) page 16 8 DH125.07.00 燃油管系统 fuel line/breather line complete 1 (见第18 页) page 18 9 DH125.08.00 润滑油管系统 lube line with connecting parts 1 (见第20 页) complete page20 10 DH125.09.00 起落架总成 trip gear complete 1 (见第22 页) page 22 11 DH125.10.00 紧固件总成 set of connecting parts 1 (见第24 页) page 24 12 DH125.11.00 运输保护装置 transport protection kit complete 1 (见第26 页) page 26 13 导向板(图中不显示) guide parts for hammer on request 4 14 导向块(图中不显示) gibes parts for trip gear on request 4 15 DH125.14.00 工具箱及附件 tool box complete 1 (见第28 页) page 28 3 D H 125.01.00 4 序号 图 号 名 称 数 量编 号No. Parts - no. Description Q,tyOrder-no.— DH125.01.00 下汽缸总成 cylinder lower part complete 1 1 DH125.01.00-1 外缓冲垫 rubber ring 1 2 JB1000-77 螺塞 M18×1.5 plug screw M18×1.5 2 91460 3 DH46.01.00-2 垫圈 sealing ring 2 90002 4 DH46.01.02-2 异径接头 reducer 9 22592 5 DH46.01.02.02 平头加油咀 M10×1 grease nipple M10...

1、当您付费下载文档后,您只拥有了使用权限,并不意味着购买了版权,文档只能用于自身使用,不得用于其他商业用途(如 [转卖]进行直接盈利或[编辑后售卖]进行间接盈利)。
2、本站所有内容均由合作方或网友上传,本站不对文档的完整性、权威性及其观点立场正确性做任何保证或承诺!文档内容仅供研究参考,付费前请自行鉴别。
3、如文档内容存在违规,或者侵犯商业秘密、侵犯著作权等,请点击“违规举报”。

碎片内容

D12532型筒式柴油打桩锤

确认删除?
VIP
微信客服
  • 扫码咨询
会员Q群
  • 会员专属群点击这里加入QQ群
客服邮箱
回到顶部