电脑桌面
添加小米粒文库到电脑桌面
安装后可以在桌面快捷访问

医院管理流程图解

医院管理流程图解_第1页
1/30
医院管理流程图解_第2页
2/30
医院管理流程图解_第3页
3/30
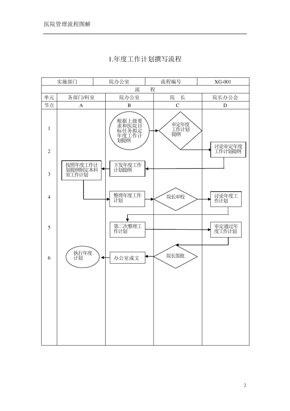
目 录 第一章 行政管理流程................................................................................................................... 1 1 .年度工作计划撰写流程 ................................................................................................................ 2 2 .院办公会议管理流程 .................................................................................................................... 3 3 .接待工作流程 ................................................................................................................................ 4 4 .院长接待日流程 ............................................................................................................................ 5 5 .院长行政查房流程 ........................................................................................................................ 6 6 .领导干部深入科室工作流程 ........................................................................................................ 7 7 .医院大事记工作流程 .................................................................................................................... 8 8 .总值班工作流程 ............................................................................................................................ 9 9 .请示报告流程 .............................................................................................................................. 1 0 1 0 .工作总结流程 ............................................................................................................................ 1 2 1 1 .广告新闻宣传流程 .................................................................................................................... 1 3 1 2 .标识系统管理流程 .................................................................................................................... 1 4 1 3 .公章使用流程 ............................................................

1、当您付费下载文档后,您只拥有了使用权限,并不意味着购买了版权,文档只能用于自身使用,不得用于其他商业用途(如 [转卖]进行直接盈利或[编辑后售卖]进行间接盈利)。
2、本站所有内容均由合作方或网友上传,本站不对文档的完整性、权威性及其观点立场正确性做任何保证或承诺!文档内容仅供研究参考,付费前请自行鉴别。
3、如文档内容存在违规,或者侵犯商业秘密、侵犯著作权等,请点击“违规举报”。

碎片内容

医院管理流程图解

确认删除?
VIP
微信客服
  • 扫码咨询
会员Q群
  • 会员专属群点击这里加入QQ群
客服邮箱
回到顶部