电脑桌面
添加小米粒文库到电脑桌面
安装后可以在桌面快捷访问

专利撰写模板(五书)

专利撰写模板(五书)_第1页
1/13
专利撰写模板(五书)_第2页
2/13
专利撰写模板(五书)_第3页
3/13
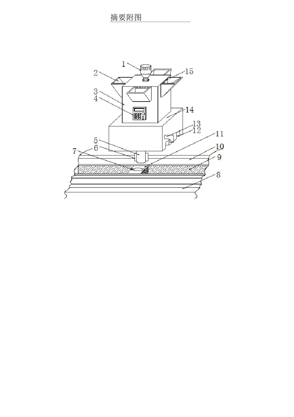
1说明书摘要本实用新型公开了一种化妆品容器制作原料共混搅拌机,包括预混料箱和设置于预混料箱底部的搅拌箱,且预混料箱和搅拌箱为一体式结构,预混料箱上端的四个侧壁均焊接有进料滑槽,顶端安装有电机,内部设置有内部中空的第一旋转轴,第一旋转轴的上端外壁套接有顶部密封的套筒,该搅拌机,由于第一旋转轴的转动,可预先对原料进行混料初步搅拌,四个进料滑槽的设置,能够同时或是不同步导入原料,提高了进料速度,通过第二旋转轴、滑轨、凹槽、凸块、固定块、卡块和固定孔,可以实现搅拌箱在生产线上滑动或是转动,而且实现了转动接料,通过第一旋转轴、套筒、刮料板、套杆和液压杆,可以对预混料箱内壁的残留原料进行刮擦,避免资源浪费。摘要附图1权利要求书1.一种化妆品容器制作原料共混搅拌机,包括预混料箱(3)和设置于所述预混料箱(3)底部的搅拌箱(14),且预混料箱(3)和所述搅拌箱(14)为一体式结构,其特征在于:所述预混料箱(3)上端的四个侧壁均焊接有进料滑槽(2),顶端安装有电机(1),内部设置有内部中空的第一旋转轴(23),所述第一旋转轴(23)的上端外壁套接有顶部密封的套筒(24),所述套筒(24)的底部连接刮料板(25),且套筒(24)的内部连接套杆(16),所述套筒(24)的外壁包裹有橡胶套(20),所述刮料板(25)的顶部表面设置有减震垫(21),所述套杆(16)的底部连接液压杆(32),所述液压杆(32)的底端焊接有支撑隔板(22),所述第一旋转轴(23)贯穿所述预混料箱(3)和所述搅拌箱(14),所述第一旋转轴(23)的下端外壁均匀设置有搅拌叶片(18),所述搅拌箱(14)的底部对称设置有两个滑槽(12),两个所述滑槽(12)之间设置有第二旋转轴(5),所述第二旋转轴(5)的两个侧壁均设置有卡块(6),所述搅拌箱(14)的下方设置有滑轨(8),所述滑轨(8)的顶端表面对称设置有凸块(10),且凸块(10)和所述滑槽(12)配合使用,两个凸块(10)之间设置有凹槽(9),且凹槽(9)内安有固定块(11),所述固定块(11)的顶端嵌入设置有固定孔(7),所述第二旋转轴(5)和所述固定孔(7)配合使用,所述第一旋转轴(23)的内壁设置有加热腔(17),所述预混料箱(3)和所述搅拌箱(14)的内部连接处设置有第一电控板(26)和第二电控板(27),且第一电控板(26)和所述第二电控板(27)均活动连接在所述预混料箱(3)的侧壁,所述第一电控板(26)和所述第二电控板(27)的边缘处设置有半...

1、当您付费下载文档后,您只拥有了使用权限,并不意味着购买了版权,文档只能用于自身使用,不得用于其他商业用途(如 [转卖]进行直接盈利或[编辑后售卖]进行间接盈利)。
2、本站所有内容均由合作方或网友上传,本站不对文档的完整性、权威性及其观点立场正确性做任何保证或承诺!文档内容仅供研究参考,付费前请自行鉴别。
3、如文档内容存在违规,或者侵犯商业秘密、侵犯著作权等,请点击“违规举报”。

碎片内容

专利撰写模板(五书)

您可能关注的文档

确认删除?
VIP
微信客服
  • 扫码咨询
会员Q群
  • 会员专属群点击这里加入QQ群
客服邮箱
回到顶部