电脑桌面
添加小米粒文库到电脑桌面
安装后可以在桌面快捷访问

急诊急救流程

急诊急救流程_第1页
1/30
急诊急救流程_第2页
2/30
急诊急救流程_第3页
3/30
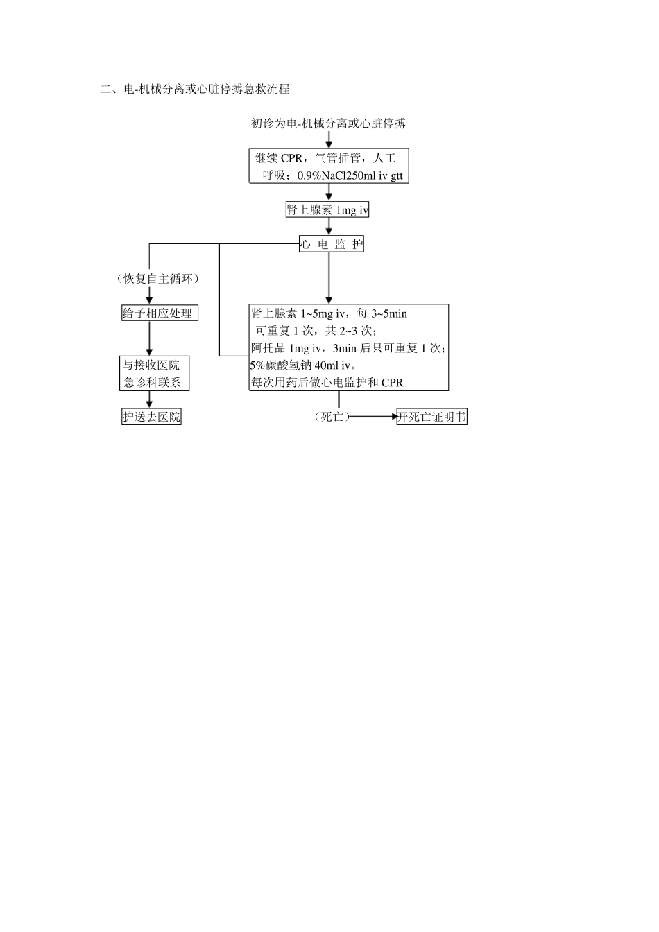
一、诊断治疗总急救流程 伤病员 判断有无意识 (意识存在) (意识丧失) 开放气道 判断有无呼吸 (有呼吸) (无呼吸) 立即人工呼吸 2 次 判断有无颈动脉搏动 病史、体检、 (有搏动 ) (无搏动) 心电图检查 立即 CPR 初步诊断为何种症状 再进入相应项目处理 心电图 (直线) (无搏动心电活动) (心室颤动) 二、电-机械分离或心脏停搏急救流程 初诊为电-机械分离或心脏停搏 继续 CPR,气管插管,人工 呼吸;0.9%NaCl250ml iv gtt 肾上腺素 1mg iv 心 电 监 护 (恢复自主循环) 给予相应处理 肾上腺素 1~5mg iv,每 3~5min 可重复 1 次,共 2~3 次; 阿托品 1mg iv,3min 后只可重复 1 次; 与接收医院 5%碳酸氢钠 40ml iv。 急诊科联系 每次用药后做心电监护和 CPR 护送去医院 (死亡) 开死亡证明书 三、心室颤动急救流程 初诊为心室颤动 (无除颤器) (有除颤器) 胸前区叩击 连续心脏除颤 3 次,分别用 200、300、360 J (无脉搏心电活动、心脏停搏、心室颤动) (恢复自主循环) 继续 CPR,气管插管,人工呼吸; 按相应项 0.9% NaCl 250ml iv gtt,开放静脉 目处理 通道 肾上腺素 1mg iv 心电监护,心脏除颤 3 次(200、300、360J) 肾上腺素 1~5 mg iv , 每 3~5 min 重复 1 次, 共 2~3 次; 利多卡因 50 ml iv,3~5 min 后可重复 1 次; 25%硫酸镁 4 ml iv ,可重复 1 次; 5%碳酸氢钠 40 ml iv。 每次用药后做心电监护、心脏除颤(用 300J 或 360J )及 CPR (死亡) 开死亡证明书 四、复苏后监护急救流程 恢复自主循环 吸氧6~8L/min,保持气道通畅, 维持有效人工呼吸;头部冷敷; 头部抬高30°,不侧弯 选用: 多巴胺 40mg 加入补液中, iv gtt; 去甲肾上腺素 1mg 加入补液中,iv gtt ; 洛贝林 3~15 mg iv ; 尼可刹米(可拉明)0.375~1.77 g,iv ; 纳洛酮 0.4~0.8 mg iv ; 利多卡因 50 mg iv ; 25%硫酸镁 4 ml iv ; 阿托品 0.5 mg iv ; 地塞米松 10 mg iv 。 (心脏停搏) (维持自主循环) 进入相应程序 与接收医院急诊科联系 护送去医院 五、缓慢性心律失常急救流程 初诊为缓慢性心律失常(心率<50 次/min ) (无明显异常症状、体征) (有明显异常症状、体征) 氧气吸入 氧气吸入; 0.9% NaCl 250 ml iv g...

1、当您付费下载文档后,您只拥有了使用权限,并不意味着购买了版权,文档只能用于自身使用,不得用于其他商业用途(如 [转卖]进行直接盈利或[编辑后售卖]进行间接盈利)。
2、本站所有内容均由合作方或网友上传,本站不对文档的完整性、权威性及其观点立场正确性做任何保证或承诺!文档内容仅供研究参考,付费前请自行鉴别。
3、如文档内容存在违规,或者侵犯商业秘密、侵犯著作权等,请点击“违规举报”。

碎片内容

急诊急救流程

确认删除?
VIP
微信客服
  • 扫码咨询
会员Q群
  • 会员专属群点击这里加入QQ群
客服邮箱
回到顶部