电脑桌面
添加小米粒文库到电脑桌面
安装后可以在桌面快捷访问

电大机械本科机电控制与可编程控制器技术分析复习题2012

电大机械本科机电控制与可编程控制器技术分析复习题2012_第1页
1/6
电大机械本科机电控制与可编程控制器技术分析复习题2012_第2页
2/6
电大机械本科机电控制与可编程控制器技术分析复习题2012_第3页
3/6
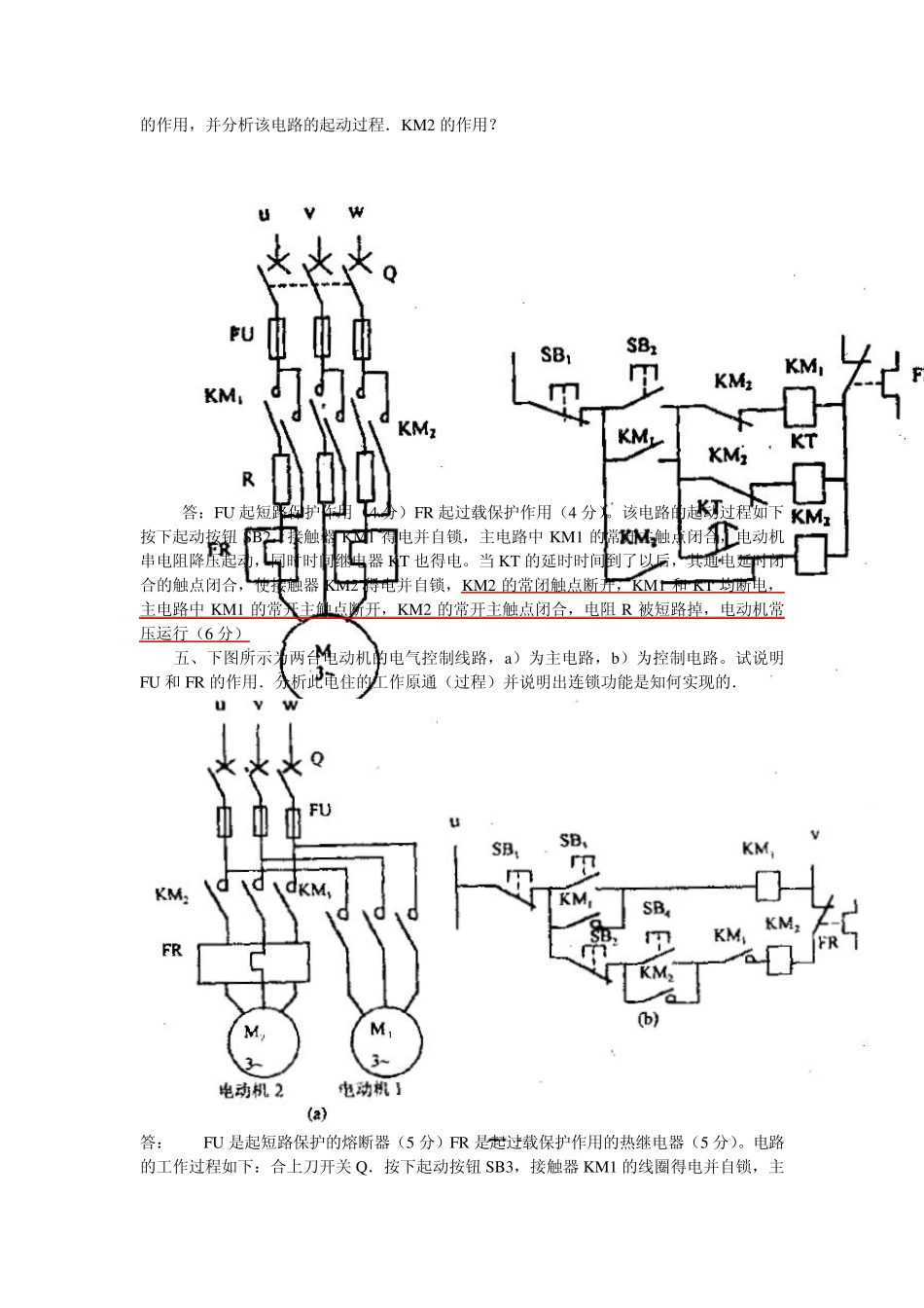
三、读图分析: 一、图为单向起动反接制动控制线路。此电路采用速度继电器来检测电动机转速的变化。在 120~3000rpm。范围内速度继电器触头动作,当转速低于 100 rpm 时;其触头复位、图中 KM1 为单向旋转接触器,KM2 为反接制动接触器,KS 为速度继电器,R 为反接电阻、试分析该线路的工作过程. 答:起动时按下 SB2,KM1 通电并自锁,电动机运转,当转速上升到 120rPm 以上时,速度继电器 KS 的常开触头闭合,为反接制动做准备.当按下停止复合按钮时,SB1 常闭触点先断开,KM1 断电,电动机脱离电源,靠惯性继续高速旋转,KS 常开触头仍闭合. 当 SB1 常开闭合后,KM2 通电井自锁,电动机串接电阻接反相序电源.电动机进人反接制动状态,转速迅速下降.当电动机转速降到低于 100rPm 时,速度继电器 KS 的常开触点复位,KM 2 断电,反接制动结束.电动机脱离电源后自然停车。 二、如图所示为 Y 一∆降压起动控制线路,试分析其工作过程,并说明 KMY 与 KM∆的常闭触点的作用。 答: KMY 与KM∆的常闭触点是保证接触器KMY 与KM∆不会同时通电,以防电源短路(3分).KM∆的常闭触点同时也使时间继电器KT 断电(起动后不需要KT 得电)(3 分)。 三、下图所示为异步电动机的能耗制动控制线路,试分析该电路的工作过程 答:按下启动按钮 SB2-->接触器KM1 通电并自锁,主电路中的常开触点闭合,电动机启动。 答案(4 分) 四、 下图所示为三相鼠箱式异步电动机串电阻起动控制线路,说明电路中 FU 和 FR的作用,并分析该电路的起动过程.KM2 的作用? 答:FU 起短路保护作用(4 分)FR 起过载保护作用(4 分)。该电路的起动过程如下按下起动按钮SB2,接触器KM1 得电并自锁,主电路中KM1 的常开主触点闭合,电动机串电阻降压起动,同时时间继电器KT 也得电。当KT 的延时时间到了以后,其通电延时闭合的触点闭合,使接触器KM2 得电并自锁,KM2 的常闭触点断开,KM1 和KT 均断电,主电路中KM1 的常开主触点断开,KM2 的常开主触点闭合,电阻R 被短路掉,电动机常压运行(6 分) 五、下图所示为两台电动机的电气控制线路,a)为主电路,b)为控制电路。试说明FU 和FR 的作用.分析此电住的工作原通(过程)并说明出连锁功能是知何实现的. 答: FU 是起短路保护的熔断器(5 分)FR 是起过载保护作用的热继电器(5 分)。电路的工作过程如下:合上刀开关 Q.按下起动...

1、当您付费下载文档后,您只拥有了使用权限,并不意味着购买了版权,文档只能用于自身使用,不得用于其他商业用途(如 [转卖]进行直接盈利或[编辑后售卖]进行间接盈利)。
2、本站所有内容均由合作方或网友上传,本站不对文档的完整性、权威性及其观点立场正确性做任何保证或承诺!文档内容仅供研究参考,付费前请自行鉴别。
3、如文档内容存在违规,或者侵犯商业秘密、侵犯著作权等,请点击“违规举报”。

碎片内容

电大机械本科机电控制与可编程控制器技术分析复习题2012

您可能关注的文档

小辰2+ 关注
实名认证
内容提供者

出售各种资料和文档

相关文档

确认删除?
VIP
微信客服
  • 扫码咨询
会员Q群
  • 会员专属群点击这里加入QQ群
客服邮箱
回到顶部