电脑桌面
添加小米粒文库到电脑桌面
安装后可以在桌面快捷访问

招标代理机构服务方案

招标代理机构服务方案_第1页
1/15
招标代理机构服务方案_第2页
2/15
招标代理机构服务方案_第3页
3/15
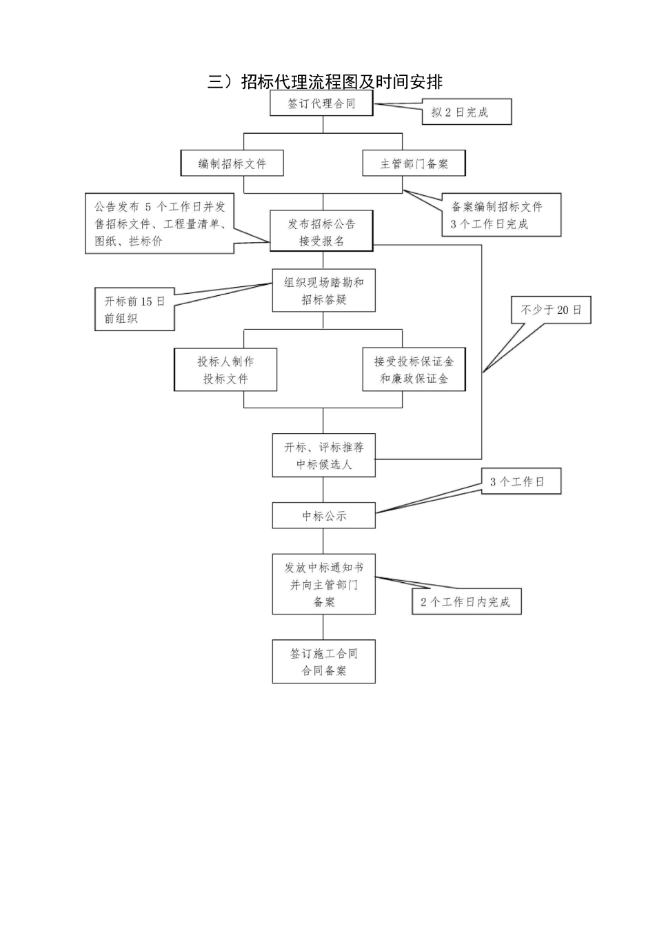
服务方案(一)概况对于该项目的代理工作我公司领导给予高度重视,为全面完成业主方招标代理工作,为招标人挑选即经济又有实力的中标人,我公司针对进行了认真的组织和准备,挑选了专业齐全、学历、职称、年龄结构合理并具有丰富经验和强烈服务意识、熟悉相关业务人员组成专项业小组,负责本项目招标代理工作,并针对该项目的特点编制各类文件,依法实施招标组织活动,确保本项目顺利进行。我公司在实施代理活动中,认真领会低投入、高产出的办事原则,维护业主方的利益,真实反映项目具体特点、管理模式,为招标人提供更详细、更全面的建议和意见,提供专业工程咨询和代理服务,对潜在风险提出防范建议,制定在代理工作中的质量保证措施并做出服务承诺。我公司切实做到在整个招标服务过程中,认真贯彻《招标投标法》,贯彻落实及有关部门的政策、法规,严格遵循“公开、公平、公正、诚实信用”原则,维护了招标单位的利益,同时也维护了各投标单位的合法权益。我们的工作不仅得到各业主单位的好评,也得到广大投标单位的信任,至今我公司在招标代理工作中仍保持零投诉。(二)招标流程根据,工作流程如下:1、与招标人签订《招标代理合同》并指定双方联系人员、方式、电话、传真等。2、招标人提供本项目的立项批复、项目的详细情况(资金、施工图纸、技术标准、拦标价、工程量清单等),我公司负责拟定投标人的资格认定、编制招标文件、制定招标工作时间安排,同时向建设行政主管部门提交备案申请。3、招标文件、工作时间由招标人审查完成后,根据建设行政主管部门的要求在指定媒体公开发布招标公告。4、报名结束后组织投标人踏勘现场,接受投标人在踏勘结束后结合项目的招标文件、施工图纸、工程量清单、拦标价提出的疑问并统一进行解答(在开标前15 日内完成)。5、接受投标人的投标保证金和廉政保证金,并详细核对投标人投标保证金和廉政保证金的缴纳情况。检查是否有同一账户提交多家投标保证金和廉政保证金的情况并及时向招标人和建设行政主管部门汇报。6、组织开标、评标。根据规定,现场从政府设立的评标专家库随机抽取评标专家。评标采用资格后审、经评审最低投标价法选定中标候选人,并向招标人推荐前三名为中标后选人。评标结束后在上发布中标公示,公示期满即向中标人发出中标通知书,以便招标人和中标人签订施工合同。向建设行政主管部门提交招标情况报告书完成备案工作,向招标人移交本次招标项目的所有资料。三)招标代理流程图及时...

1、当您付费下载文档后,您只拥有了使用权限,并不意味着购买了版权,文档只能用于自身使用,不得用于其他商业用途(如 [转卖]进行直接盈利或[编辑后售卖]进行间接盈利)。
2、本站所有内容均由合作方或网友上传,本站不对文档的完整性、权威性及其观点立场正确性做任何保证或承诺!文档内容仅供研究参考,付费前请自行鉴别。
3、如文档内容存在违规,或者侵犯商业秘密、侵犯著作权等,请点击“违规举报”。

碎片内容

招标代理机构服务方案

wxg+ 关注
实名认证
内容提供者

该用户很懒,什么也没介绍

确认删除?
VIP
微信客服
  • 扫码咨询
会员Q群
  • 会员专属群点击这里加入QQ群
客服邮箱
回到顶部