电脑桌面
添加小米粒文库到电脑桌面
安装后可以在桌面快捷访问

进出口货物报关管理工作流程

进出口货物报关管理工作流程_第1页
1/1
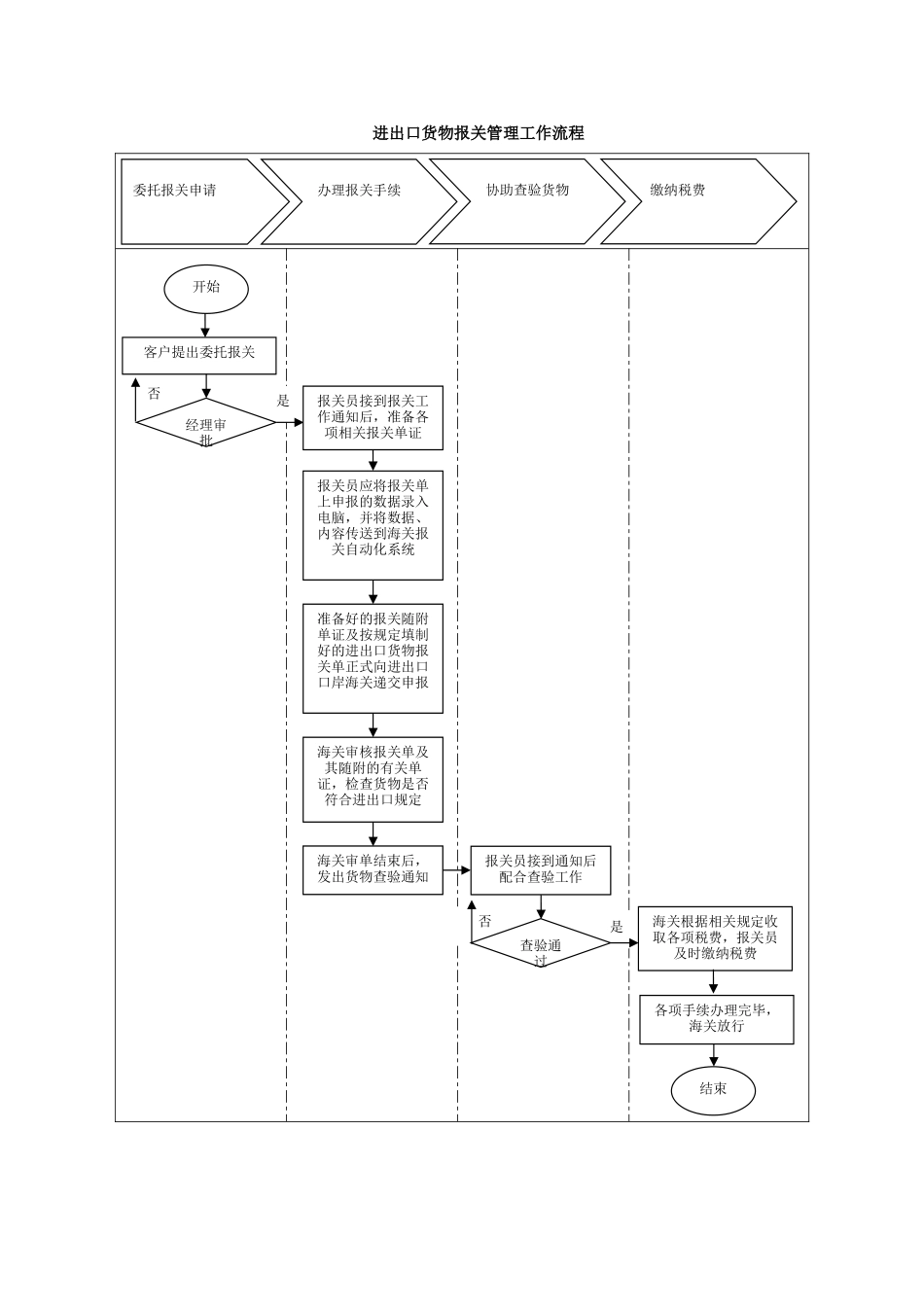
进出口货物报关管理工作流程委托报关申请 办理报关手续 协助查验货物 缴纳税费是否是否开始客户提出委托报关查验通过结束各项手续办理完毕,海关放行经理审批报关员接到报关工作通知后,准备各项相关报关单证报关员应将报关单上申报的数据录入电脑,并将数据、内容传送到海关报关自动化系统准备好的报关随附单证及按规定填制好的进出口货物报关单正式向进出口口岸海关递交申报海关审核报关单及其随附的有关单证,检查货物是否符合进出口规定海关审单结束后,发出货物查验通知报关员接到通知后配合查验工作海关根据相关规定收取各项税费,报关员及时缴纳税费

1、当您付费下载文档后,您只拥有了使用权限,并不意味着购买了版权,文档只能用于自身使用,不得用于其他商业用途(如 [转卖]进行直接盈利或[编辑后售卖]进行间接盈利)。
2、本站所有内容均由合作方或网友上传,本站不对文档的完整性、权威性及其观点立场正确性做任何保证或承诺!文档内容仅供研究参考,付费前请自行鉴别。
3、如文档内容存在违规,或者侵犯商业秘密、侵犯著作权等,请点击“违规举报”。

碎片内容

进出口货物报关管理工作流程

一二三四传媒+ 关注
实名认证
内容提供者

大量资料供您选择,没有合适的可以联系小二。

确认删除?
VIP
微信客服
  • 扫码咨询
会员Q群
  • 会员专属群点击这里加入QQ群
客服邮箱
回到顶部