电脑桌面
添加小米粒文库到电脑桌面
安装后可以在桌面快捷访问

工厂产品质量跟踪与客户投诉流程

工厂产品质量跟踪与客户投诉流程_第1页
1/3
工厂产品质量跟踪与客户投诉流程_第2页
2/3
工厂产品质量跟踪与客户投诉流程_第3页
3/3
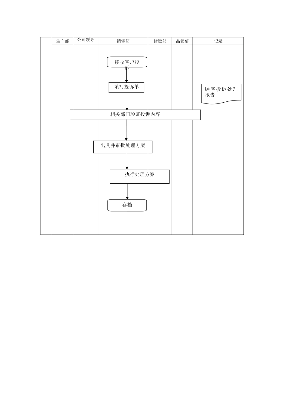
工厂产品质量跟踪与客户投诉流程1.目的产品质量跟踪,目的是为了保证产品质量,满足客户要求,与客户有效沟通,确保产品能够满足客户要求。2。范围包括客户要求的质量识别与确定、客户投诉处理与客户满意度的监测等与客户有关的过程。3。定义即本公司现有库存的产品和现有生产技术能力能够完成的产品所签订的合同的所有产品质量及客户投诉及质量跟踪.4。职责4。1 销售部负责组织与产品质量有关的要求的识别与确定、客户投诉的的收集与反馈和客户满意度调查.4。2 品管部、储运部、生产部等相关部门对顾客的产品质量投诉内容进行验证,并出具处理意见.5. 工作程序5.1 客户要求的产品质量识别与确认5. 1.1 收到品管部送来的公司产品样本,销售业务员通过邮寄或登门访问的形式把样本送至顾客手中。5。1。1。2 业务员与客户电话沟通,明确顾客对该批产品质量的认可度,并进一步明确顾客对所需产品质量的具体要求,包括:a)顾客规定的产品质量要求,包括对产品交付及交付后活动的要求b)顾客虽然没有规定,但是产品本身应规定的或预期使用所必需的质量要求;c)与产品质量有关的义务,包括法律和法规的要求;5。1.3 客户对所提产品的质量有任何异议,按《客户投诉处理控制程序》处理。5。2 客户对产品质量的控制处理5.2.1 调查投诉的质量事件5.2。1。3 有关部门对客户所投诉内容进行核实:a。品管部能即时证明客户所投诉内容属实的,则出具《化验单》等证明资料。b.品管部不能即时证明客户所投诉内容是否属实的,则派一名化验员去现场取样化验.结果符合则出具有关证明;结果不符合则由销售部业务员协调,送抽检样品到双方都承认的第三方仲裁机构检验,由第三方出具检验结果证明单。c。化验员把核实结果在《客户投诉处理报告》中的“验证部门处理意见”栏如实反映,经品管部主管签字盖章后,由生产部经理在《客户投诉处理报告》中的“生产部处理意见”栏批注意见,连同有关《化验单》等证明资料一齐回传至销售部。5.2。1.4 投诉产品运送亏载问题的:a.客户投诉自提亏载的,地磅房出证我司地磅是否符合国家检验标准,在《客户投诉处理报告》中的“验证部门处理意见"栏如实反映,由地磅主管签字回传至销售部。b.由于配送而亏载的,储运部与销售部业务员了解配送过程的任何过磅环节,实地取证。c。生产部根据当时的气候环境、产品吸湿性等状况,对产品亏载原因向储运部提出部分解释,交由储运部处理。d.储运部把取证结果在《客户投诉处理报告》中的“验证部门处...

1、当您付费下载文档后,您只拥有了使用权限,并不意味着购买了版权,文档只能用于自身使用,不得用于其他商业用途(如 [转卖]进行直接盈利或[编辑后售卖]进行间接盈利)。
2、本站所有内容均由合作方或网友上传,本站不对文档的完整性、权威性及其观点立场正确性做任何保证或承诺!文档内容仅供研究参考,付费前请自行鉴别。
3、如文档内容存在违规,或者侵犯商业秘密、侵犯著作权等,请点击“违规举报”。

碎片内容

工厂产品质量跟踪与客户投诉流程

确认删除?
VIP
微信客服
  • 扫码咨询
会员Q群
  • 会员专属群点击这里加入QQ群
客服邮箱
回到顶部