电脑桌面
添加小米粒文库到电脑桌面
安装后可以在桌面快捷访问

离职流程手续全套资料全

离职流程手续全套资料全_第1页
1/16
离职流程手续全套资料全_第2页
2/16
离职流程手续全套资料全_第3页
3/16
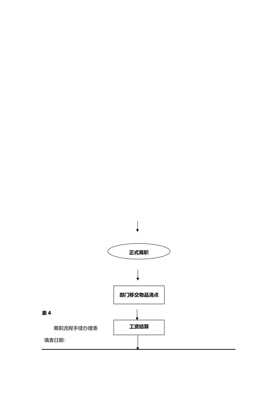
离职流程手离职流程手续续办 理办 理 表表蓝海影业集团公司离职流程图员工提出书面申请部门填写员工离职呈报表部门经理签署HR 经理签署是否主管级以上?N分管副总签署Y离职生效日办理手续表 4离职流程手续办理表填表日期:部门移交物品清点工资结算正式离职员工编号所属部门职务部门主管离职类型辞职入职日期离职日期交接情况部门经理:□工作交接□文档资料□办公书籍□其他工具□设备/物品□收回所有业务账号□其他签字:日期:技术部门:□删除工作账号□回收 IP□回收电子□回收机器设备并入库□其他签字:日期:行政部门:□收回门卡□收回工作证□收回员工手册□收回宿舍/钥匙□其他签字:日期:交接后事宜财 务 部□薪资结算□清算借款□其他经办人签字:日期:人力资源部□人事档案更新□离职公告□其他经办人签字:日期: 本人(签字):离职申请书尊敬的公司领导:您好!首先感您在百忙之中抽出时间阅读我的辞职信。我是怀着十分复杂的心情写这封辞职信的。自我进入公司之后,由于您对我的关怀、指导和信任,使我获得了很多机遇和挑战.由于自身存在很多尚不完善的地方,想通过继续学习来进一步加强自己的能力。为了不因为我个人原因而影响公司的工作,决定辞去目前的工作。我知道这个过程会给公司带来一定程度上的不便,对此我深表歉意。非常感公司在这段时间里对我的教导和照顾。这段经历于我而言非常宝贵。我确信这段工作经历将是我整个职业生涯进展中相当重要的一部分。祝公司领导和所有同事身体健康、工作顺利!再次对我的离职给公司带来的不便表示歉意,同时我也希望公司能够理解我的实际情况,对我的申请予以考虑并批准。此致敬礼 申请人:年月日离职员工职务承诺保证书市蓝海影院:兹保证人于年月日至年月日服务于贵公司部。今因原因离职,本人保证在离职前的工作移交、手续办理和资料交接等方面没有遗漏和不当之处;离职后若有本人曾经办的事务需要协助,本人同意协助公司办理;若因本人工作交接不清而导致公司损失,本人同意承担赔偿与相关法律责任。本人在此也承诺保守公司的商业秘密,绝不泄露。为重起见,特立此保证书为凭。承诺人(签章)::联系:年月日表 1员工离职审批表签发部门(签章): 签发日期:年月日部门岗位入职日期人员类别合同性质合同起止日期离职类别□试用期 □合同终止 □主动辞职 □辞退 □其它 离职原因 简述部门负责人意见行政人事意见总裁意见董事长意见本人申明 自公司批准(辞...

1、当您付费下载文档后,您只拥有了使用权限,并不意味着购买了版权,文档只能用于自身使用,不得用于其他商业用途(如 [转卖]进行直接盈利或[编辑后售卖]进行间接盈利)。
2、本站所有内容均由合作方或网友上传,本站不对文档的完整性、权威性及其观点立场正确性做任何保证或承诺!文档内容仅供研究参考,付费前请自行鉴别。
3、如文档内容存在违规,或者侵犯商业秘密、侵犯著作权等,请点击“违规举报”。

碎片内容

离职流程手续全套资料全

您可能关注的文档

确认删除?
VIP
微信客服
  • 扫码咨询
会员Q群
  • 会员专属群点击这里加入QQ群
客服邮箱
回到顶部