电脑桌面
添加小米粒文库到电脑桌面
安装后可以在桌面快捷访问

中国海关业务流程

中国海关业务流程_第1页
1/9
中国海关业务流程_第2页
2/9
中国海关业务流程_第3页
3/9
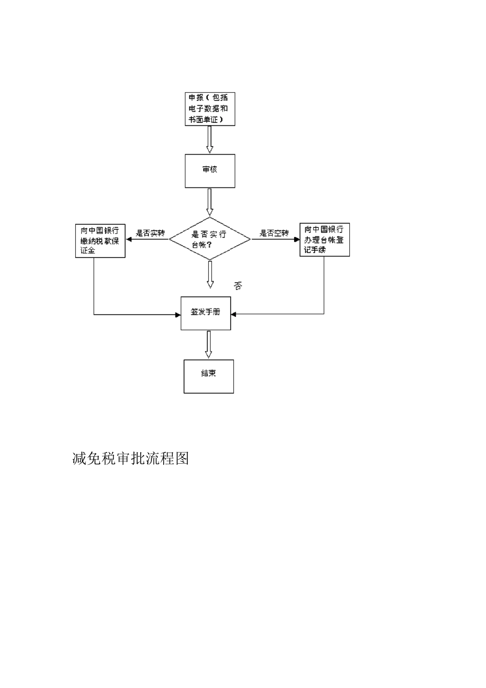
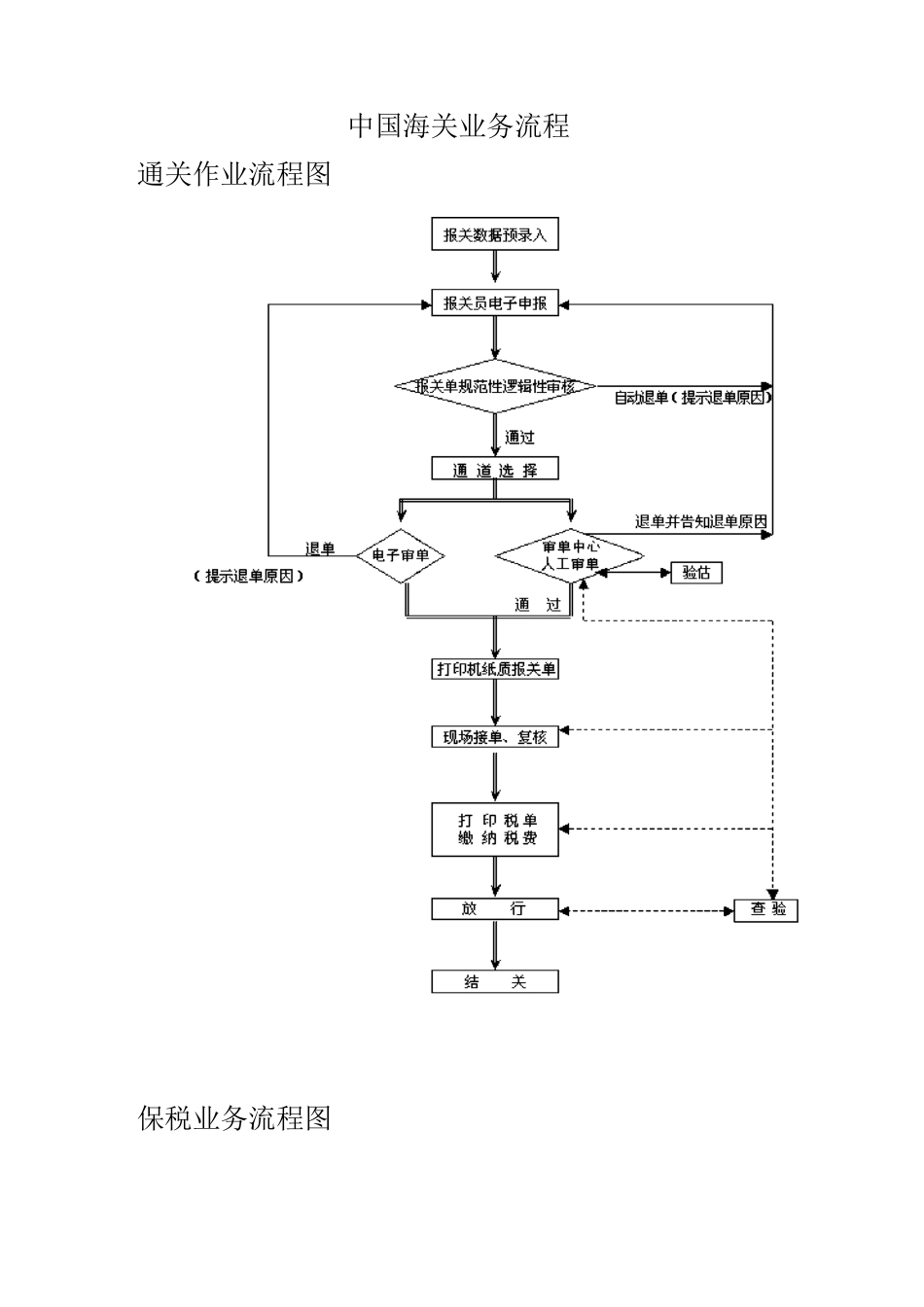
通关作业流程图中国海关业务流程保税业务流程图减免税审批流程图减免税项目备案流程图进口集装箱整箱提运流程客户持正本提单(包括提货单、交货记录、费用帐单三联)、设备交接单到营业厅进出口业务员审核提单手续是否办妥(代理放箱章、代理放货章、海关放行章、出入境检验检疫章、外理理货章、收货人签章是否齐全)进出口业务员核对无误后,将正本提单转给费收员收费进出口业务员取回正本提单后,在设备交接单出场联的码头联上加盖货运专用章交客户,同时在CTMS 系统的集装箱货物管理和集装箱预约中放行和预约。客户持设备交接单到港区闸口提箱进口报关业务流程进口报关的基本程序:接受申报 f 审核单证 f 查验货物 f 办理征税 f 结关放行。1.用换来的提货单(1、3)联并附上报关单据前去报关。报关单据:提货单(1、3)联海关放行后,在白联上加盖放行章,发还给进口方作为提货的凭证。正本箱单、正本发票、合同、进口报关单一式两份、正本报关委托协议书、海关监管条件所涉及的各类证件。注意事项:(1)接到客户全套单据后,应确认货物的商品编码,然后查阅海关税则,确认进口税率、确认货物需要什么监管条件,如需做各种检验,则应在报关前向有关机构报验。报验所需单据:报验申请单、正本箱单发票、合同、进口报关单两份。(2)换单时应催促船舶代理部门及时给海关传舱单,如有问题应与海关舱单室取得联系,确认舱单是否转到海关。(3)当海关要求开箱查验货物时,应提前与场站取得联系,调配机力将所查箱子调至海关指定的场站。(事先应与场站确认好调箱费、掏箱费。)2.若是法检商品应办理验货手续。如需商检,则要在报关前,拿进口商检申请单(带公章)和两份报关单办理登记手续,并在报关单上盖商检登记在案章以便通关。验货手续在最终目的地办理。如需动植检,也要在报关前拿箱单发票合同报关单去代报验机构申请报验,在报关单上盖放行以便通关,验货手续可在通关后堆场进行。3. 海关通关放行后应去三检大厅办理三检。向大厅内的代理报验机构提供箱单、发票、合同报关单,由他们代理报验。报验后,可在大厅内统一窗口交费。并在白色提货单上盖三检放行章。4. 三检手续办理后,去港池大厅交港杂费。港杂费用结清后,港方将提货联退给提货人供提货用。5. 所有提货手续办妥后,可通知事先联系好的堆场提货。注意事项:(1) 首先应与港池调度室取得联系安排计划。(2) 根据提箱的多少与堆场联系足够的车辆尽可能按港方要求时间...

1、当您付费下载文档后,您只拥有了使用权限,并不意味着购买了版权,文档只能用于自身使用,不得用于其他商业用途(如 [转卖]进行直接盈利或[编辑后售卖]进行间接盈利)。
2、本站所有内容均由合作方或网友上传,本站不对文档的完整性、权威性及其观点立场正确性做任何保证或承诺!文档内容仅供研究参考,付费前请自行鉴别。
3、如文档内容存在违规,或者侵犯商业秘密、侵犯著作权等,请点击“违规举报”。

碎片内容

中国海关业务流程

确认删除?
VIP
微信客服
  • 扫码咨询
会员Q群
  • 会员专属群点击这里加入QQ群
客服邮箱
回到顶部