电脑桌面
添加小米粒文库到电脑桌面
安装后可以在桌面快捷访问

企业该如何做好危机信息管理?

企业该如何做好危机信息管理?_第1页
1/3
企业该如何做好危机信息管理?_第2页
2/3
企业该如何做好危机信息管理?_第3页
3/3
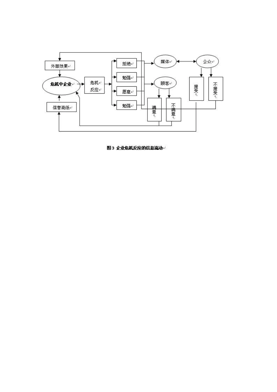
企业每次危机皆具生命周期,按照管理过程可以划分为不同阶段。但是,现在的划分方法存在一定的缺陷,即无论是对企业内部还是外部来说,均采用单一危机生命周期的划分,这种划分有时的确能满足企业外部利益相关者和公众的需求,却难满足企业内部精细管理的需要;有时的确能满足企业内部分工管理的需求,却给外部利益相关者和公众造成难以理解的困惑。因此,如图 1 所示,可以将危机生命周期划分为两个层次:对外分危机前、危机中、危机后三个阶段;对内分六个子阶段,即危机前包括预警和预控阶段,危机中包括反应和应对阶段,危机后则包括恢复和补救阶段。这种双层次的划分方法,能够满足企业对外沟通和对内管理的不同需求:企业的外部利益相关者和公众,以及企业内部高层更多的是关注表现而非过程,即在危机前阶段只注重潜在危机可能爆发的信息,却很少考虑预控对策。危机中阶段只关心企业危机应对结果却不关心具体反应和应对措施。危机后阶段只考虑企业恢复和补救绩效而无暇关注具体工程;而企业内部的员工们需要关心的是结果和过程的统一。当然,鉴于企业危机的类型不同和具体情况的差异,并非每个危机都经历所有的子阶段。危机生命周期各阶段信息活动及其特征企业危机的生命周期被分为六个阶段,每个阶段的危机信息管理活动均具有其特殊性。企业进行危机信息管理,应基于危机的生命周期,分析危机生命周期各个阶段信息管理活动的特征,从而保障危机管理有效进行,实现危机总体损失最小。 危机前的信息管理活动——预警与预控企业危机前的管理涉及预警和预控两方面。预警是企业建立危机预警系统,扫描企业外部环境和内部环境,进而对危机的征兆信息进行捕获、分析、识别和判断的过程。危机预警过程,不可避免面对各种环境噪声,公众和利益相关者的干扰,可能产生三种不同的结果:危机消除、危机准备、危机应对。危机预警信息的及时性和准确性是危机管理有效进行的基础。企业捕获危机征兆信息后,须及时进行多维度分析,如信息来源、种类、强度、频度等,一旦危机征兆信息超过一定临界阀值,转化为危机信息,则危机生命周期进入下一阶段。因此,该阶段需要进行危机评估和等级临界阀值的确定。预控阶段是培养危机意识,普及危机管理知识,指定包括危机确认、管理目标、管理原则、组织机构、人员配备、资源保障、心理恢复、运作流程、具体应对措施等方面的计划和预案,且因地制宜、量力而行地进行培训和演习,采取预控策略,尽最大可能避免危机的...

1、当您付费下载文档后,您只拥有了使用权限,并不意味着购买了版权,文档只能用于自身使用,不得用于其他商业用途(如 [转卖]进行直接盈利或[编辑后售卖]进行间接盈利)。
2、本站所有内容均由合作方或网友上传,本站不对文档的完整性、权威性及其观点立场正确性做任何保证或承诺!文档内容仅供研究参考,付费前请自行鉴别。
3、如文档内容存在违规,或者侵犯商业秘密、侵犯著作权等,请点击“违规举报”。

碎片内容

企业该如何做好危机信息管理?

您可能关注的文档

确认删除?
VIP
微信客服
  • 扫码咨询
会员Q群
  • 会员专属群点击这里加入QQ群
客服邮箱
回到顶部