电脑桌面
添加小米粒文库到电脑桌面
安装后可以在桌面快捷访问

饮用水处理设备安装调试实施方案

饮用水处理设备安装调试实施方案_第1页
1/28
饮用水处理设备安装调试实施方案_第2页
2/28
饮用水处理设备安装调试实施方案_第3页
3/28
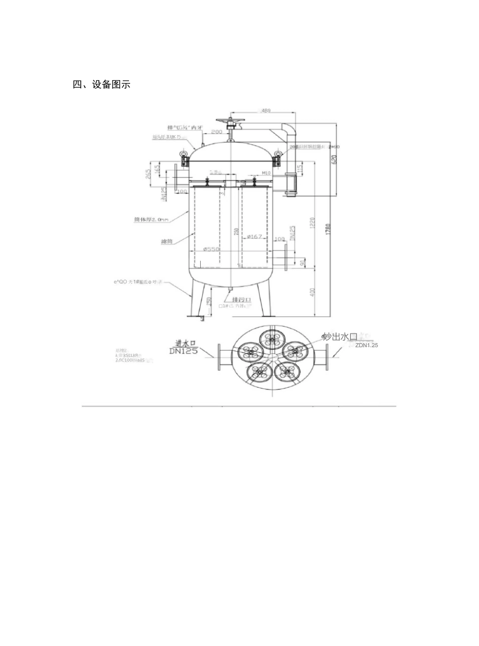
第一节设备型号及技术参数一、设备选型原则水处理设备的选择要本着以保证农村用水安全的原则,因此在对水处理工艺进行选择时需做到以下几点:(1)不管是采用任何技术、工艺,水处理后其水质都要达到国家规定的生活饮用水标准。(2)技术安全可靠性原则。目前,尽管我国关于水处理的技术和设备有很多种,但是要从众多的技术理论和设备中选择技术最为先进及安全可靠性最高的设备。(3)设备运行费用最低原则。设备的运行费用直接关系到水质使用人的切实利益,因此我公司在设备选型上坚持运行费用最低原则。(4)易管理原则。我公司在设备选型上尽量做到在设备管理和维护方面要求尽量做到简单、易管理。如果设备的管理技术要求的过于高,超出了设备技术管理人员的能力范围,则设备的正常运行和管理将得不到保障。我公司为被本项目供应的水处理设备利用新型技术、生物处理技术和智能化控制技术有机的结合起来。该系统具有结构紧凑,出水水质好、且稳定、出水水量大、占地面积小、运行费用低、自动化程度高,维护操作方便等优点。二、设备型号名称功率进出水口径规格出水流速材质雷寨800WDN100C400*810*2 袋30T304 不锈钢过滤棉带 PP施寨660WDN125C450*810*3 袋50T304 不锈钢过滤棉带 PP夹城330WDN50C230*810*1 袋20T304 不锈钢过滤棉带 PP曹家堡440WDN50C400*810*2 袋30T304 不锈钢过滤棉带 PP南徐330WDN50C400*810*2 袋30T304 不锈钢过滤棉带 PP三、出水结果指标我公司拟为本项目供应的净水设备出水指标均能达到村生活饮用水一级标准。四、设备图示FTE」妙出水口ZDN1.254B9刘头呼 3.UK 巧ff 旧坏娴拧關 I:”善e^QO 夭 1#凰氐 o 呼站性.k 帝 kSLLkR2tflC100l!iiailSL」'li□1#己.内討:第二节设备参数、配置等材料一、产品说明RO 反渗透主机说明1、工艺流程根据需方要求处理后达到的水质指标,我们综合考虑环境效益和经济效益等多方面的因素,采用现今技术最先进、性价比最高、出水水质最稳定的预处理加反渗透装置作为系统的主要设备。该系统整体长期运行费用低、运行可靠、易于实现自动化管理的特点,符合现今的设计理念。为保证关键设备 RO 装置的长期可靠稳定运行,保证膜的寿命,必须在进水 前 加 预 处 理 系 统 , 满 足RO膜 进 水 指 标 : 浊 度〈0.5NTU、SDI〈4、Fe〈0.1ppm、余氯〈0.1ppm。根据原水水质,预处理系统包括:原水泵、石英砂过滤装置、吸附过滤器保安过滤器;主净水装置包括:R0...

1、当您付费下载文档后,您只拥有了使用权限,并不意味着购买了版权,文档只能用于自身使用,不得用于其他商业用途(如 [转卖]进行直接盈利或[编辑后售卖]进行间接盈利)。
2、本站所有内容均由合作方或网友上传,本站不对文档的完整性、权威性及其观点立场正确性做任何保证或承诺!文档内容仅供研究参考,付费前请自行鉴别。
3、如文档内容存在违规,或者侵犯商业秘密、侵犯著作权等,请点击“违规举报”。

碎片内容

饮用水处理设备安装调试实施方案

wxg+ 关注
实名认证
内容提供者

该用户很懒,什么也没介绍

确认删除?
VIP
微信客服
  • 扫码咨询
会员Q群
  • 会员专属群点击这里加入QQ群
客服邮箱
回到顶部