电脑桌面
添加小米粒文库到电脑桌面
安装后可以在桌面快捷访问

工程概况及安全生产保证体系VIP免费

工程概况及安全生产保证体系_第1页
1/101
工程概况及安全生产保证体系_第2页
2/101
工程概况及安全生产保证体系_第3页
3/101
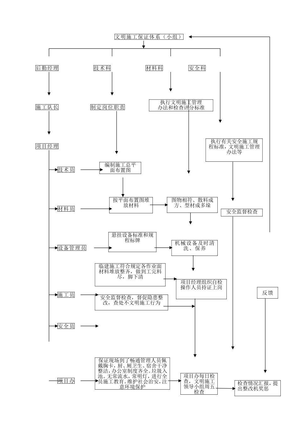
工程概况及安全生产保证体系A—1工程名称建设单位施工单位监理单位宜宾市建设工程质量安全监督站监制JD—001工程概况表A1—1工程名称工程地址所属区、县所属街道建设单位负责人资质等级电话设计单位负责人资质等级电话监理单位负责人资质等级电话总承包单位负责人资质等级电话施工单位负责人资质等级电话建筑面积㎡层数地上结构地下工程造价开工日期计划竣工日期工程安全管理目标控制重伤死亡为零,轻伤率为3‰。受登记日期受监安监站电话宜宾市建设工程质量安全监督站监制文明施工体系文明施工保证体系(小组)后勤经理技术科材料科安全科施工队长制定岗位职责项目经理技术员材料员设备管理员施工员安全员项目办执行文明施工管理办法和检查评分标准执行有关安全施工规程标准,文明施工管理办法等编制施工总平面布置图图物相符、散料成方、型材成多垛按平面布置图堆放材料安全监督检查悬挂设备标准和规程标牌机械设备及时清洗、保养临建施工符合规定各作业面材料堆放整齐,做到工完料尽,脚下清项目经理组织自检操作人员持证上岗反馈安全监督检查,督促隐患整改,查处不文明施工行为保证现场到了畅通管理人员佩戴胸卡,厨、厕卫生、宿舍干净整洁,办公室制度齐全。垃圾入池。无常流水,常明灯,进行全员施工教育。维护社会治安,注意环境保护项目办每日检查,文明施工领导小组周五检查检查情况汇报,提出整改机奖惩JD—002施工现场安全保证体系表A1—2公司总经理公司安全部门项目经理项目技术负责人现场工长设备科专职安全员机电劳务分包负责人木工专业工长钢筋专业工长专职安全员混凝土专业工长泥工专业工长木工班长钢筋班长专职安全员混凝土班长泥工班长操作工人行为操作物状态说明:控制人在生产活动中的行为是安全管理的核心内容,应在施工全过程中形成“横向道边,纵向到底”的监控网络保证体系。宜宾市建设工程质量安全监督站监制JD-003本工程合格分包方名录表A1-3序号企业名称资质等级分包项目负责人电话填报单位:注:合格分包方名录以公司认可为准宜宾市建设工程质量安全监督站监制安全生产责任制及文明施工管理制度A—2工程名称建设单位施工单位监理单位宜宾市建设工程质量安全监督站监制JD—004安全生产责任制执行情况评定表表A2—1被评议人职务评议时间内容安全责任目标考核内容标准分实得分保证项目60分认真执行国家安全生产法律,法规,与层层签订责任书,贯彻执行建筑施工安全生产方针,制定条文,落实安全防护经费。1010制定本项目的安全管理制度和鉴定本项目部管理人员安全生产责任书。1010组织项目部安全管理机构,配备专职安全管理人员。109每月组织一次按群例会,组织学习安全知识,通报本月安全生产情况,布置下月安全生产工作,并做好会议记录。109及时给工人办理建筑意外伤害保险,发生安全事故及时上报,并组织抢救,对事故严格按“四不放过”的原则进行处理。55审查项目部管理人员安全管理目标,督促落实,并组织定期考核。54每月组织一次安全检查和安全设施(备)验收。109一般项目40分审批安全技术措施,安排人力物力计划。109现场施工用电,建筑施工垂直运输,设备安排安装完毕,经自检合格后,向当地法定监测站申报验收。53组织工人三级安全教育,开展查隐患,查漏洞等形式的安全活动。54严格控制,特种工持证上岗。54组织开展,创安全文明施工现场“达标活动”不断改善劳动者的工作环境。108审批本月《建筑工程施工安全月报表》54安全总结本月严格执行安全生产责任制,无安全事故发生。被考核人:考核评语本月考核标准为100分,实得90分,本月优良。安全领导小组组长人:签名参加考核人员:注:考核评分方法按《建筑施工安全检验标准》JJ59-99的评分方法执行。宜宾市建设工程质量安全监督站监制JD—005项目经理部()安全目标考核表施工单位(章)工程名称表A2—2伤亡控制指标1、死亡事故及重伤施工为零2、轻伤事故控制为:3‰施工安全目标1、工伤死亡率和重伤率为零。2、轻伤率为3‰文明施工目标1、现场的材料按指定地点堆放整齐,并分类设标牌。2、制定消防措施,配置相应的灭火器材。3、施工现场卫生,设专职保洁员。4、废水处理率为100%注:考核...

1、当您付费下载文档后,您只拥有了使用权限,并不意味着购买了版权,文档只能用于自身使用,不得用于其他商业用途(如 [转卖]进行直接盈利或[编辑后售卖]进行间接盈利)。
2、本站所有内容均由合作方或网友上传,本站不对文档的完整性、权威性及其观点立场正确性做任何保证或承诺!文档内容仅供研究参考,付费前请自行鉴别。
3、如文档内容存在违规,或者侵犯商业秘密、侵犯著作权等,请点击“违规举报”。

碎片内容

工程概况及安全生产保证体系

您可能关注的文档

确认删除?
VIP
微信客服
  • 扫码咨询
会员Q群
  • 会员专属群点击这里加入QQ群
客服邮箱
回到顶部