电脑桌面
添加小米粒文库到电脑桌面
安装后可以在桌面快捷访问

城市地铁机电设装施工工法

城市地铁机电设装施工工法_第1页
1/67
城市地铁机电设装施工工法_第2页
2/67
城市地铁机电设装施工工法_第3页
3/67
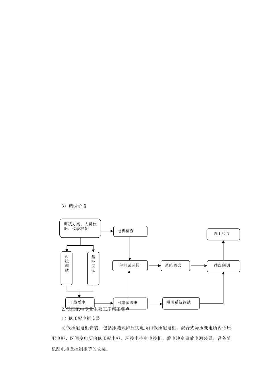
城市地铁机电设装施工工法一、前言随着我国经济的繁荣,我国大城市的规模得到了快速的进展,大城市人口总量有了快速的增长,城市的交通拥挤问题已成为制约城市经济进展的瓶颈问题;为给城市经济提速 ,同时也为国防安全的需要,全国各大城市均已全面开始建设城市地下轨道交通线(地铁) ,并进行远期规划,以缓解日益繁忙而拥挤的交通问题及国防安全问题。目前已有地铁及正在施施工场地铁的城市有北京、上海、天津、广州、深圳、南京等,成都及西安已开始地铁的试验段施工。随着社会的进展,大城市的地铁建设作为建筑业的新的支撑点,正方兴未艾地崛起。对地铁机电设备安装的工期、质量、安全的要求越来越高,因此,根据对地铁机电设备的施工经验,总结一套合理的施工工法,对今后地铁机电设备安装施工有着重要的社会意义。地铁机电设备安装工程属地下作业,周围工作场地窄小,通风差、环境湿度大,亮度差,一般为岛式站台,结构复杂,工作面广,处于市内繁华路段,交通、场地对施工极为不便,协调工作量多。专业施工交叉进行,并且互相制约,区间较长,材料运输难度较大。机电设备安装工程与主体结构、牵引供电、通信、信号、接触网、自动售检票、扶梯、屏蔽门、公共区装修等系统和专业都有接口,存在接口的衔接和交叉施工的问题。从 1997 年开始进入地铁一号线机电设备安装工程施工,随后又在其二号线、三号线的机电设备安装工程施工中再展风采,施工过程中,针对地铁机电设备安装施工的特点,施工的工艺流程和要求,总结施工中的经验和技术,制定了切实可行的施工工法,。建设工程教育网二、工法特点本工法注重施工顺序的合理化安排,注重场地的合理化分配,注重了施工法律规范的严格执行和施工流程的控制,注重了协调沟通的重要性,注重了抢工的科学性。通过对施工工序的合理化安排、施工场地的法律规范化管理达到缩短工期,提高施工质量的目的。解决了在狭小空间、狭小场地下,材料的运输问题和多专业、多家施工单位的施工协调配合问题。三、适用范围本工法适用于城市地铁机电设备安装工程,尤其是闹市区的地下站机电设备安装。同时可适用于大型公共场所公用设备安装工程、高层建筑公用设备安装工程、厂房公用设备安装工程等工程的施工。四、工艺原理由于地铁机电设备安装工程的材料运输一般采纳龙门吊或灵机桅杆从风亭口向站内运输材料,大中型设备采纳轨道车从轨行区向站内运输。给排水及消防管道支架均采纳热镀锌处理,配电柜、给水管...

1、当您付费下载文档后,您只拥有了使用权限,并不意味着购买了版权,文档只能用于自身使用,不得用于其他商业用途(如 [转卖]进行直接盈利或[编辑后售卖]进行间接盈利)。
2、本站所有内容均由合作方或网友上传,本站不对文档的完整性、权威性及其观点立场正确性做任何保证或承诺!文档内容仅供研究参考,付费前请自行鉴别。
3、如文档内容存在违规,或者侵犯商业秘密、侵犯著作权等,请点击“违规举报”。

碎片内容

城市地铁机电设装施工工法

您可能关注的文档

确认删除?
VIP
微信客服
  • 扫码咨询
会员Q群
  • 会员专属群点击这里加入QQ群
客服邮箱
回到顶部