电脑桌面
添加小米粒文库到电脑桌面
安装后可以在桌面快捷访问

人力资源管理部管理工作流程.

人力资源管理部管理工作流程._第1页
1/5
人力资源管理部管理工作流程._第2页
2/5
人力资源管理部管理工作流程._第3页
3/5
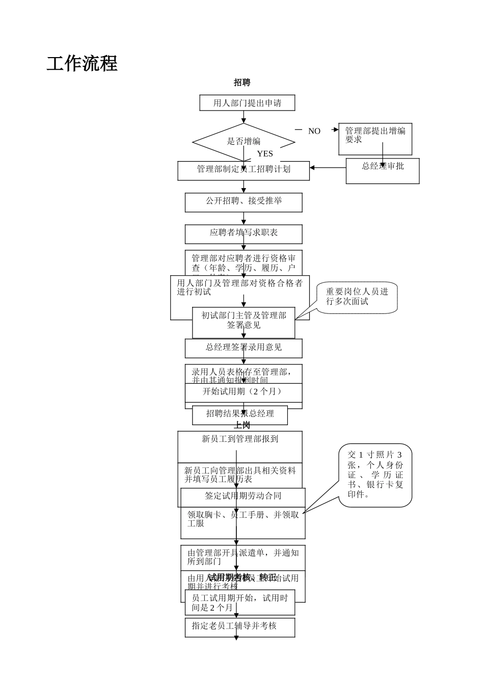
用人部门提出申请管理部提出增编要求总经理审批管理部制定员工招聘计划公开招聘、接受推举应聘者填写求职表管理部对应聘者进行资格审查(年龄、学历、履历、户口、外表)用人部门及管理部对资格合格者进行初试初试部门主管及管理部签署意见总经理签署录用意见录用人员表格存至管理部,并由其通知报到时间招聘结果报总经理开始试用期(2 个月)新员工到管理部报到新员工向管理部出具相关资料并填写员工履历表由管理部开具派遣单,并通知所到部门签定试用期劳动合同领取胸卡、员工手册、并领取工服由用人部门安排员工开始试用期并进行考核员工试用期开始,试用时间是 2 个月指定老员工辅导并考核是否增编YESNOO工作流程招聘 上岗试用期考核、转正重要岗位人员进行多次面试交 1 寸照片 3张,个人身份证 、 学 历 证书、银行卡复印件。试用单位出具新员工考核表员工提出辞职,按规定办理离职手续按月本单位和管理部阶段考核管理部组织转正考试,并出具考核意见试用期到,员工提出书面转正申请员工考核未达到标准搬离终止试用合同总经理签发的转正通知不合格延 长 试 用 期 ( 最长 1 个月)合格到管理部签订正式劳动合同交纳商业保险金终止试用办理离职手续办理养老保险通 知 本 人 及 所 在部门重新做试用考核管理部对员工统一考勤管理部对虚假情况进行处罚由管理部主管对交来的考勤表进行审核根据考勤制作工资管理部对所有考勤表存档依据考勤制度核算员工工资工资单一份交公司财务部,一份由管理部存档,以备员工核对统一交由管理部核算,管理部主管对已完成的工资表进行审核并签字月初前交至总经理办公室,由总经理审核并签字由管理部结算,财务部审核发放工资核发中如有问题由各单位负责人向管理部查询并负责向员工解释员工个人申请调岗因工作需要员工调换部门由所在部门填写调动申请表并出具调动意见所在部门主管审核并提出意见 延长试用期满 考勤管理工资管理内部调动由管理部签署内部调动意见并开具调令主管级以上人员的调动需经副总经理以上批准,并正式签发任命决定员工按期办理交接手续管理部负责协调员工到新岗位报到正式员工须提前一个月提出离职申请,试用期员工须提前三天提出离职申请申请退回,员工应继续在公司工作或视具体情况做内部调动部门主管审批签署意见报总经理审批报管理部,并签署意见按旷工予以开除在规定时间离职后于下月发工资日将其工资打入其账户内归还工服、胸卡和其他领用物品员工正式离职...

1、当您付费下载文档后,您只拥有了使用权限,并不意味着购买了版权,文档只能用于自身使用,不得用于其他商业用途(如 [转卖]进行直接盈利或[编辑后售卖]进行间接盈利)。
2、本站所有内容均由合作方或网友上传,本站不对文档的完整性、权威性及其观点立场正确性做任何保证或承诺!文档内容仅供研究参考,付费前请自行鉴别。
3、如文档内容存在违规,或者侵犯商业秘密、侵犯著作权等,请点击“违规举报”。

碎片内容

人力资源管理部管理工作流程.

您可能关注的文档

津创媒+ 关注
实名认证
内容提供者

欢迎交流文创,小店资料希望满足您的需要。

确认删除?
VIP
微信客服
  • 扫码咨询
会员Q群
  • 会员专属群点击这里加入QQ群
客服邮箱
回到顶部