电脑桌面
添加小米粒文库到电脑桌面
安装后可以在桌面快捷访问

路桥监理工作流程图VIP免费

路桥监理工作流程图_第1页
1/51
路桥监理工作流程图_第2页
2/51
路桥监理工作流程图_第3页
3/51
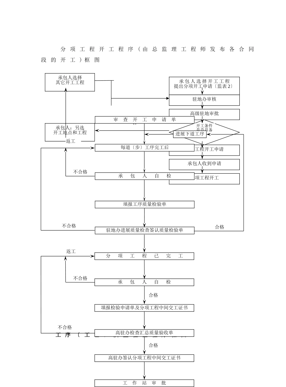
分项工程开工程序(由总监理工程师发布各合同段的开工)框图工序〔工艺〕质量检查程序框图承包人选择开工工程提出分项开工申请〔监表2〕分项工程开工申请承包人:另选开工地点和工程承包人选择其它开工工程承包人收到申请高级驻地审批分项工程开工驻地办审核开工条件是否具备否不合格填报检验申请单及分项工程中间交工证书不合格不合格返工合格审查开工申请单每道〔步〕工序完工后承包人自检填报工序质量检验单驻地办进展质量检查签认质量检验单分项工程已完工承包人自检高驻办检查汇总质量验收单高驻办签认分项工程中间交工证书工作站审批进展下道工序不合格合格合格返工1.原材料的试验程序复核承包人原材料试验高驻办试验室按频率取样抽检原材料向高驻办提交复核、抽验报中心试验室备案2.混合料设计配合比的复核试验程序3.现场检测试验程序4.单项工程检验程序审查送来的混合料及原材料试验资料审查试验条件是否符合要求对原材料及混合料配合比进展〔平行〕复核试验提交与承包人确定备检工程试验工程承包人试验/旁站检查高驻办试验监理工程师按规定频率抽检向高驻办呈交质量检验单及试验单项工程完工审查单项工程自检和试验资料按规定频率的要求对单项工程复查检验向高驻办提交单项工程检验报中心试验室1)、路基工程监理工作流程·检查承包人的恢复放样·路基整修特别注意路槽各部位几何尺寸、平整度符合要求·组织分项工程验收·机具组合·最正确施工长度·松铺厚度·压实度检查召开工地会议·交流施工、监理人员岗位分工开展工作·承包人汇报开工准备情况·监理、说明技术要求检测频率·复核土样试验·最正确干度、最正确含水量·检查土源情况·审查承包人质量保证体系组织情况·审查承包人施工工序流程·检查机具、人员、试验设备是否进场能否到达开工条件·检查道路范围内场地清理压实·检查松铺厚度土料质量去除土料中的有害物质·逐层逐段按规定频率检查压实度·每月定检查(如1~2次)路基几何尺寸逐层逐段检验合格签认并进入下道工序试验路合格批准承包人正式开工并将试验段作为工程的一局部符合条件批准承包人单项工程开工工程验收施工监理试验路段监理开工前准备、导线水准点交接监理3)、道路放样监理原地面清理及填前压实监理设计总监办高驻办、检验、复核承包人复测、复核承包人校桩、护桩有问题有问题复核复测合格对放样桩和资料有疑问等放样、路中心桩、路基边缘桩、桥涵位置桩增补控制点、水准点桩驻地办复桩导线桩、水准点桩、逐桩坐标导线桩、水准点桩、逐桩坐标承包人保护所有桩志不受损坏5)、挖方路基监理6)、路基填料监理·检查施工中开挖边线是否符合放样·检测外侧边坡度是否符合设计·土石方调运或废弃是否符合工艺·检查平安消费落实情况·审查承包人施工工艺消费平安规程·确定土石方调运或废弃·复核放样资料桩志检查路槽内外边坡路基宽度排、截水沟位置废土堆高签认中间交工检验单监理旁站批准工程开工合格·检查放样·检查机具进场目测现场清理、检查不适宜材料的去除检查洞穴、坑槽回填、压实批准开工批准原地面碾压签认、验收、批准上土检查原地面碾压合格合格承包人踏勘料场取土样做比照试验做压实试验确定干度及最正确含水量批准各土场各层次的干度和最正确含水量7)、填方用土质量监理不合格填方路基准备监理〔驻地办〕7〔2〕、填方压实监理〔驻地办〕选定土场取样进展击实、液塑限试验承包人驻地办审批监理、承包人双方共同检测松铺厚度进展碾压监理旁站压实度检测承包人送报验单驻地办审批进行下道工序监理试验室平行试验监理试验室按规定频率抽验不合格检查施工前的准备工作是否符合填土条件监理工程师控制·控制松铺系数·控制土质、剔除杂物等·不适宜材料控制不同土类混用·控制几何线型·控制外表大至平整准备碾压〔不计量支付〕监理旁站检查合格批准上土·检查已铺土含水量有无不适用材料·批准干度·铺土是否大致平整压实机具到场·松铺度施工·控制含水量碾压遍数监理·碾压程序和符合要求旁站·处理外表病害签认工序报验单检查口头同意碾压按频率抽验压实度检查各局部几何尺寸不合格、路基整修监理〔驻地办〕9)、石方爆破工程监理工作流程...

1、当您付费下载文档后,您只拥有了使用权限,并不意味着购买了版权,文档只能用于自身使用,不得用于其他商业用途(如 [转卖]进行直接盈利或[编辑后售卖]进行间接盈利)。
2、本站所有内容均由合作方或网友上传,本站不对文档的完整性、权威性及其观点立场正确性做任何保证或承诺!文档内容仅供研究参考,付费前请自行鉴别。
3、如文档内容存在违规,或者侵犯商业秘密、侵犯著作权等,请点击“违规举报”。

碎片内容

路桥监理工作流程图

您可能关注的文档

确认删除?
VIP
微信客服
  • 扫码咨询
会员Q群
  • 会员专属群点击这里加入QQ群
客服邮箱
回到顶部