电脑桌面
添加小米粒文库到电脑桌面
安装后可以在桌面快捷访问

(word完整版)工程建设项目全套流程图历史上最牛的全套25个,推荐文档VIP免费

(word完整版)工程建设项目全套流程图历史上最牛的全套25个,推荐文档_第1页
1/27
(word完整版)工程建设项目全套流程图历史上最牛的全套25个,推荐文档_第2页
2/27
(word完整版)工程建设项目全套流程图历史上最牛的全套25个,推荐文档_第3页
3/27
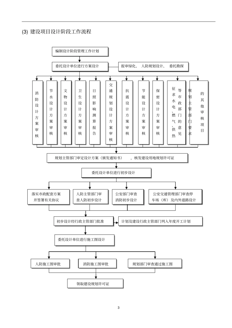
1工程建设项目全套流程图1、工程建设项目前期工作流程(1)基本流程项目建议书可行性研究项目评估竣工验收建设准备施工许可施工与安装生产准备竣工结算与竣工决算项目后评价立项决策方案设计初步设计及其审批扩初设计施工图设计及其审批投资决策阶段工程设计阶段采购与施工阶段交付使用阶段2(2)建设项目投资决策(建议书、可行性研究报告)流程政府投资项目企业投资项目通过招标、拍卖、挂牌等方式获得土地使用权投资机会研究编制项目建议书办理《拆迁许可证》,并委托拆迁公司进行拆迁申请核准或登记备案进行项目可行性研究签署土地出让合同,交纳土地出让金,领取《国有土地使用权证》通过通过批准通过通过批准通过未批准未批准或未通过未批准项目终止报批可行性研究报告实施项目进行项目评估通过划拨、出让等方式获得土地使用权报批项目建议书未通过3(3)建设项目设计阶段工作流程编制设计阶段管理工作计划委托设计单位进行方案设计报审绿化、人防规划设计、委托勘探消防设计方案审核节水设计方案审核规划主管部门审定设计方案(颁发通知书),核发建设用地规划许可证文物设计方案审核保密设计方案审核节能设计方案审核抗震设计方案审核交通规划设计方案审核日照影响测算报告卫生设计方案审核领取建设规划许可证落实市政配套方案并签署有关协议委托设计单位进行初步设计计划及建设行政主管部门列入年度开工计划初步设计经行政主管部门批准公安交通管理部门审查停车场(库)及内外道路设计公安部门审查消防初步设计人防主管部门审查人防初步设计规划部门审查通过施工图消防施工图审批人防施工图审批委托设计单位进行施工图设计等市政部门的意见征求水电、燃气、供热的其他审核项目规划主管部门要求4编制建设准备阶段管理工作计划到开户行办理资金证明委托招标代理机构代理招标落实施工现场“三通一平”选定承包单位,签署施工合同选定设备、材料供应单位,签署采购合同选定监理单位,签署委托监理合同办理招标、施工、监理合同及中标通知书备案手续组织召开第一次工地会议、参加图纸会审合格合格不合格不合格踏堪现场领取施工许可证办理质量监督及施工安全监督手续,领取受理通知退回材料,条件合格后重新申报不具备开工条件的退件,现场违章开工的给予处罚,待条件合格后补办(4)建设项目准备阶段工作流程52、工程建设项目管理流程(1)项目管理基本流程可行性研究报告项目建议书委托设计部门进行方案设计向人防部门报审人防规划方案向园林部门报审规划方案委托勘察单位进行地质勘探项目评估取得划意见书基础测绘地形图方案设计确定投资估算取得用地规划许可证,审定设计方案通知初步设计确定的投资概算施图设计审查通知施工图领取建设工程规划许可证确定投资预算施工前准备设备、材料订货办理施工许可证施工招标施工及设备安装试运行竣工决算签订项目可行性研究委托合同投资决策阶段项目建设实施期设计阶段施工及安装阶段竣工验收项目后评价竣工期竣工阶段备案及工程移交签订项目管理委托合同项目建设准备期6(2)招投标基本流程合格不符合规定符合有关规定不合格合格不合格合格招标工作准备建设单位或招标代理机构发布招标信息公告投标单位到招标代理机构办理投标申请投标单位资格预审确定投标单位领取招标文件标前会议和招标文件答疑接受投标单位的投标文件召开“开标、评标、定标会议”确定中标单位,发出中标通知书签订合同取消投标资格勘察现场不符合有关规定取消投标资格不合格7(3)合同签订流程确定合同结构和性质合同条件拟定与合同签订单位谈判是否存在合同条件异议协商后做出调整方案合同签订项目合同、信息管理部门备案返回重做8(4)施工准备流程制定工程项目管理计划表落实“三通一平”和大型临时工程设施计划和实施方案办理相关手续与交接组织设备和材料招标工作确定设备和主要材料供应商审核图纸,编制施工技术组织措施,编制施工图预算落实年度资金使用情况及贷款计划采取招标形式确定工程参建单位施工技术准备发布工程开工令9(5)项目风险管理与信息管理流程1、项目风险管理流程消极保留非保险转移回避风险积极保留保险转移减小风险风险管理开始实施、检查风险转移风险控...

1、当您付费下载文档后,您只拥有了使用权限,并不意味着购买了版权,文档只能用于自身使用,不得用于其他商业用途(如 [转卖]进行直接盈利或[编辑后售卖]进行间接盈利)。
2、本站所有内容均由合作方或网友上传,本站不对文档的完整性、权威性及其观点立场正确性做任何保证或承诺!文档内容仅供研究参考,付费前请自行鉴别。
3、如文档内容存在违规,或者侵犯商业秘密、侵犯著作权等,请点击“违规举报”。

碎片内容

(word完整版)工程建设项目全套流程图历史上最牛的全套25个,推荐文档

您可能关注的文档

确认删除?
VIP
微信客服
  • 扫码咨询
会员Q群
  • 会员专属群点击这里加入QQ群
客服邮箱
回到顶部