电脑桌面
添加小米粒文库到电脑桌面
安装后可以在桌面快捷访问

项目二 斜导柱侧抽芯机构VIP免费

项目二 斜导柱侧抽芯机构_第1页
1/47
项目二 斜导柱侧抽芯机构_第2页
2/47
项目二 斜导柱侧抽芯机构_第3页
3/47
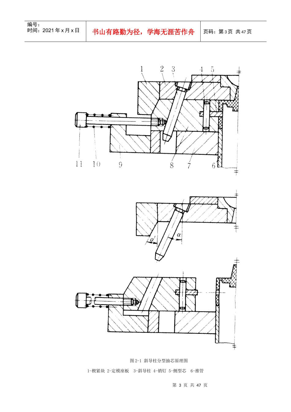
第1页共47页编号:时间:2021年x月x日书山有路勤为径,学海无涯苦作舟页码:第1页共47页项目二斜导柱侧抽芯机构一、教学目标1.通过对塑料模中斜导柱抽芯机构的工作过程分析掌握力的基本概念、力的基本性质、力对点之矩、受力分析和力的平衡方程2.会对斜导柱抽芯机构进行受力分析并计算塑件的脱模力和抽芯力3.培养学生严谨的工作作风和分析问题、解决问题的能力二、学习任务1.分析斜导柱侧抽芯机构中侧型芯、导柱和滑块的受力2.计算斜导柱侧抽芯机构的脱模力和抽芯力模块一导柱的受力分析一、教学目标1.通过对塑料模中斜导柱抽芯机构的工作过程分析掌握力的基本概念、力的基本性质、力对点之矩和受力分析2.会对斜导柱侧抽芯机构进行受力分析3.培养学生严谨的工作作风和分析问题、解决问题的能力二、学习任务分析斜导柱侧抽芯机构(图2-1)中侧型芯、导柱和滑块的受力。第2页共47页第1页共47页编号:时间:2021年x月x日书山有路勤为径,学海无涯苦作舟页码:第2页共47页三、解决任务(一)斜导柱侧抽芯机构的工作过程第3页共47页第2页共47页编号:时间:2021年x月x日书山有路勤为径,学海无涯苦作舟页码:第3页共47页图2-1斜导柱分型抽芯原理图1-楔紧块2-定模座板3-斜导柱4-销钉5-侧型芯6-推管第4页共47页第3页共47页编号:时间:2021年x月x日书山有路勤为径,学海无涯苦作舟页码:第4页共47页7-动模板8-滑块9-限位挡块10-弹簧11-螺钉图2-1表示斜导柱分型抽芯机构工作原理。它具有结构简单,制造方便,安全可靠的特点,因而是最常用的一种结构形式,图中与模具开合方向成一定角度的斜导柱3固定在定模座上,滑块8可以在动模板7的导滑槽内滑动,侧型芯5用销钉4固定在滑块8上,开模时,开模力通过斜导柱作用于滑块上,迫使滑块在动模导滑槽内向左滑动,直至斜导柱全部脱离滑块,即完成抽芯动作,制品由推出机构中的推管6推离型芯,限位挡块9、弹簧10及螺钉11组成滑块定位装置,使滑块保持抽芯后的最终位置,以确保再次合模时,斜导柱能顺利地插入滑块的斜导柱孔,使滑块回到成型时的位置。在注射成型时,滑块8受到型腔熔体压力的作用,有产生移位的可能,因此用楔紧块l来保证滑块在成型时的准确位置。(二)侧型芯的受力分析当塑料制品收缩包紧侧型芯时,脱模的受力情况如图2-2所示,型芯有脱膜斜度。Fm—制品与侧型芯之间的摩擦力;Fy—因制品收缩产生对侧型芯的正压力;F—克服包紧力和摩擦力Fm造成阻碍所需的脱膜力;α—脱拔模斜度。塑料制品在冷凝收缩时,对侧型芯产生包紧力,抽芯机构所需的抽芯力,必须克服因包紧力所引起的抽芯阻力及抽芯机构机械滑动时的摩擦阻力,才能把活动型芯抽拔出来。对于不带通孔的壳体制品侧抽芯,抽拔时还需克服表面大气压造成的阻力。在抽拔过程中开始抽拔的瞬时,使制品与侧型芯脱离所需的抽拔力称为起始抽芯力,以后为了使侧型芯图2-2脱模时型芯的受力第5页共47页第4页共47页编号:时间:2021年x月x日书山有路勤为径,学海无涯苦作舟页码:第5页共47页抽到不妨碍制品推出的位置时,所需的抽拔力称为相继抽芯力,前者比后者大。因此计算抽芯力时应以起始抽芯力为准。(三)斜导柱的受力分析斜导柱常用的结构形式如图2-3所示。斜导柱在工作过程的受力情况可近似地简化为图2-4a,其一端为固定端约束。在开模初,导柱与滑块全面结合,如不考虑斜导柱与滑块孔间的摩擦力,其受力图如图2-4b所示。Fω为滑块对导柱的正压力。图2-3斜导柱常用的结构形式a)b)图2-4斜导柱的力学模型简图及受力(四)滑块的受力分析滑块在工作中受到抽芯所需的开模力、斜导柱的支承力和水平方向抽拔侧型芯时侧型芯对滑块的抽芯阻力的共同作用。图2-5滑块的受力第6页共47页第5页共47页编号:时间:2021年x月x日书山有路勤为径,学海无涯苦作舟页码:第6页共47页Fz—抽拔侧型芯所需要克服的抽芯阻力;Fk—抽出侧型芯所需要的开模力;F′ω—斜导柱对滑块的支承力(即:滑块对斜导柱正压力的反作用力)。四、相关知识(一)力的概念1.力的定义力的概念来自于实践,人们在劳动或日常生活中推、拉、提、举物体时,肌肉会收缩,进而人们逐渐产生了对力的感性认识,大量的感...

1、当您付费下载文档后,您只拥有了使用权限,并不意味着购买了版权,文档只能用于自身使用,不得用于其他商业用途(如 [转卖]进行直接盈利或[编辑后售卖]进行间接盈利)。
2、本站所有内容均由合作方或网友上传,本站不对文档的完整性、权威性及其观点立场正确性做任何保证或承诺!文档内容仅供研究参考,付费前请自行鉴别。
3、如文档内容存在违规,或者侵犯商业秘密、侵犯著作权等,请点击“违规举报”。

碎片内容

项目二 斜导柱侧抽芯机构

确认删除?
VIP
微信客服
  • 扫码咨询
会员Q群
  • 会员专属群点击这里加入QQ群
客服邮箱
回到顶部