电脑桌面
添加小米粒文库到电脑桌面
安装后可以在桌面快捷访问

2024年公路监理工作流程图全套VIP免费

2024年公路监理工作流程图全套_第1页
1/23
2024年公路监理工作流程图全套_第2页
2/23
2024年公路监理工作流程图全套_第3页
3/23
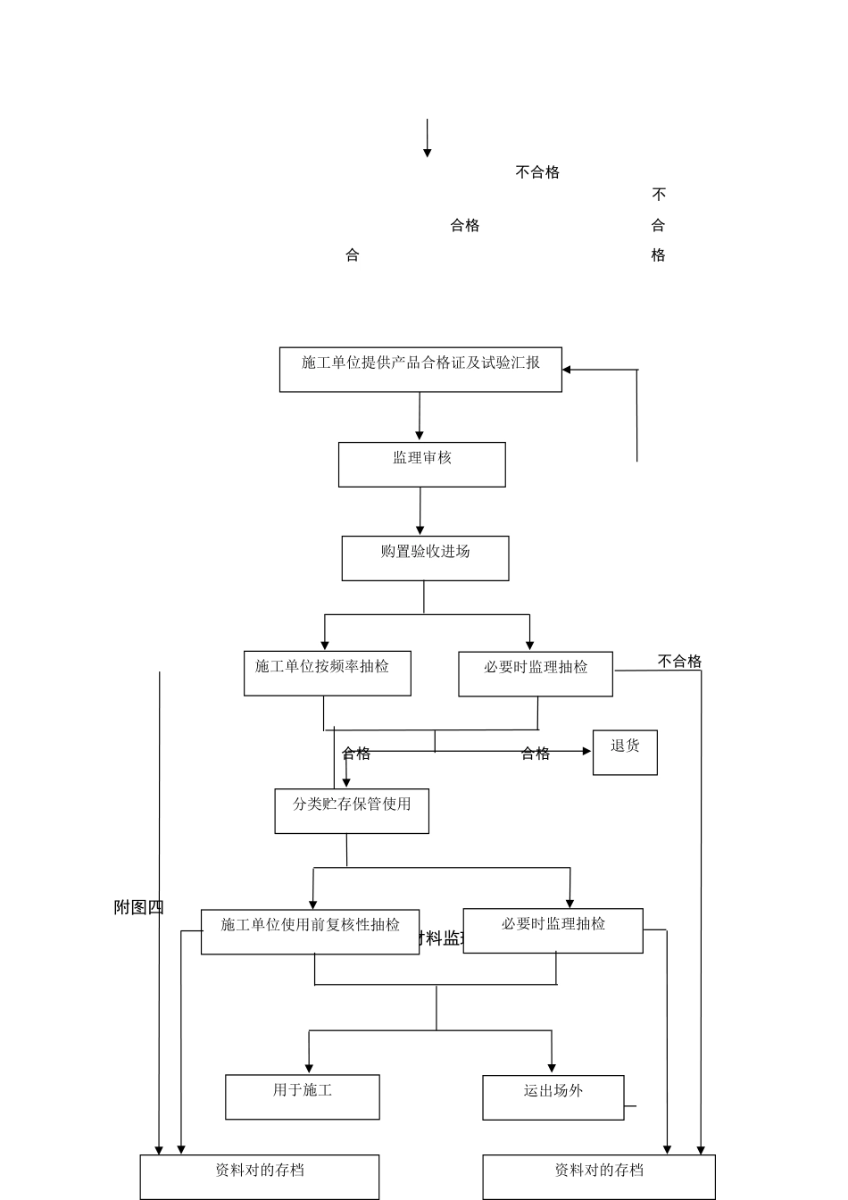
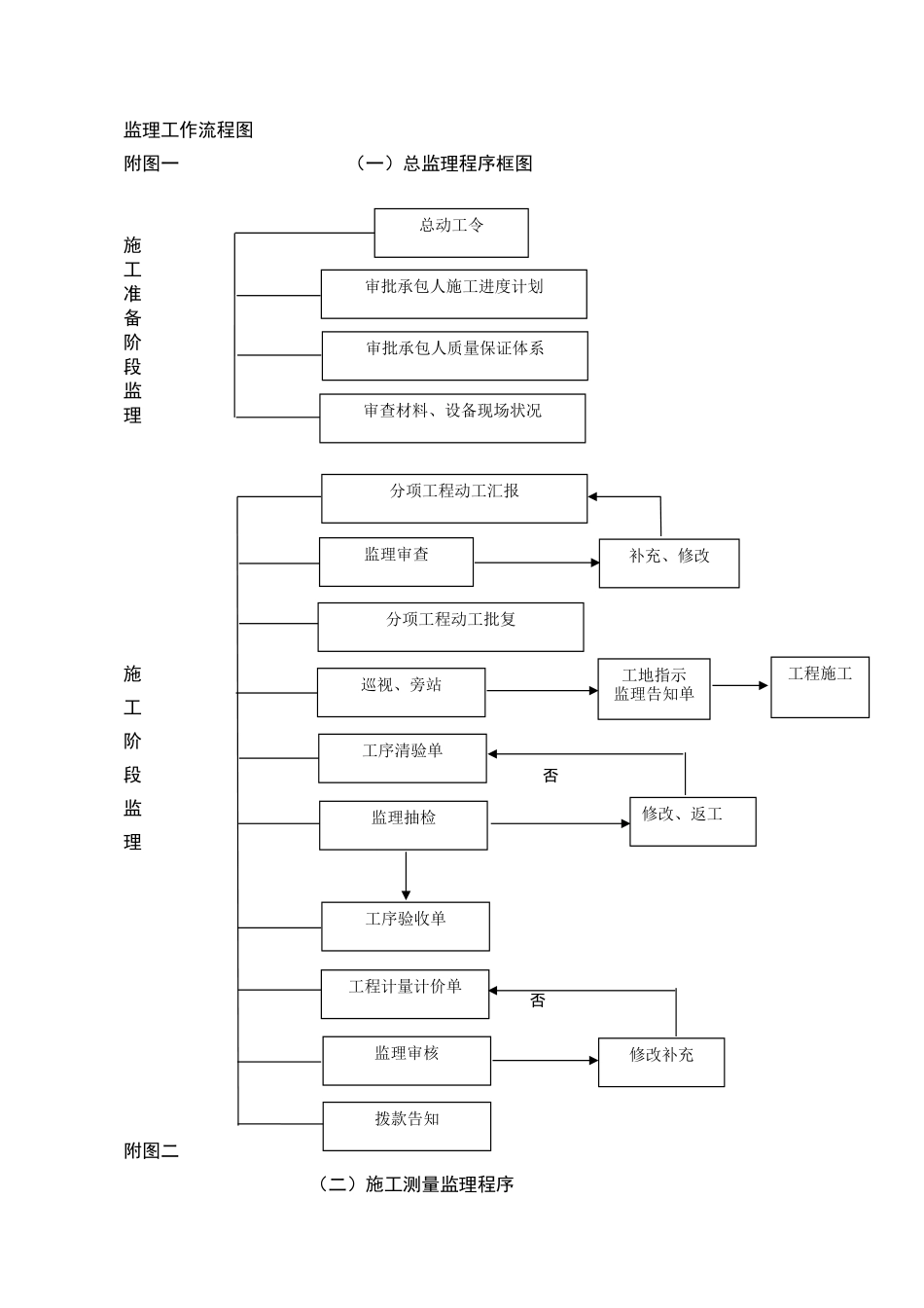
监理工作流程图附图一(一)总监理程序框图施工准备阶段监理施工阶段否监理是否附图二(二)施工测量监理程序总动工令审批承包人施工进度计划审批承包人质量保证体系审查材料、设备现场状况分项工程动工汇报监理审查分项工程动工批复巡视、旁站工序清验单监理抽检补充、修改工地指示监理告知单工程施工工序验收单修改、返工工程计量计价单监理审核拨款告知修改补充合格不合格不合格不合格附图三(三)自采材料监理程序框图资料交接、现场交接桩位复测施工放样承包人自检承包人填报《施工放样报验单》驻地办测量工程师抽检驻地工程师签认《施工放样报验单》承包人动工申请承包人复测核算驻地测量工程师抽检原材料或生产厂选择施工单位抽样试验施工单位提供原材料样品及试验汇报监理审核材料进场、堆放保管施工单位按批量、频率抽检监理抽检贮存待用运出场外使用时施工单位随机抽检必要时监理抽检用于施工资料对的存档资料对的存档不合格不合格合合格合格不合格不合格合格合格附图四(四)外购材料监理程序框图否施工单位提供产品合格证及试验汇报监理审核购置验收进场施工单位按频率抽检必要时监理抽检分类贮存保管使用退货施工单位使用前复核性抽检必要时监理抽检用于施工运出场外资料对的存档资料对的存档承认合格不合格合格不合格附图五(五)外委试验监理程序框图否施工单位提供外委试验室资质监理审核施工单位按频率抽检监理抽检用于施工运出场外资料对的存档资料对的存档承认合格不合格附图六(六)见证试验监理程序框图否承认施工单位选定有资质试验室监理审核施工单位按频率抽检见证人取样资料对的存档施工单位返工合格不合格附图七(七)施工阶段费用控制工作流程监理工程工程工程组织费用控制准备工作计量支付体系量清单核算细目划分量清单分解地面线测量颁发计量支付许可证附图八(八)分项工程动工汇报审批监理程序框图施工程序监理程序原始资料归档程序不承认承认不承认承认交工结帐周计量月度汇总中期支付施工放样监理核查施工放样资料二份原材料试验资料及材料准备监理核查或抽检原材料试验及材料准备资料二份施工场地布设状况(含草图)监理核查施工场地布设状况资料二份(含草图)原则试验资料监理审核或抽验原则试验资料二份人员、机具准备状况监理核查人员、机具准备状况资料二份技术交底及质量指标资料(含施工程序及方案)监理审核技术交底及指标(含施工程序及方案)资料二份填写《工程动工申请批复单》监理审核《工程分项动工申请批复单》及附的资料整顿成册开工监理一份施工单位一份分项竣工结算不承认承认不承认承认不承认承认不承认承认不承认承认资料整顿监理同意动工附图九(九)工序验收程序工序竣工承包商自检不合格补救措施合格填写报验单并附资料报请监理工程师验收与否合格监理工程师验收不合格合格签认报验单下一道工序附图十(十)分项工程检查程序框图不批准同意不合合格格与否合格动工准备承包人填报《分项工程动工申请批复》驻地工程师同意承包人实行每道工序承包人自检承包人填报《工序报验单》经驻地办专业工程师检查合格否完毕至分项工程承包人填报《工程交工证书》经驻地工程师签批旁站监理抽样检测计量支付进行下项工程项目不合格合格填附图十一(十一)填前碾压监理程序框图施工程序监理程序原始资料归档程序请验不承认随时纠正随时纠正规定重新碾压铲除植物、杂草、树根、清除表层有机土、淤泥、垃圾土等整平原地面(推土机、平地机)填前碾压(50T振级振碾及18T以上平碾),含洒水、测含水量压实度自检监理检查监理巡视监理巡视施工原始资料一份不合格报监理合格同意进入下道工序施工附图十二(十二)填方路堤施工监理程序框图施工程序监理程序原始资料归档程序随时纠正注意松铺厚度随时纠正随时纠正重新碾压不合格请验合格注意松铺厚度、作业段搭接长度填报《工序报验单》附检查表1及高程、宽度压实度等检查记录进入下道工序监理抽检工序报验单二份施工单位自检资料一份监理抽检资料一份监理资料一份请验单、抽检资料施工单位资料一份请验单、施工原始记录、自检资料碾压后的原始地面清除上第一层土、洒水整平(推土机、平地机)碾...

1、当您付费下载文档后,您只拥有了使用权限,并不意味着购买了版权,文档只能用于自身使用,不得用于其他商业用途(如 [转卖]进行直接盈利或[编辑后售卖]进行间接盈利)。
2、本站所有内容均由合作方或网友上传,本站不对文档的完整性、权威性及其观点立场正确性做任何保证或承诺!文档内容仅供研究参考,付费前请自行鉴别。
3、如文档内容存在违规,或者侵犯商业秘密、侵犯著作权等,请点击“违规举报”。

碎片内容

2024年公路监理工作流程图全套

静心书店+ 关注
实名认证
内容提供者

专注于各类考试试卷和真题。

确认删除?
VIP
微信客服
  • 扫码咨询
会员Q群
  • 会员专属群点击这里加入QQ群
客服邮箱
回到顶部