电脑桌面
添加小米粒文库到电脑桌面
安装后可以在桌面快捷访问

(整理)多层框架结构商业楼监理细则VIP免费

(整理)多层框架结构商业楼监理细则_第1页
1/21
(整理)多层框架结构商业楼监理细则_第2页
2/21
(整理)多层框架结构商业楼监理细则_第3页
3/21
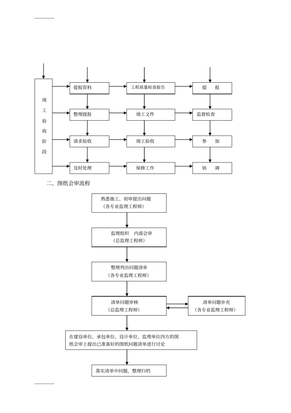
--------------------------第一章专业工程特点本工程为砼框架结构,抗震裂度7度,建筑耐久等级地上二级,地下一级,建筑耐久年限为50年;建筑层数为地上二层,局部地下一层,建筑高度14.7m。工程内外墙为200厚非承重加气砼砌块,±0.000以下为240厚页岩砖,用M5水泥砂浆砌筑。地下室防水等级为二级,防水层用3mm+3mm聚酯胎改性沥青防水卷材,楼梯间、卫生间采用高聚物改性沥青防水涂料。外墙幕墙为显框玻璃幕墙,采用断桥铝合金框。外墙保温为200mm加气砼砌块,屋顶保温为70厚挤塑聚苯板,外窗为中空双层玻璃。屋面网架为钢结构构件(含檩条)部分刷薄型防火涂料,满足1小时耐火极限。本工程货运电梯按建设单位提供的EXPRESS公司产品样本设计,型号为JES302。水暖、电及通风工程配套齐全。本工程基础为柱下独立基础,CFG桩地基处理。第二章编制依据一、已批准的监理规划;二、勘察设计文件和技术资料;三、与专业工程相关的标准、规范四、经审批的施工组织设计。第三章监理工作的流程一、施工阶段监理工作流程监理阶段施工施工单位提供与解释提报编报监理工作内容承发包合同分包单位资质施工组织设计监理单位熟悉与提问检查确认参与审查--------------------------二、图纸会审流程竣工验收阶段提报资料整理提报请求验收及时处理工程质量检查报告竣工文件竣工验收保修工作提报监督检查参加协调熟悉施工、初审提出问题(各专业监理工程师)监理组织内部会审(总监理工程师)整理列出问题清单(各专业监理工程师)清单问题审核(总监理工程师)在建设单位、承包单位、设计单位、监理单位四方的图纸会审上提出已准备好的图纸问题清单进行讨论落实清单中问题,整理归档清单问题补充(各专业监理工程师)--------------------------三、施工组织设计(方案)审批流程修改补充提出修改意见施工组织设计(方案)申报(承包单位)初审(各专业监理工程师)监理组织会审(项目总监理工程师主持各专业监理工程师)施工组织设计审批(总监理工程师)将批件返回承包单位并报建设单位施工组织设计(方案)付诸实施向施工单位询问和落实主要问题(各专业监理工程师)--------------------------四、测量放线签认基本流程项目经理部现场施工测量1.建筑红线标准桩复测;2.水准基点桩引测及高程控制网施测;3.坐标控制网(控制导线)的施测;4.建筑轴线桩施测;5.楼层高程及50线施测;6.沉降观测;7.其它测量项目。项目经理部报送测量方案,经批准后进行测量;将测量成果同时填报“测量定线报验申请表“,送项目监理机构。专业监理工程师进行内业审核及外业复测或校核专业监理工程师审核、复测、校核结果主管监理工程师在“测量定线报验申请表“上签认项目经理部进行下道工序不合格--------------------------五、材料、构配件和设备质量控制基本流程1.选定建筑材料后,报送产品合格证、材质化验单、复核合格证等有关规定的资料,并填报“工程材料/构配件/设备报审表”;2.选定建筑构配件厂后,报送工程资质,产品合格证等有关规定的文件资料,并填报“工程材料/构配件/设备报审表”;3.选定设备制造厂家后,报送工厂资质、产品说明书、产品合格证等有关文件资料,并填报“工程材料/构配件/设备报审表”。由承包单位(直接供应材料、构配件、设备的建设单位)执行1.对报来的建筑材料的质量资料进行审核,对材料实物进行检查鉴定(需要时);2.会同建设、承包、设计(必要时)对建筑构配件、设备、简化字材料(必要时)制造厂家进行考察认定;3.对产品是否影响结构安全、耐久性、使用功能、观感效果,以及是否符合设计要求及违反现行法令、法规的规定,进行严格的控制。由项目监理机构执行监理工程师同意使用,签认“工程材料/构配件/设备报审表”监理工程师不同意使用,签复“工程材料/构配件/设备报审表”1.对到场的建筑材料、构配件进行检查核对,并按有关规定进行平行检验,监理见证取样;2.对到场设备进行开箱检验清点(必要时会同设备安装单位);1.材料、构配件使用于指定部位;2.设备入库,准备移交安装单位。监理工程师检查合格,准予验收监理工程师检查不合格,拒绝验收由项目经理部清除出...

1、当您付费下载文档后,您只拥有了使用权限,并不意味着购买了版权,文档只能用于自身使用,不得用于其他商业用途(如 [转卖]进行直接盈利或[编辑后售卖]进行间接盈利)。
2、本站所有内容均由合作方或网友上传,本站不对文档的完整性、权威性及其观点立场正确性做任何保证或承诺!文档内容仅供研究参考,付费前请自行鉴别。
3、如文档内容存在违规,或者侵犯商业秘密、侵犯著作权等,请点击“违规举报”。

碎片内容

(整理)多层框架结构商业楼监理细则

您可能关注的文档

确认删除?
VIP
微信客服
  • 扫码咨询
会员Q群
  • 会员专属群点击这里加入QQ群
客服邮箱
回到顶部