电脑桌面
添加小米粒文库到电脑桌面
安装后可以在桌面快捷访问

(史上最全)建设工程全流程VIP免费

(史上最全)建设工程全流程_第1页
1/27
(史上最全)建设工程全流程_第2页
2/27
(史上最全)建设工程全流程_第3页
3/27
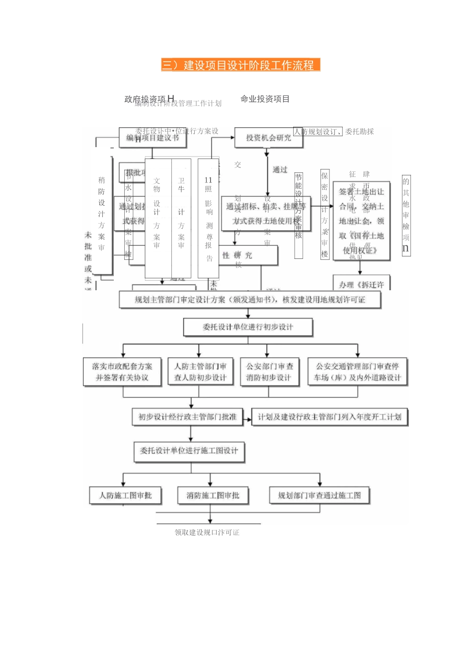
投资决策阶工程设计阶采购与施匚阶交付使用阶一、工程建设项目前期工作流程—)基本流程竣工验收竣工结算与竣工决算项目后评价]二)建设项目投资决策流程政府投资项H命业投资项目三)建设项目设计阶段工作流程編制设计阶段管理工作计划委托设讣中•位进行方案设H人防规划设订、委托勘採稍防设汁方案审节水设计方案审檢文卫11物牛照设影计计响方方测案案尊审审报吿交划歧计方审核设计方案审节能设计方案审核保密设计方案审楼征肆求帀水政电部燃门气的供愚热见的其他审檢项n领取建设规口汴可证四)建设项目准备阶段工作流程编制建设准备阶段皆理丁作讣测到开户行办理瓷金址期落实施工现场“三通…T"委托招标代理机构代理招标选定承毡单位,选定设备、材料供应卑位「选定监理单位「签署粟购合同签署委托监理合同二)招投标基本流程三)合同签订流程合同签订项目合同、信息管理部门备案四)施工准备流程制定工程项目管理计划表落实:三通一平^和大型临时工程设施计划和实施方案办理相关手续片交接组织设备和材料招标工作确定设备和主要材料供应商审核图纸,编制施工技术组织扌昔施,编制施丁图预算落实年度资金使用情况及贷款计划1r采取招标形式确定工程参建单位1r施工技术准备1!发布工程开工令五)项目风险管理流程I•消檢僅留•非保险转移•回避风险•积极保留•保险转移•减小风险六)项目信息管理流程I要求承建®位限期完威七)竣工验收流程丄丄不予验收要求相关单玖工程鏗设项E[有关舒内业费料的审核规划、人防、消肪、坏上匕保、环境工程克成情况们术兀片于收期牛脸限位完善合格立成完成I向谨设单位进仃工程移交编制竣工验收计不合搭三、工程项目监理工作基本流程一)工程项目实施监理的总流程协M述计单位殂纠护柿;,评抽、忧选中柿单位,签订施工合遣认定」普坝慣农进麼樓宦、总签T-起变更文件制林时拡充证协调衣詰注方Z间的关系二)施工准备阶段监理工作流程三)施工阶段投资控制流程四)施工阶段工程进度控制流程填很丁程抿检单不合格占合格」监理匚程师现场检査投中介试验报郴附:L隐检单氛预检单氛质量保证资料K分项工程质虽评宦表五)施工阶段工程质量控制流程>分部、分项工程施工冃r―施工试验及监理取样~零J不合格改各分项、隐蔽匸程自检I签发工程报验单股其附件修下一道丄怦施工六)施工阶段安全监理控制流程律工内外迪霖七)合同管理控制流程I八)信息管理控制流程I做好工用竣工移交「•作项目经理部九)组织协调控制流程I提出竣]「验收姿求;1、组织各专哑诳行竣工自检合格(土遂、农、电、暧、通■,装饰、电梯、资料、档案等h2、各项施工资料已根拯有关规定:齐全合格;氛竣工档案完成.基本符合城鯉档案管理部门的些求:L填报“丄.程竣工报验单”〔A10)-卓包单位项冃经理部纽织各专业监理工程师市核竣工资料井现场捡査工程完成怙况及工程质吊〉进行内部验收*所隔监理单位有关人员参办h发现问題要求憑包单位整改“总监璋工視师V1、组织建设、设计、承包单位进行竣工验收,对发现的工程缺陷通知承包单位整改:2>对竣工资料审核中发规的问题逋知承包单位修正.并裁批表(A10)o总监理工程师rr1、承包单也整改后.填写A10表再次要求验收t2、总监理工程师组织监理耍员检密,认为合格可以进彳丁正式验收;3、总监理工程师签复表3灿“总监理工程怖组织承包r设计、监理单位有关人员及领导人员,邀请存1:级主管部门人员进行正式验收;验收合格备方祈“竣丁验收证书”卜.签字;验收屮出现的问题承包单位限期整改合格。建设〔顼目行理)单位k监督质包单位按期交出合格的竣【[档案;2.监督竣工结算工作;氛工程进入质員保修期。项目监理机构项目经理十)工程质量问题及事故处理流程I发主•般轻微质虽问题可口头通知监郎工程师’发供质呈加故后应以快通知监理、建设(项冃符理)单位’井根据泵故的性质与邓處稈序报告相关部门。承包单位项目经理部童大质皐事故X在规定时限内向项目监理机构提出书而报告;狄根据事故性质吗严旋程序迪知相关部门.组织建设(项目辔理『慎位及所屈监理敞位领导、设计草位瑕相关部门炖爭故现场进行调研.查明书故氐因,人员及财产损失悄况°总监理丄...

1、当您付费下载文档后,您只拥有了使用权限,并不意味着购买了版权,文档只能用于自身使用,不得用于其他商业用途(如 [转卖]进行直接盈利或[编辑后售卖]进行间接盈利)。
2、本站所有内容均由合作方或网友上传,本站不对文档的完整性、权威性及其观点立场正确性做任何保证或承诺!文档内容仅供研究参考,付费前请自行鉴别。
3、如文档内容存在违规,或者侵犯商业秘密、侵犯著作权等,请点击“违规举报”。

碎片内容

(史上最全)建设工程全流程

确认删除?
VIP
微信客服
  • 扫码咨询
会员Q群
  • 会员专属群点击这里加入QQ群
客服邮箱
回到顶部