电脑桌面
添加小米粒文库到电脑桌面
安装后可以在桌面快捷访问

急诊服务流程及规范VIP免费

急诊服务流程及规范_第1页
1/16
急诊服务流程及规范_第2页
2/16
急诊服务流程及规范_第3页
3/16
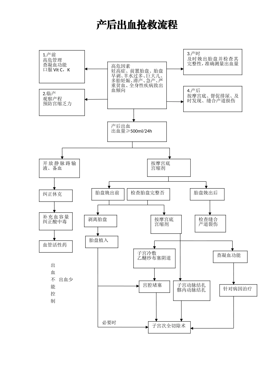
羊水栓塞抢救流程图解除肺动脉高压抗心衰、心肌营养DROP-CHHEBS九项措施D:多巴胺R:酚妥拉明O:给氧P:罂粟碱C:西地兰H:激素要时HE:肝素B:输血S:碳酸氢钠加压给养罂粟碱30~90mg阿托品1~2mg氨茶碱250~500mg西地兰0.4mgATP、COA细胞色素C胎儿娩出前肺动脉高压心衰、肺衰CNS严重缺氧抗过敏氢可300~400mg地塞米松20~40mg胎儿娩出后产后产后出血休克补充血容量输液、输血多巴胺20~80mg阿拉明20~80mg酚妥拉明20~40mg6-氨基己酸5g止血环酸30mg止血芳酸20~80mg肝素50mg潘生丁200~400mg阿司匹林0.75mg右旅糖苷补充凝血因子输新鲜血舒纤维蛋白VItK20~40mg肾衰抑制宫缩剖宫产助产、缩短第二产程禁用宫缩剂DIC高凝阶段消耗性低凝期纤溶阶段速尿40mg利尿酸50~100mg甘露醇25ml广谱抗生素(首选头孢族)第二产程去除病因第一产程检查、修补产道损伤、剥离胎盘子宫切除术产后出血抢救流程出血不出血少能控制必要时高危因素妊高症、前置胎盘、胎盘早剥、羊水过多、巨大儿、多胎妊娠、滞产、急产、严重贫血、全身性疾病致出血倾向1.产前高危管理查凝血功能口服VitC,K2.临产观察产程预防宫缩乏力3.产时及时娩出胎盘并检查其完整性,准确测量出血量4.产后按摩宫底、督促排尿、及时发现、缝合产道损伤产后出血出血量≥500ml/24h开放静脉路输液、备血按摩宫底宫缩剂纠正休克胎盘娩出前检查胎盘完整否胎盘娩出后补充血容量纠正酸中毒剥离胎盘按摩宫底宫缩剂检查缝合产道裂伤血管活性药胎盘植入子宫动脉结扎髂内动脉结扎查凝血功能宫腔堵塞针对病因治疗子宫次全切除术子宫冷敷乙醚纱布塞阴道子痫抢救流程子痫了解病史记录生命征导尿记尿量一般处理平卧、侧头、置开口器、避光、声刺激、清理呼吸道、给氧3.扩容白蛋白、血低右开放静脉路1.控制抽搐冬眠一号半量安定、鲁米那纳2.解痉硫酸镁5g,冲击20g,维持降压肼苯哒嗪12.5~25mg酚妥拉明20~40mg预防感染,首选青霉素或头孢类血生化监测产科处理纠正酸中毒及水电解质紊乱处理并发症临产未临产缩短第二产程剖宫产利尿剂强心剂脑水肿脑疝颅内出血脑部低温止血剂快速脱水甘露醇、速尿肾衰心衰血压未控制短期内不能分娩抽搐控制2~8小时新生儿窒息复苏流程出生快速评估是A30秒否有呼吸心率>100且肤色粉红呼吸暂停心率<100通气B30秒心率>100且肤色粉红C30秒心率<60心率>60D*在这些步骤中可以考虑气管插管●羊水清?●有呼吸或哭声?●肌张力好?●肤色红润?●足月妊娠?●保持体温●摆正体位:清洁气道*(必要时)●擦干全身,给予刺激,重新摆正体位●给氧(必要时)常规护理:●保暖清理呼吸道●保暖评估呼吸,心率和肤色进行正压人工呼吸*支持护理持续护理使用肾上腺素从新检查以下步骤的有效性:●人工呼吸●胸外按压●气管插管●注入肾上腺素考虑是否可能有以下症状:●低血容量●严重代谢性酸中毒考虑:●气道畸形肺部问题,如:●气胸●膈疝●先天性心脏病(A)气道●气管吸引——如胎粪污染且新生儿无活力(B)呼吸●100%纯氧正压通气(PPV),每分钟呼吸40~60次●观察胸部起伏(C)循环●90次/分胸外按压伴随每分钟30次呼吸<3次按压:每2秒一次呼吸●按压深度为前后胸直径的1/3(D)用药心率<60或持续紫绀或人工呼吸无效产科急重症急诊处理流程急诊患者就诊询问病史,详细准确记录观察生命体征积极抢救失血性休克:快速输液,先晶后胶胎心、胎监,必要时肛查或者妇科检查相应的实验室检查妊娠期高血压妊娠期腹痛妊娠期阴道出血妊娠期肝病产后出血血、尿常规,凝血功能,DIC筛查,输血免疫全套,血型,肝、肾功能,电解质,Mg2+,B超(产科、肝、肾、胸腹水),心电图血、尿常规,凝血功能,B超(产科,相应的部位如阑尾、胆囊)血、尿常规,凝血功能,DIC筛查,输血免疫全套,血型,B超血、尿常规,凝血功能,DIC筛查,输血免疫全套,血型,肝、肾功能,血尿酸,B超血、尿常规,凝血功能,DIC筛查,输血免疫全套,血型,肝、肾功能,B超初步诊断,必要时汇报上级医师,请相关科室会诊后,转入住院部进一步诊治妊娠各时期出血原因先兆流产、难免流产、过期流产宫外孕、切口妊娠等滋养层细胞肿瘤宫颈糜烂、息肉凝血功能异常、类血友病等先兆流产前置胎...

1、当您付费下载文档后,您只拥有了使用权限,并不意味着购买了版权,文档只能用于自身使用,不得用于其他商业用途(如 [转卖]进行直接盈利或[编辑后售卖]进行间接盈利)。
2、本站所有内容均由合作方或网友上传,本站不对文档的完整性、权威性及其观点立场正确性做任何保证或承诺!文档内容仅供研究参考,付费前请自行鉴别。
3、如文档内容存在违规,或者侵犯商业秘密、侵犯著作权等,请点击“违规举报”。

碎片内容

急诊服务流程及规范

书海行舟+ 关注
实名认证
内容提供者

热爱教学事业,对互联网知识分享很感兴趣

确认删除?
VIP
微信客服
  • 扫码咨询
会员Q群
  • 会员专属群点击这里加入QQ群
客服邮箱
回到顶部