电脑桌面
添加小米粒文库到电脑桌面
安装后可以在桌面快捷访问

铁路执勤岗亭施工方案VIP免费

铁路执勤岗亭施工方案_第1页
1/14
铁路执勤岗亭施工方案_第2页
2/14
铁路执勤岗亭施工方案_第3页
3/14
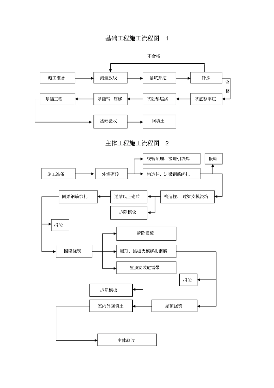
执勤岗亭施工方案一、编制依据《民用建筑设计通则》GB50352-2005《建筑设计防火规范》GB50016-2006《公共建筑节能设计标准》GB50189-2005《建筑内部装修设计防火规范》GB50222-95《屋面工程技术规范》GB50345-2004《建筑工程设计文件编制深度规定》建质(2008)216号《建筑物防雷设施安装》99D501-1《接地装置安装》03D501-4二、工程概况(一)、工程名称:京石、石郑客运专线执勤岗亭(二)、工程简介:单个建筑总面积:3.96m2,建筑基底面积3.96m2。建筑为单层高度3.6m,檐口高度3.0m。室内设计标高±0.000为孔口高程+0.5m,室内外高差150mm。在我部管段岗亭总共8处。(三)、设计概况:建筑结构形式为砖混结构,基础为筏板条形基础。设计使用年限50年:抗震设防烈度6-8度:耐火等级二级:屋面防水等级及设防要求:Ⅲ级,一道设防。土壤最大冻结深度0.8m-0.54m。(四)、工期目标:2012年4月5日开工,2012年5月30日完工验收。(五)、质量目标:工程一次性验收达到国家现行规范要求的合格质量要求。三、施工工艺流程基础工程施工→主体工程施工(砖混结构)→装饰装修。(具体流程见下图)基础工程施工流程图1不合格合格主体工程施工流程图2施工准备测量放线基坑开挖钎探基底整平压基础垫层浇基础钢筋绑基础工程基础验收回填土施工准备外墙砌砖线管预埋、接地引线焊构造柱、过梁钢筋绑扎报验构造柱、过梁支模浇筑过梁以上砌砖拆除模板圈梁钢筋绑扎报验圈梁浇筑屋顶、挑檐支模绑扎钢筋屋顶安装避雷带拆除模板屋顶浇筑室内外回填土报验拆除模板主体验收装饰装修工程施工流程图3四、施工技术方案(一)、基础施工技术方案1、测量放线根据设计单位和铁路公安指定的地点用白灰撒出基坑开挖的轮廓线3200mm×3200mm,用水准仪抄测出室内±0.000点,再抄测出基坑开挖深度。施工准备基层处理找规矩、基准线外墙找平层屋面找平层内墙找平层外墙保温屋面防水内墙抹灰外墙饰面屋面保温内墙饰面门窗安装器具安装油漆饰面工程工程验收室内地面工程室外地面工程屋顶铺瓦2、基坑开挖各工点基础施工前,须将素填土、杂填土全部清除。(1)、在天然地基承载力特征值fɑk≥100kpa的工点,直接将筏板基础置于天然地基上。(2)、在天然地基承载力特征值fɑk<100kpa的工点,基础下换填砂夹石至承载力特征值100kpa以上的持力层,压实系数≥0.96,要求分层夯实,换填后地基承载力特征值fɑk≥100kpa。3、钎探基坑开挖完毕后应进行钎探,并记录其钎探数据,钎探完毕后应会同勘察、建设、监理、施工等相关单位共同验收,合格后方可进行下一道工序,如果发生与地质资料不符,应及时通知设计单位修改设计。4、垫层混凝土浇筑垫层为C10素混凝土,厚度100mm,尺寸为2830mm×2950mm。5、基础钢筋绑扎基础钢筋型号为HRB400、HPB300,钢筋笼可以提前绑扎再运到施工现场放入基坑中,也可以在现场进行绑扎,基础钢筋严格按照图纸进行绑扎,完毕后由现场技术员和监理验收。6、基础混凝土浇筑基础混凝土为C30,基础高为300mm,尺寸为2630mm×2750mm,保护层厚度为40mm。(二)主体及内外部装修施工技术方案1、墙体工程1.1、墙体±0.000以上外墙采用烧结KP1页岩多孔砖,外墙厚度为240mm;外墙保温采用粘贴并卡托50mm厚岩棉复合保温板外墙保温,岩棉板密度≥150kg/m3,导热系数≤0.044W/(M.k),抗压强度10%收缩量≥40kn/m2,质量吸湿率≤1.0%,燃烧性能为不然型A级。本做法的其他要求详见10BJ2-11《建筑外保温(防火)》。±0.000以下墙体采用M7.5水泥砂浆烧结KP1页岩多孔砖240厚,细石混泥土灌实。1.2墙身防潮层在室内地坪下0.06m处做20厚1:2水泥砂浆内加3~5%防水剂。1.3墙体留洞砌体承重墙预留洞,见建筑和设备专业图纸。1.4施工中注意事项(1)基础施工时房心土、还槽土除注明者外均用原槽土或黏土回填分层夯实,对其中掺杂的垃圾、草根、杂物应清除干净。(2)墙体上的预埋件及孔洞应在砌筑时预埋和预留,不得后剔凿,门窗固定方法由厂家提供。门窗框四周用防水砂浆灌缝,门窗框与外粉刷之间设缝,硅胶嵌缝。(3)内外窗台、散水做到内高外底,女儿墙、地面处做到外高内低,做到不集水,杜绝倒水现象,女儿墙面必须...

1、当您付费下载文档后,您只拥有了使用权限,并不意味着购买了版权,文档只能用于自身使用,不得用于其他商业用途(如 [转卖]进行直接盈利或[编辑后售卖]进行间接盈利)。
2、本站所有内容均由合作方或网友上传,本站不对文档的完整性、权威性及其观点立场正确性做任何保证或承诺!文档内容仅供研究参考,付费前请自行鉴别。
3、如文档内容存在违规,或者侵犯商业秘密、侵犯著作权等,请点击“违规举报”。

碎片内容

铁路执勤岗亭施工方案

您可能关注的文档

确认删除?
VIP
微信客服
  • 扫码咨询
会员Q群
  • 会员专属群点击这里加入QQ群
客服邮箱
回到顶部