电脑桌面
添加小米粒文库到电脑桌面
安装后可以在桌面快捷访问

两个单片机之间的串行通信VIP免费

两个单片机之间的串行通信_第1页
1/6
两个单片机之间的串行通信_第2页
2/6
两个单片机之间的串行通信_第3页
3/6
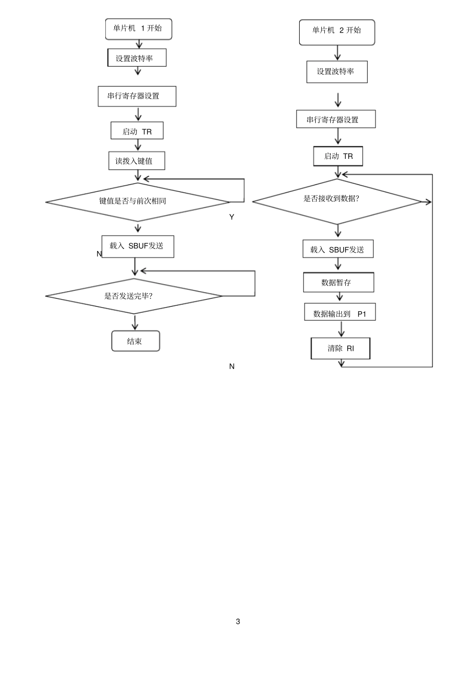
1两个单片机之间的串行通信一、设计要求在某个控制系统中有U1、U2这两个单片机,U1单片机首先将P1端口指拨开关数据载入SBUF,然后经由TXD将数据传送给U2单片机,U2单片机将接收数据存入SBUF,再由SBUF载入累加器,并输出至P1端口,点亮相应端口的LED。二、实验所需元器件单片机AT89C51瓷片电容CAP-22pF晶振CRYSTAL电解电容CAP-ELEC电阻RES按扭BUTTON发光二极管LED-YELLOW发光二极管LED-RED开关SWITCH拨码开关DIPSW-S发光二极管LED-GREEN发光二极管LED-RED三、电路原理图:2两个单片机之间的串行通信电路图四、程序设计这两个单片机均工作在半工状态,U1将P1端口的状态通过TXD发半空给U2,而U2接收U1的数据,然后控制P1端口的LED显示。因此,需编写两个不同的程序,其程序流程图如下所示:3YNN单片机1开始设置波特率串行寄存器设置启动TR读拨入键值载入SBUF发送键值是否与前次相同单片机2开始串行寄存器设置清除RI启动TR载入SBUF发送数据暂存数据输出到P1结束设置波特率是否接收到数据?是否发送完毕?4五、C语言程序:U1的C语言程序:#include"reg51.h"#defineuintunsignedint#defineucharunsignedcharvoidsend(ucharstate){SBUF=state;while(TI==0);TI=0;}voidSCON_init(void){SCON=0x50;TMOD=0x20;PCON=0x00;TH1=0xfd;TL1=0xfd;TI=0;TR1=1;ES=1;}voidmain(){P1=0xff;SCON_init();while(1){send(P1);}}U2的C语言程序:#include"reg51.h"#defineuintunsignedint#defineucharunsignedcharucharstate;voidreceive(){while(RI==0)state=SBUF;5RI=0;}voidSCON_init(void){SCON=0x50;TMOD=0x20;PCON=0x00;TH1=0xfd;TL1=0xfd;RI=0;TR1=1;}voidmain(){SCON_init();while(1){receive();P1=state;}}六、调试与仿真:6

1、当您付费下载文档后,您只拥有了使用权限,并不意味着购买了版权,文档只能用于自身使用,不得用于其他商业用途(如 [转卖]进行直接盈利或[编辑后售卖]进行间接盈利)。
2、本站所有内容均由合作方或网友上传,本站不对文档的完整性、权威性及其观点立场正确性做任何保证或承诺!文档内容仅供研究参考,付费前请自行鉴别。
3、如文档内容存在违规,或者侵犯商业秘密、侵犯著作权等,请点击“违规举报”。

碎片内容

两个单片机之间的串行通信

您可能关注的文档

爱的疯狂+ 关注
实名认证
内容提供者

该用户很懒,什么也没介绍

确认删除?
VIP
微信客服
  • 扫码咨询
会员Q群
  • 会员专属群点击这里加入QQ群
客服邮箱
回到顶部