电脑桌面
添加小米粒文库到电脑桌面
安装后可以在桌面快捷访问

人力资源管理六大模块操作流程VIP专享VIP免费

人力资源管理六大模块操作流程_第1页
1/17
人力资源管理六大模块操作流程_第2页
2/17
人力资源管理六大模块操作流程_第3页
3/17
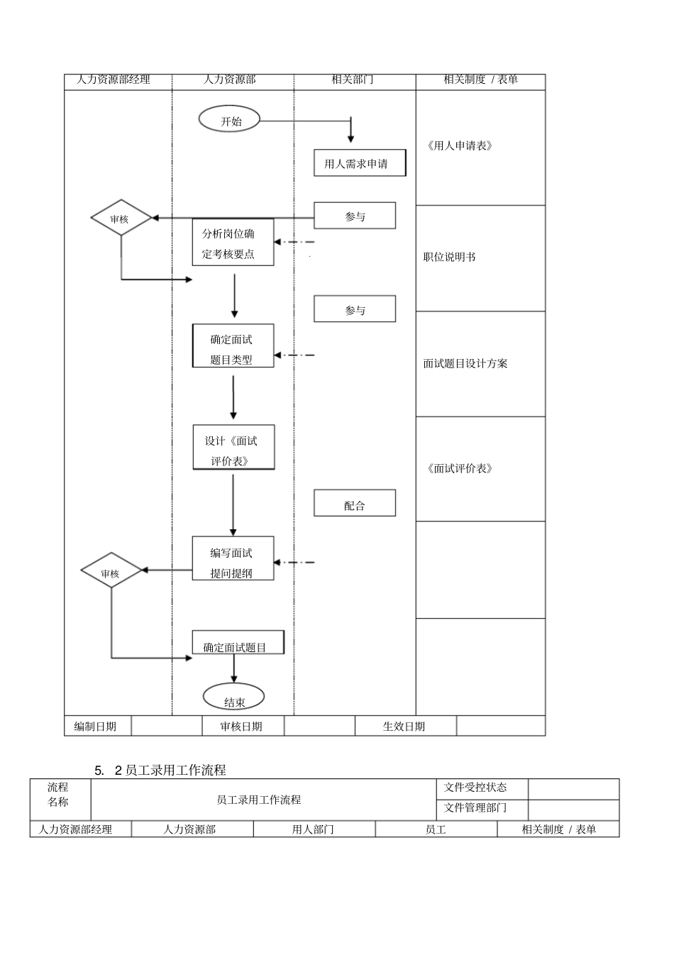
1面试与录用工作文案1.1面试分工计划面试分工计划一、目的为了明确面试过程中各项工作的责任,提高面试质量,保证人才选拔顺利完成,特制订本计划。二、面试人员组成面试工作由人力资源部负责组织实施,其面试小组的人员构成如表5-1所示。表5-1面试人员组成一览表面试人员相关说明人力资源部人员主要考核应聘人员的综合素质,如言谈举止、应聘人员的求职动机,初步判断是否符合企业要求用人部门人员主要考核应聘人员的专业技术水平和能力企业高层领导参与企业中高层管理人员或核心员工的招聘面试工作外部专家三、面试分工安排根据不同的评估范围,面试人员具有不同的分工责任,本次面试的分工安排如表5-2所示。表5-2面试分工表部门人员工作内容人力资源部人力资源部经理指导、审核面试实施方案,参与应聘人员复试工作招聘专员筛选应聘人员资料,通知人员面试,协助人力资源部经理制订面试实施计划,参与初试用人部门参与面试试题的设计工作,参与复试,对应聘人员面试表现进行评估高层领导、专家顾问对应聘中高层或核心职位的人员进行复试,并做出录用决策四、面试问题提纲设计面试工作实施前设计一系列相关的面试问题,有助于增强面试的效果,表5-3给出了部分面试试题。表5-3面试试题考核项目考核要点示例问题工作经历不应局限于单纯的工作简介,应深入到员工的责任感、业绩等方面进行考核以前的工作单位,担任的职务,负责哪些工作工作能力1.工作经历不等于工作能力2.主要工作任务和职责及取得了哪些工作成绩1.工作中遇到过哪些问题,是怎么解决的2.要想在这一领域获得成功,你认为必须具备哪些品质和能力求职动机1.变换工作的原因2.未来追求与愿景1.你为何希望加入我们公司2.你未来三年的职业规划知识和专长综合素质与专业知识技能1.专业术语解释2.相关知识问题解答工作态度对应聘职位的看法、工作责任心、主动性等方面1.你对应聘的职位有什么看法2.当你在工作中遇到与上级意见不一致时怎么办兴趣和爱好个性特征平时都喜欢一些什么活动,有哪些个人爱好1.2面试工作总结面试工作总结为了满足企业发展的用人需要,根据事先制订的招聘计划,人力资源部于××月××日到××月××日开展了招聘面试工作。本次面试共接待应聘者120名,其中初试合格者70名,复试合格者48名,超出计划招聘人数(45名)3人。一、工作实施说明(一)相关资料的准备1.应聘者资料的准备。人力资源部准备面试需要的各种资料,如应聘者简历、自荐信、应聘者登记表等。2.试题的准备。人力资源部与用人部门共同设计面试试题,并讨论确定面试试题的评价标准。(二)面试职责划分本次面试分工明确,职责清晰。面试分工如下。1.人力资源部负责初试,对应聘者进行基本素质考核。2.用人部门负责复试,考核应聘者的专业知识水平和工作能力等。(三)实施成果本次面试工作与实施状况如表5-4所示。表5-4面试方案计划与实施情况对比表面试阶段考评方法单项考核面试用时面试总时间面试合格人数计划实际计划实际计划实际初试无领导小组讨论60分钟60分钟3天4天60人70人复试结构化面试法20分钟20分钟4天4天45人48人二、面试结果评价(一)面试成功之处1.面试成功方案设计合理,节约了面试时间,提高了面试效率。2.采用了科学的面试考评方法,为应聘者创造了良好的面试氛围,超额完成了招聘任务。(二)面试待改进之处1.面试前做好面试考官的培训工作,由于面试之前没有对应聘者进行结构化面试培训,导致面试过程在出现一次短暂的冷场局面。2.此次面试费用支出超过预算,在下次的人员选拔过程中,事先要进行科学合理的预算并严格控制各项费用的支出。5面试与录用工作流程5.1面试试题设计流程流程名称面试试题设计流程文件受控状态文件管理部门人力资源部经理人力资源部相关部门相关制度/表单《用人申请表》职位说明书面试题目设计方案《面试评价表》编制日期审核日期生效日期5.2员工录用工作流程流程名称员工录用工作流程文件受控状态文件管理部门人力资源部经理人力资源部用人部门员工相关制度/表单审核设计《面试评价表》结束开始用人需求申请分析岗位确定考核要点参与确定面试题目类型确定面试题目...

1、当您付费下载文档后,您只拥有了使用权限,并不意味着购买了版权,文档只能用于自身使用,不得用于其他商业用途(如 [转卖]进行直接盈利或[编辑后售卖]进行间接盈利)。
2、本站所有内容均由合作方或网友上传,本站不对文档的完整性、权威性及其观点立场正确性做任何保证或承诺!文档内容仅供研究参考,付费前请自行鉴别。
3、如文档内容存在违规,或者侵犯商业秘密、侵犯著作权等,请点击“违规举报”。

碎片内容

人力资源管理六大模块操作流程

确认删除?
VIP
微信客服
  • 扫码咨询
会员Q群
  • 会员专属群点击这里加入QQ群
客服邮箱
回到顶部