电脑桌面
添加小米粒文库到电脑桌面
安装后可以在桌面快捷访问

企业能效分析报告提纲完整版VIP免费

企业能效分析报告提纲完整版_第1页
1/10
企业能效分析报告提纲完整版_第2页
2/10
企业能效分析报告提纲完整版_第3页
3/10
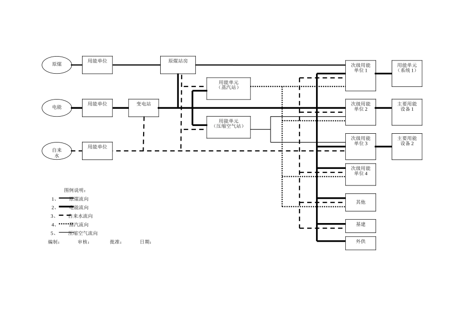
企业能效分析报告提纲一、自查依据二、自查内容及分工三、自查汇总(一)企业基本情况。1、企业概况。名称、性质、地址、邮编、法人代表、项目联系人及联系方式,企业运营总体情况。2、企业能源管理概况。企业能源管理现状,介绍企业能效对标工作情况;企业能源管理机构及制度,介绍工作机制的建立、节能管理体系的建立、能源统计和计量体系的建立、节能措施落实和执行情况等。3、企业主要生产工艺概况。工业流程图,工艺流程说明,工艺能源消耗情况。(二)能源消耗及能效分析1、企业能源消费种类、来源及消费量分析。……表1能源消费结构能源名称计量单位实物量参考折标系数实测折标系数折标准煤量(吨标煤)原煤吨0.7143吨标准煤/吨电力万千瓦时1.229吨标准煤/万千瓦时柴油吨1.4571吨标准煤/吨汽油吨1.4714吨标准煤/吨…综合能源消费合计(综合能耗)tce新水立方米/2、主要工序的能源利用状况分析……表2主要工序能源消费结构主要工序能源名称计量单位实物量参考折标系数实测折标系数折标准煤量(吨标煤)原煤吨0.7143吨标准煤/吨电力万千瓦时1.229吨标准煤/万千瓦时柴油吨1.4571吨标准煤/吨汽油吨1.4714吨标准煤/吨…综合能源消费合计(综合能耗)tce新水立方米/3、年度能效指标完成情况年度综合煤耗(kgce/t)综合电耗(kWh/t)余热发电量(kWh/t)2013年2014年增减(±%)4、能效水平分析。单位产品(产值)综合能耗、可比能耗、主要工序(工艺)单耗的分析计算,单位产品综合能耗和主要工序(工艺)单耗指标与国内外先进水平对比分析等。5、能源流向图参照JJF1356—2012《重点用能单位能源计量审查规范》图B.1重点用能单位能源流向图(参考件)项目企业值国家/行业限额值国家/行业先进值达标情况单位产品能耗主要工序(工艺)单耗余热发电量图例说明:1、原煤流向2、电能流向3、自来水流向4、蒸汽流向5、压缩空气流向编制:审核:批准:日期:自来水电能原煤变电站原煤站房用能单元(蒸汽站)用能单元(压缩空气站)次级用能单位1次级用能单位2次级用能单位4次级用能单位3基建其他外供主要用能设备1主要用能设备2用能单元(系统1)用能单位用能单位用能单位(三)用能单位能源计量器具配备情况1、用能单位能源计量器具分级、分类配备率结果能源名称能源计量分级、分类进出用能单位进出主要次级用能单位主要用能设备应配数量(台)实配数(台)要求配备率%实际配备率%结论应配数量(台)实配数(台)要求配备率%实际配备率%结论应配数量(台)实配数(台)要求配备率%实际配备率%结论原煤电力柴油汽油…新水合计2、用能单位能源计量器具配备情况自查表分级序号计量器具名称型号规格准确度等级测量范围生产厂家出厂编号用能单位管理编号安装使用地点检定周期/校准间隔状态(合格/准用/停用)是否有通讯接口或已在线采集准确度等级要求评定结论备注(电能用户级别/水表管径/对应的主要耗能设备)进出用能单位123…进出主要次级用能单位123…主要用能设备123…3、能源计量器具配备及计量采集点情况(能源计量网络图)参照JJF1356—2012《重点用能单位能源计量审查规范》图B.2能源计量器具配备及计量采集点网络图(参考件)(蒸汽)图B.2能源计量器具配备及计量采集点网络图(参考件)(蒸汽)图例说明:1、虚线图为未配置的计量器具2、L为流量类计量器具的类别代号编制:审核:批准:日期:代号器具名称型号规格安置地点L1-1L2-1L2-2L2-3L3-1L3-2L3-3用能单位次级用能单位1次级用能单位3L2-11.0级L2-21.0级L2-31.0级用能单元1主要用能设备2L3-11.0级L3-31.0级供汽单位L1-10.5级次级用能单位2L3-21.0级主要用能设备14、能源计量工作人员配备和培训一览表序号人员姓名工作部门岗位及职务技术职称岗位培训考核情况岗位资格证号备注123…四、自查结论(一)存在的主要问题(找出能效对标活动中存在的问题及原因)(二)改进建议(拟定下一年度的工作计划及拟采取的主要节能措施。)附件1:《能效对标活动综合评价考核表》附件2:《企业自查依据的主要相关国家/地方标准》附件1:能效对标活动综合评价考核表类别考核项目总分值考核内容分值标准评分标准考核分数主要考核指标(50)主要...

1、当您付费下载文档后,您只拥有了使用权限,并不意味着购买了版权,文档只能用于自身使用,不得用于其他商业用途(如 [转卖]进行直接盈利或[编辑后售卖]进行间接盈利)。
2、本站所有内容均由合作方或网友上传,本站不对文档的完整性、权威性及其观点立场正确性做任何保证或承诺!文档内容仅供研究参考,付费前请自行鉴别。
3、如文档内容存在违规,或者侵犯商业秘密、侵犯著作权等,请点击“违规举报”。

碎片内容

企业能效分析报告提纲完整版

您可能关注的文档

文章天下+ 关注
实名认证
内容提供者

各种文档应有尽有

确认删除?
VIP
微信客服
  • 扫码咨询
会员Q群
  • 会员专属群点击这里加入QQ群
客服邮箱
回到顶部