电脑桌面
添加小米粒文库到电脑桌面
安装后可以在桌面快捷访问

第七章 全国数控大赛数控铣加工中心图库VIP免费

第七章 全国数控大赛数控铣加工中心图库_第1页
1/54
第七章 全国数控大赛数控铣加工中心图库_第2页
2/54
第七章 全国数控大赛数控铣加工中心图库_第3页
3/54
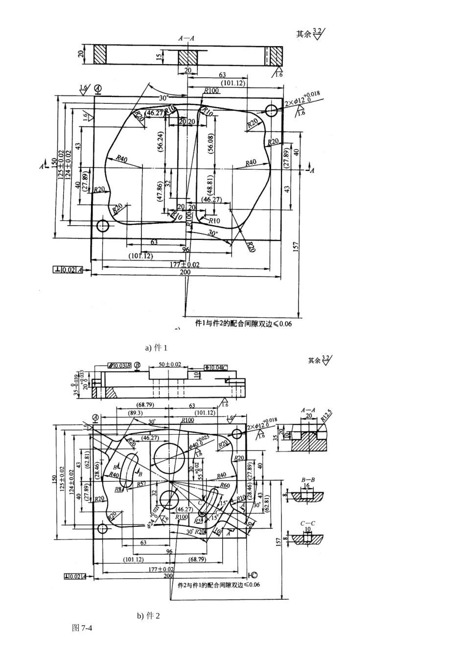
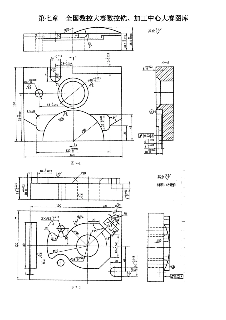
第七章 全国数控大赛数控铣、加工中心大赛图库图 7-1图 7-2 a) 件 1b) 件 2 图 7-3a) 件 1b) 件 2 图 7-4图 7-5图 7-6图 7-7图 7-8图 7-9图 7-10a) 件 1 b) 件 2图 7-11图 7-12a) 件 1 b) 件 2图 7-13a) 件 1 b) 件 2图 7-14图 7-15图 7-16图 7-17图 7-18图 7-19图 7-20图 7-21图 7-22图 7-23图 7-24图 7-25图 7-26图 7-27图 7-28图 7-29图 7-30图 7-31图 7-32图 7-33图 7-34图 7-35图 7-36图 7-37图 7-38图 7-39图 7-40图 7-41图 7-42图 7-43图 7-44图 7-45图 7-46图 7-47图 7-48图 7-49图 7-50图 7-51图 7-52图 7-53图 7-54图 7-55图 7-56图 7-57图 7-58图 7-59图 7-60图 7-61图 7-61图 7-62

1、当您付费下载文档后,您只拥有了使用权限,并不意味着购买了版权,文档只能用于自身使用,不得用于其他商业用途(如 [转卖]进行直接盈利或[编辑后售卖]进行间接盈利)。
2、本站所有内容均由合作方或网友上传,本站不对文档的完整性、权威性及其观点立场正确性做任何保证或承诺!文档内容仅供研究参考,付费前请自行鉴别。
3、如文档内容存在违规,或者侵犯商业秘密、侵犯著作权等,请点击“违规举报”。

碎片内容

第七章 全国数控大赛数控铣加工中心图库

确认删除?
VIP
微信客服
  • 扫码咨询
会员Q群
  • 会员专属群点击这里加入QQ群
客服邮箱
回到顶部