电脑桌面
添加小米粒文库到电脑桌面
安装后可以在桌面快捷访问

机械制造练习题VIP免费

机械制造练习题_第1页
1/19
机械制造练习题_第2页
2/19
机械制造练习题_第3页
3/19
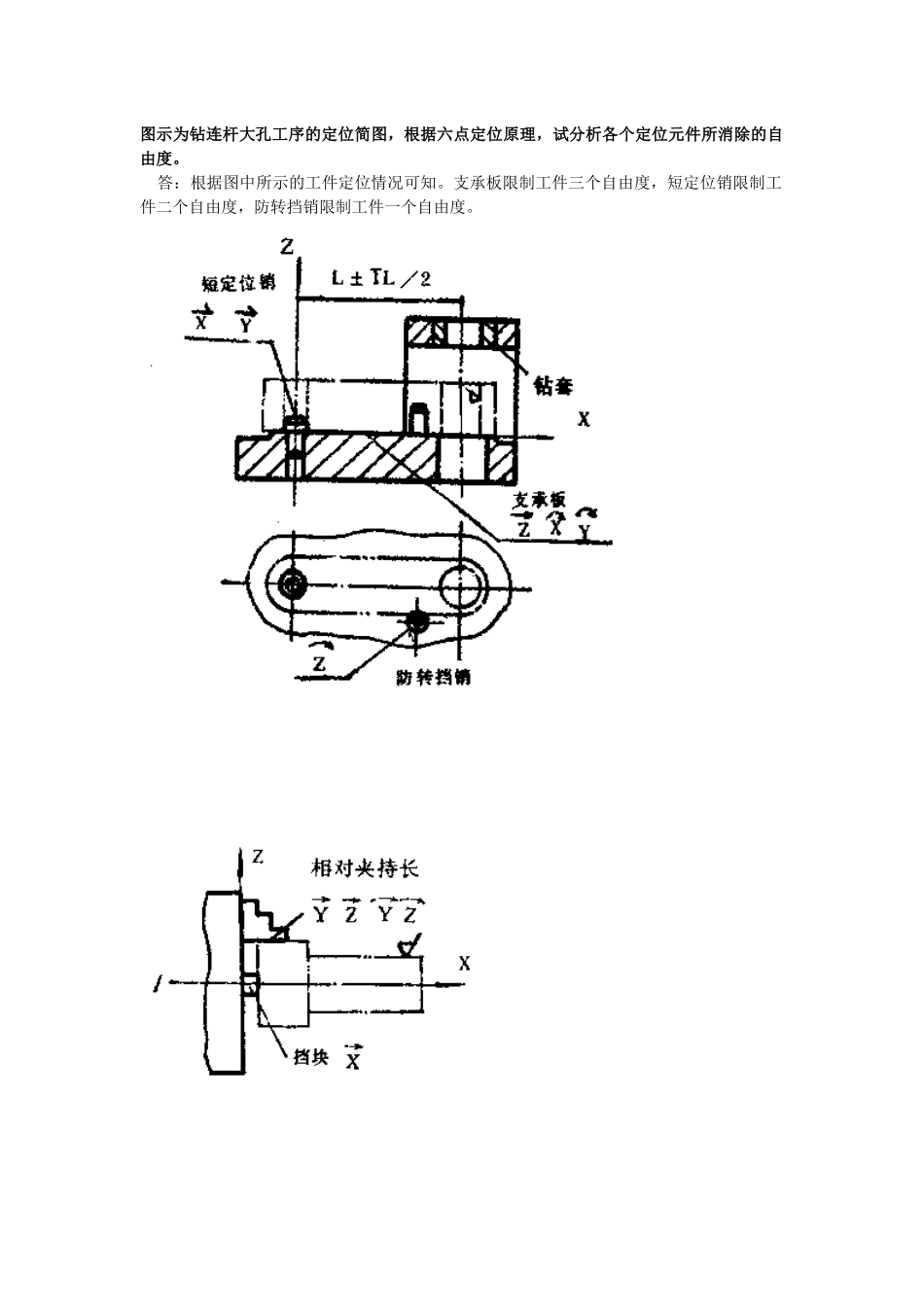
经济精度的含义是什么?它在工艺规程设计中起什么作用?答:经济精度是指在正常的机床、刀具、工人等工作条件下,以合适的工时消耗所能达到的加工精度。因此,在经济精度的范围内,加工精度和加工成本是互相适应的。各种加工方法所能达到的经济精度及表面粗糙度是拟定零件工艺路线的基础,用以从中选择最合适的加工方法和加工设备。工件装夹在夹具中,凡是有六个定位支承点,即为完全定位,凡是超过六个定位支承点就是过定位,不超过六个定位支承点,就不会出现过定位。这种说法对吗?为什么?答:凡是有六个定位支承点即为完全定位。对于这句话是否正确要作具体分析。完全定位是指消除了工件中的全部六个自由度。因此有了六个定位支承点。还心须分析每个定位支承点是否独立消除一个自由度,经分析,工件的六个自由度若没有全部被消除,就不能说完全定位。可能是欠定位或是过定位。凡超过六点就是过定位,这句话是对的。但是否允许,要具体分析。不超过六个定位支承点就不会出现过定位。这句话也要具体分析。经分析若不发生重复限制某一个自由度的现象,这句话就对了。否则就是错的。不完全定位和过定位是否均不允许存在?为什么?答:不完全定位和过定位并不是均不允许存在,要具体问题具体分析。 不完全定位:有些工序中,按照加工要求有时并不要求工件完全定位,而只要求部分定位(即消除部分自由度),这是允许的。如果定位点少于加工要求所应消除的自由度数,因而实际上某些应予消除的自由度没有消除,工件定位不足.这是不允许的,称为欠定位。 过定位:定位点多于应消除的自由度数目。因而实际上有些定位点重复消除了同一个自由度。如果在定位基准的精度和定位件精度(包括位置精度)都很高的情况下。重复消除自由度不影响工件的正确定位,这是允许的。否则过定位将造成下列不良后果: (1)使接触点(定位点)不稳定,增加了同批工件在夹具中位置的不同一性; (2)增加了工件和夹具的夹紧变形; (3)导致了工件不能顺利的与定位件配合。 因而,这种过定位是不允许的。图示为钻连杆大孔工序的定位简图,根据六点定位原理,试分析各个定位元件所消除的自由度。 答:根据图中所示的工件定位情况可知。支承板限制工件三个自由度,短定位销限制工件二个自由度,防转挡销限制工件一个自由度。在组合机床上用调整法精镗一批工件的孔,图纸要求孔的直径为 Φ60 0 +0.1 mm,测得的实际尺寸列表如下:试问:(1)该批工件所能达到的加工精度为多少?能否满足图纸的加...

1、当您付费下载文档后,您只拥有了使用权限,并不意味着购买了版权,文档只能用于自身使用,不得用于其他商业用途(如 [转卖]进行直接盈利或[编辑后售卖]进行间接盈利)。
2、本站所有内容均由合作方或网友上传,本站不对文档的完整性、权威性及其观点立场正确性做任何保证或承诺!文档内容仅供研究参考,付费前请自行鉴别。
3、如文档内容存在违规,或者侵犯商业秘密、侵犯著作权等,请点击“违规举报”。

碎片内容

机械制造练习题

您可能关注的文档

确认删除?
VIP
微信客服
  • 扫码咨询
会员Q群
  • 会员专属群点击这里加入QQ群
客服邮箱
回到顶部